5光线昏暗的环境下阅读或书写,会影响人们的视力,特别是对于正处在长身体时期的青少年危害更大。光线暗提醒器会在光线低于阅读标准时,提醒你及时开灯或停止阅读与书写,以保护视力。

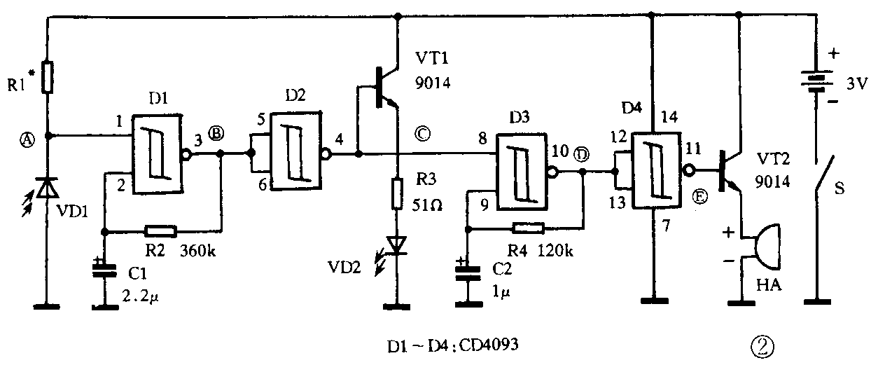
6线暗提醒器电路包括:光电二极管VD1等组成的测光电路;由施密特与非门DI与DZ、D3与D4等分别组成的两级多谐振荡器;晶体管VTI、发光二极管VDZ等组成的发光电路;晶体管VTZ和自带百源讯响器HA等组成的发声电路。

7~D4使用了一块CMOS数字集成电路CD4093,它的内部包含4个具有施密特特性的与非门,其引脚如图(a)所示。VD1是光电二极管,HA是3V自带音源讯响器,分别见图(b)、图(c)。电源采用2节7号电池。

8路工作原理是(参见图2):当光线较强时,VD1趋于导通,A点为低电平,使D1、D3停振,无声无光。当光线昏暗时,VD1趋于截止,A点为高电平,D1起振,输出脉宽1s、间隔1s的方波,经D2倒相后使VD2闪烁发光;同时控制D3间歇起振,振荡频率约3Hz,振荡间隔约1s,使HA间歇性断续发声,声、光同时提醒你光线不足。各点波形如图示。

9先制作印制电路板。截取一块的单面敷铜板,按图描画好线路后用刀刻法制成电路板。在安装电池卡子的地方钻4个直径2mm的小孔。

次制作电池卡子。用弹性铜片按图示尺寸剪制成型,其中图(a)形状的2片,分别为了极卡子和负极卡子:图(b)形状的1片为连接卡子。在图中左侧画实线小圆圈外钻出直径2mm的安装孔。

13片电池卡子分别放在橡皮垫上,在图中右侧画虚线圆圈处放一颗钢珠,用铁锤敲击钢珠,见图(a),使电池卡子上形成一个凹坑。注意:连接卡子上,上面一个虚线圆圈处是向下的凹抗,下面一个虚线圆圈处则是向上的凸起(将连接卡子反过来敲击即可),见图(b)。

2图(a)所示,将3片电池卡子的右半部分沿虚线向上折弯90°,分别制成正极卡子(图b)、负极卡子(图c)和连接卡子(图d)。

33片电池卡子按图示位置,用直径2mm的铜铆钉铆固在印制电路板的铜箔面上。正极卡子、负极卡子应分别与其下面的铜箔焊牢。

4三步安装元器件。各元器件在印制电路板上的位置如图示。各元器件直接搭焊在印制电路板的铜箔面上。

5成电路CD4093的两列引脚需按图(a)所示向外折弯,成为图(b)形状,以便于焊牢在印制电路板上,如图(c)所示。

6电二极管VD1、发光二极管VD2的安装高度(指元器件顶端距印制电路板表面的距离)为21mm;电源开关S的安装高度为24mm;其余元器件的安装高度不得超过18mm。

四步调试,主要是调试电路的灵敏度。用一个510kΩ的电位器串接一个10kΩ的电阻,临时取代R1焊入电路,并将电位器顺时针向右旋到头,以便于调整。

1整最好在晚上进行,可避免其它光源的干扰。用一个15W的新电灯泡作光源,将印制电路板置于灯泡下方,使光电二极管距灯泡30cm。逆时针缓慢向左旋转电位器,直至电路发声发光,这时再将电位器顺时针向右回旋一点,使电路刚刚停止发声发光即可。拆下电位器和10kΩ电阻,焊上相同阻值的电阻。

1后制作外壳。选一个内部尺寸50mm宽、65mm长、20mm高的塑料小盒,在其盒盖上对应光电二极管VD1和发光二极管VD2的地方各开一个圆孔,对应电源开关S的地方开一个方孔,对应自带音源讯响器HA的地方开若干细缝作为出声孔。

2线暗提醒器外形如图示。使用时,将其打开电源放在书桌上。如果此时光照低于阅读标准,光线暗提醒器便会发出“嘀、嘀、嘀”,“嘀、嘀、嘀”,“嘀、嘀、嘀”的提醒声和闪烁的提醒光,提醒你现在光照不足。(门宏)
