5只电子报晓公鸡,每当天亮时,会像一只真正的公鸡一样,发出洪亮的“喔喔喔——”的报晓声,既能及时唤醒您起床,又会给您的居室平添一份田园情趣。

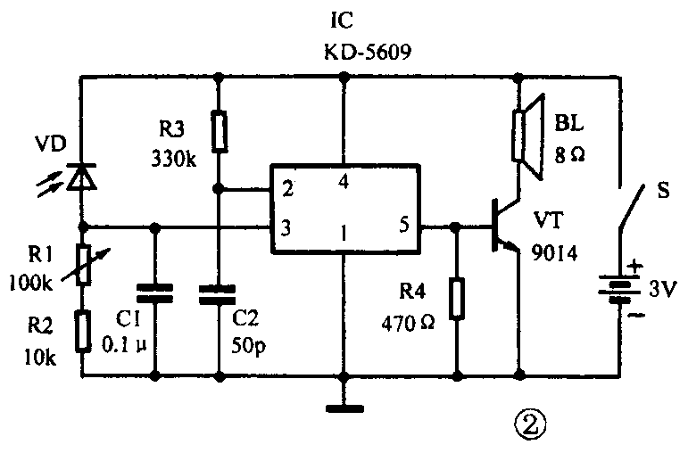
6是报晓公鸡的电路图。电路的核心是一块大规模CMOS集成电路KD-5609,该集成电路内部存储有公鸡叫的声音信息,一经触发,便会发出模拟的公鸡叫声。

7-5609是小印制板软封装形式,印制板大小约18mm×20mm,因此,可将KD-5609的外围元件全部焊接安装在这个小印制板上,不必另做印制电路板了。

8-5609采用光控电路触发。光控电路由光电二极管VD、电阻(R1+R2)等组成。无光照时,VD截止,KD-5609的3脚(触发端)约为0V,不触发;有光照时,VD导通,3脚约为3V,触发KD-5609发声。C1的作用是滤除短暂的光脉冲干扰,防止误触发。

9是可变电阻,调节R1的大小,即可改变触发灵敏度。调节方法为:(1)在您需要公鸡鸣叫的光线下(天刚亮或天大亮),调节R1,使电表指示为3V左右;(2)用黑纸等物遮住光电二极管(模拟黑夜),电表指示应为0V左右。

作时,按图将各元件焊入电路板,把光电二极管VD、扬声器BL、开关S、电池盒用适当长度的软线连到电路板上。

1一个适当大小的圆塑料盒作为外壳,也可根据自己爱好采用其它形状的非金属盒,大小以能装下所有元器件为准。在盒盖上钻一圈Φ5mm的孔,用于安装光电二极管VD、开关S,同时也是扬声器BL的出声孔。

2电路板、扬声器、电池盒用玻璃胶粘在外壳的盒身里面。

3光电二极管VD和开关S固定到外壳的盒盖上,固定开关S的孔需根据开关的具体情况适当扩大一些。

4路组装完毕,还需进行一次实际情况下的微调:在早晨您需要公鸡鸣叫的时刻,将外壳盒盖置于阳台上,打开电源开关,用螺丝刀轻微调节R1,使电路刚刚被触发、发出公鸡鸣叫声即可。用物体遮住盒盖上的光电二极管,叫声应停止。调试正常后,将外壳盖好,再在外壳上放一只玩具大公鸡即可。(门宏)
