5光陀螺是一种有趣的玩具,它在静止时不发光(左);当你把这个陀螺旋转起来后,它便会交替发出红、绿两个光环,内外轮流闪光(右)。

6光陀螺的电路是一个典型的自激多谐振荡器。开关S被接通后,发光二极管VD1、VD2便交替闪亮,大约每秒钟各亮一次。

7抢胄目亍T诰仓故保琒处于断开状态(左);当电路板绕中心点旋转时,S的动臂在离心力作用下向外弯曲,与定接点接触,使S闭合(右)。

8螺外壳可选购一只陀螺型卷笔刀,旋下上盖,小心拆除里面的卷笔刀, 留下外壳备用。

9据陀螺外壳的内尺寸,制作一块圆形的电路板,要求是正好能放在陀螺外壳内而不会晃动。

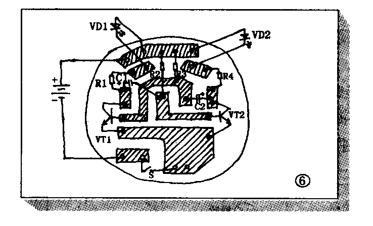
图刻制电路板,只需在画小圈处打上孔。将晶体管VT1、VT2,电阻R1~R4,电容C1、C2直接焊接在铜箔面图示位置。

1心开关S需自制。动臂:从弹性铜皮上剪下一小条,一端焊上一个半粒绿豆大小的锡珠,另一端包卷在一截粗钢丝上并焊牢。定接点:用粗铜丝弯成倒U状。

2动臂和定接点分别从电路板非铜箔面插入相应的孔中(左),并从铜箔面将其焊牢,使动臂上的锡珠与定接点之间相距1mm左右的距离(右)。

3胶将电池盒胶牢在电路板非铜箔面,正、负极引线分别插入相应的孔中,并从铜箔面将其焊牢。

4两个发光二极管VD1、VD2接上一定长度的细软引线后,从非铜箔面穿过小孔焊入电路板。各元器件分处于电路板的上下两面,如图所示。

5陀螺外壳的上盖上面图示位置,钻两个小孔,其直径和所选用的发光二极管的直径相同,两个小孔距离上盖中心的距离应不相等,以便旋转起来后形成两个不相重合(直径不等)的发光圆环。

6发光二极管VD1、VD2紧紧插入陀螺外壳上盖的孔中,电路板(含电池盒和电池)放入外壳下部中并塞紧,然后旋上上盖,闪光陀螺便做好了。当你旋转陀螺时,离心开关S闭合,电路工作,VD1、VD2交替闪光。由于陀螺自身在飞速旋转,所以VD1、VD2分别形成光环,其综合视觉效果是红、绿两个光环交替闪亮。 (门宏)
