一般无线电兴趣小组的仪器只有无检测电容功能的万用电表(图1),我通过几年的摸索,总结了一套用万用电表检验电容器的方法,供大家参考。

一、电解电容的检验方法
1.将万用电表的欧姆挡置于“R×1k”,双笔短接调0。
2.测量原理:欧姆表电路见图2。由图可见,万用电表的红表笔接电池GB的负极,而黑笔接电池GB的正极。所以,在测验电解电容器时,就必须将黑笔接电容器的正极,红笔接电容器的负极。

3.由于原先电容器是未充电的,在测量电路刚接通时,电池通过电路给电容器充电,电路流过充电电流,使电表表针偏转。电容量越大,偏转角也越大。我们就是依此原理来检验电容器的容量大小。如果容量小,测时表针的偏转角就会较小。一定的电容量对应着一定的偏转角。考虑到表头的允许误差,规定一个最小偏转角,或表针至少应到达的位置。
4.考虑到电解电容器的“漏电”,规定其漏电电阻不得小于100kΩ。在检验电容时,一接通电路,表针偏转,观察其是否到达规定位置。不要断开电路,随着电容器充电量的增多,充电电流越来越小。如果电容器不漏电,经过一段时间,当电容器上的电压等于电池电压(1.5V)时,充电完成,充电电流减小到0,这就是检测电解电容器时电表针一开始有大的偏转,而后返回的道理。图3就是检测各电解电容时表针摆至一个最远位置后返回的图。图中示出了各表针的最大偏转角位置。表针返回应是先快后慢,如无漏电,或漏电极小,可忽略不计,可基本返回至出发点。若漏电稍大,则表针会差一点回不到出发点。漏电越大,表针停留位置离出发点也越远。凡能返回至“100”位置的为合格,100位置以下的,为不合格。

测试结束后,用一支表笔将电容器的两极短接,作“放电”处理,使电容器回复测前未充电状态(图4)。

如图5所示,左手将黑笔与电容器正极捏住,使接触牢靠。右手持红笔“一次性”与电容器负极相接(不要多次接触),表针最大偏转位置(第一刻度线)参见表1。


表针摆至“极远”时,千万不要断开。注视表针返回,必须越过“100”刻度。即电容器的漏电电阻必须大于“100kΩ”。凡表针不能返越或返低“100”刻度者,为不合格,应予调换。
二、小容量电容器的检验方法
由于这些电容器无正、负极之分,在检验时不必顾及是否反接。但是有的电容器用一个极将另一极包裹,作屏蔽用,又有一些微调电容器在调节容量时,总是要与其一个极接触的。这个极如果在电路中是接地的,在调节时便不会影响电路的工作频率和工作状态,因此在设计制造电容器时,就定了型,被调极一定要接地。
检测这些电容器依然使用万用电表,并且使用表上的附加器,如图6所示。检验内容依然是容量偏差大不大(用表针的最大偏角表示),漏电严重不严重(表针从最大偏角返回至起点为合格)。

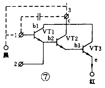
小容量电容器充电电流极小,如果像检验电解电容器那样去检验,就无法看到表针的偏转,有效的办法是安装一只放大器,将微小的充电电流放大。电表上的附加器就是一个有两个档位的放大器,其原理见图7。如图6中1、2是将微小电流送入一个放大倍数为170万倍到210万倍的放大器的输入端:3、2是一个放大倍数为1.5万倍到2.5万倍的放大器的输入端。因此,对于小于等于2000pF的电容器,应插入1、2弹簧中检验,而大于2000pF的电容则插入3、2弹簧中检验,都可以使电表表针有明显的偏转。不过,由于每一只电表1、2(2、3也如此)附加器的放大倍数都不太相同,所以同一只电容器在不同电表上检验时,表针偏转的大小也不一样,这就需要配备每一只电表一个表格,列出检验每一只电容器时表针在第二刻线上偏转的最多格数。由于允许电容器的电容有一定的误差,相应规定出±格数的范围。如10±2,即8~12格范围内都算合格(图8)。


与检验电解电容器一样,检验时表外偏转到最大角度后,不要马上断开,要等表针返回,对小容量电容器而言,表针应当回到起点。否则因其漏电过大,而不合格。
操作程序如下:
1.使用万用电表,首先将档位旋钮旋到“R×1k”档位,双笔短接调0。
2.小于等于2000pF的电容器应插入弹簧1、2,依次逐个检验,此为第一组。
大于2000pF的电容器应插入弹簧2、3,依次逐个检验,此为第二组。
3.第一组中的某一个电容器插入1、2后,使用万用电表的黑笔先接触弹簧1,这就是将电容器放电,以保证它在检验时处于“未充电”的初始状态。然后再将黑笔接触2,这时表针偏转,至最大偏角后返回。
(1)注视最大偏角在第二刻线上有几小格,对照本万用电表所配表格所列格数(见表2)。如果相差在±格数范围内,即为合格。如果超出范围,即为不合格。

(2)注视表针能否返回到起点,回到起点为合格。
4.第二组中的某一个电容器插入2、3:(1)使用万用电表的黑笔先接触弹簧3,使电容器放电。再将黑笔接触2检验,看表针最大偏转几格,是否符合表2所列格数(第二线小格)。(2)看表针返回时能否回到起点,回不到起点为漏电严重,不合格。
5.举例:检验各电容器表针偏转格数见表2。(秦俊伟)