上一次无线电小组的活动中,同学们顺利地完成了“光弱报信器”(图1)的制作,对各种半导体光电器件的原理和应用也有了初步的了解。但是,大家对制作中使用的555时基集成电路却不够熟悉。为此,老师进行了专题辅导,并组织同学们展开了讨论。

同学:老师,我们无线电小组以前制作的“照明灯延时开关电路”、“救护车警笛电路”、“光弱报信器”中都使用过555时基集成电路,您能给我们讲讲这种集成电路的结构和工作原理吗?
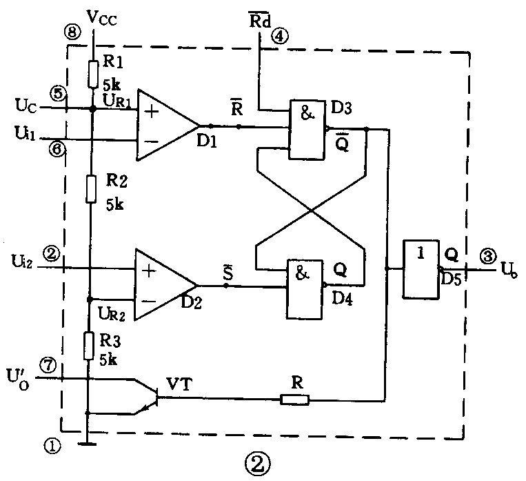
老师:555时基集成电路又叫电子定时器,是一种多功能集成电路器件,也是电子爱好者在电子制作中常用的器件。555电路的内部线路比较复杂,我们只需要画出它的逻辑原理图(图2),就很容易了解它的工作原理了。大家从逻辑图上可以看到,整个电路由R1、R2、R3组成的电阻分压器,两个电压比较器D1、D2,两个与非门D3、D4组成的基本RS触发器,输出级D5及放电管VT等几部分组成,封装后共有8条引出线。

同学:为什么管它叫555电路呢?
老师:大家注意图上的电阻分压器,三个电阻R1、R2、R3的阻值都是5kΩ,555的名称就是这么得来的。
同学:555的内部电路中有两个电压比较器,它们的电路功能是什么呢?
老师:555电路中的电压比较器(图3),它有两个输入端,“+”端叫同相输入端,“-”端叫反相输入端。输出与输入的关系是:当同相输入端的电位高于反相输入端的电位时,比较器输出高电平“1”;当反相输入端的电位高于同相输入端的电位,比较器输出低电平“0”。在使用时,把其中一个输入端接上基准电压U\(_{R}\),另一个输入端输入信号电压Ui,将U\(_{i}\)与UR进行比较。如果反相输入端(“-”端)接基准电压U\(_{R}\)[图3(a)],同相输入端接信号电压Ui,当U\(_{i}\)>UR时,输出端L为高电平“1”;当U\(_{i}\)<UR时,输出端L为低电平“0”。如果同相输入端(“+”端)接基准电压U\(_{R}\),反相输入端接信号电压Ui,当U\(_{i}\)>UR时,L为低电平“0”;当U\(_{i}\)<UR时,L为高电平“1”。这就是基准比较器的电路功能。

同学:您再讲讲什么是基本RS触发器呢?
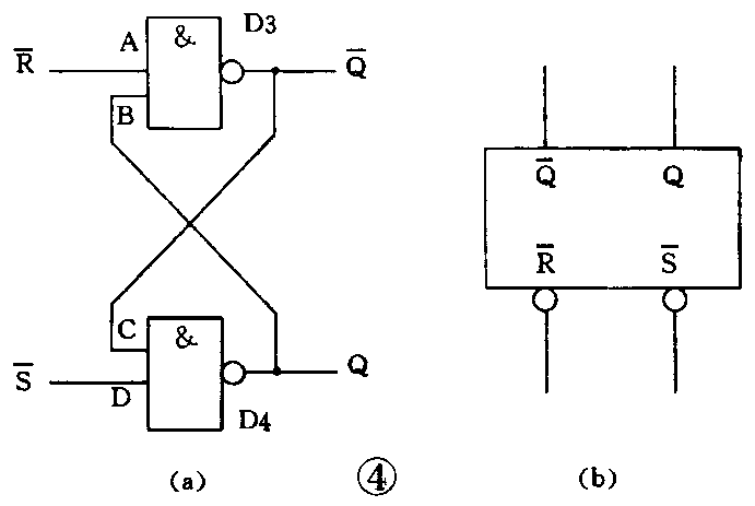
老师:基本RS触发器是数字电路中的一种最基本的单元电路,它可以用两个与非门组合而成[图4(a)],与非门D3的输出端接在与非门D4的输入端,D4的输出端又接回D3的输入端,这种连接方式叫交叉耦合。

同学:老师,您先讲讲与非门的逻辑功能可以吗?
老师:好的,今天正好给大家介绍一点数字电路的知识。与非门是数字电路中应用最多的基本逻辑电路,它的作用相当于一种“条件开关”,输出与输入的逻辑关系是:当与非门的全部输入端都是高电平“1”时,输出端就是低电平“0”;只要有一个或一个以上的输入端为低电平“0”,输出就是高电平“1”。同学们只要掌握了与非门的逻辑功能,就能分析基本RS触发器输出与输入的关系了。
现在请一个同学来分析一下。
同学:我来试试。先假定R端为低电平“0”,S-为高电平“1”,这时,与非门D3的输出端Q-肯定是高电平“1”,把它引向D4的输入端,D4的两个输入端都是“1”,输出端Q就是低电平“0”了。再假定S-端为低电平“0”,R-端为高电平“1”,这时,D4的输出端Q肯定是高电平“1”,把它引向D3的输入端,D3的两个输入端都是“1”,输出端Q-就是低电平“0”了。我不明白的是如果R-、S-都加上低电平“0”或者R-、S-都是高电平“1”,输出端Q会出现什么情况呢?
老师:你的分析很正确。我再回答你的问题:当R-、S-端都是高电平“1”时,触发器的输出状态不变;当R-、S-端都加低电平“0”时,触发器输出状态不定,是不允许出现的。从以上的分析可以看出,R-端为“0”S-端为“1”,Q端是“0”;S端为“0”,R端为“1”,Q端是“1”。我们把Q端的状态作为触发器的状态,可以列出R-、S-不同取值时触发器对应状态的表(表1),叫触发器的特性表。R-端称为触发器的置“0”端,S-端称为触发器的置“1”端。现在我再画出基本RS触发器的电路符号〔图4(b)〕。
同学:555电路中的输出级D5只有一个输入端和一个输出端,它是一种什么部件呢?
老师:D5叫反相器或非门,它的逻辑功能是:输入为低电平“0”,输出是高电平“1”;输入为高电平“1”,输出是低电平“0 ”。好了,我们已经把555电路的主要组成部分都介绍过了。下面我来提问题,大家一起分析555电路的工作原理。555电路(图2)中两个比较器的基准电压U\(_{R1}\)和UR2都是以电阻分压电路取得的,请回答U\(_{R1}\)和UR2各是多少?
表1
R- S- Q
0 1 0
1 0 1
1 1 不变
0 0 不定
同学: R1、R2、R3都是5kΩ的电阻,所以每个电阻上的电压降都是电源电压的1/3。这样,U\(_{R1}\)=2/3VCC,U\(_{R2}\)=1/3VCC。
老师:对。下面请同学们继续分析。假定比较器 D1的输入电压U\(_{i1}\)>2/3VCC,比较器D2的输入电压U\(_{i2}\)>1/3VCC输出端U\(_{0}\)(Q端)是什么?再假定Ui1<2/3V\(_{CC}\),Ui2<1/3V\(_{CC}\),输出端U0(Q端)是什么?可以列成一张表(表2)。

同学:比较器D1的同相输入端接基准电压U\(_{R1}\)=2/3VCC,反相输入端的输入电压U\(_{i1}\)>UR1,输出为低电平“0”,D1的输出端接与非门D3的一个输入端,D3的输出Q-=1。再看比较器D2,它的反相输入端接基准电压U\(_{R2}\)=1/3VCC,同相输入端的输入电压U\(_{i2}\)>UR2,输出为高电平“1”,D2的输出端接与非门D4的一个输入端,D4的另一个输入端是D3输出的Q-,所以D4的两个输入端都是高电平“1”,因此RS触发器的输出Q=0。反过来,当U\(_{i1}\)<2/3VCC,U\(_{i2}\)<1/3VCC时,可以推出Q=1。分析的结果列在了表2中。
老师:你的思路是正确的。对555电路还需要说明几个问题。请看逻辑图(图2);与非门D3还有一个输入端Rd-,叫直接置0端(或强制复位端,当Rd-加低电平“0”时,不论U\(_{i1}\)、Ui2端处于何种电平,电路都会复位,也就是Q=0\(_{o}\)大家知道,比较器D1“+”端的基准电压UR1=2/3V\(_{CC}\),为了灵活地改变基准电压,又引出了一个端子UC,叫电位控制端,U\(_{C}\)端加入外部电压Ec0时,则U\(_{R1}\)=Ec0,U\(_{R2}\)=1/2Ec0。为了提高电路的带负载能力,在输出端接入了非门D5,叫输出缓冲器,D5的输出端U\(_{0}\)=Q。555电路内部Q-端通过电阻R接在晶体管VT的基极,Q-=0(即Q=1)时,VT截止,Q-=1(即Q=0)时,VT导通,VT叫放电管,在实际应用中放电管的集电极外引线U'0端常接电容器,VT的导通和截止,就形成了电容器的放电和充电。
关于555电路的结构和工作原理我们已经讲得很细了,需要再结合实际电路不断提高分析问题与解决问题的能力。现在大家再回过头来看“光弱报信器”的电路(图1)。请同学来分析一下电路中555电路的作用。
同学:我们在实验和调试“光弱报信器”时,知道在光弱时红色发光二极管点亮,扬声器发出“叮咚”的音乐声。光线强弱的变化,反映在光电三极管的电阻值ree的变化上。当光线足够强时,rce很小,与RP分压获得的U\(_{i2}\)>1/3VCC,所以Q端(③脚)为低电平“0”,绿色发光二极管发光,红色发光二级管熄灭,VT1截止,音乐集成块IC2不工作。当光线变弱时,r\(_{ce}\)变小,Ui2<1/3V\(_{CC}\)时,Q端(③脚)变为高电平“1”,红色发光二极管点燃,绿色发光二极管熄灭。在③脚由低电平变为高电平瞬间形成的电压正跳变,经电容器C耦合,使VT1瞬间导通并触发音乐集成块IC2,驱动扬声器发出光弱报信声。我的体会是,这个电路先把光线强弱的变化转换成电信号Ui2,再利用U\(_{i2}\)控制555电路输出电平的转换,直接驱动声、光报警电路的工作。
老师:你分析得很对,只要熟练地掌握了555电路的基本功能,就能正确地分析实际电路,并能灵活地应用这种多功能器件了。
同学:怎么用简单的方法判断555电路的好坏呢?
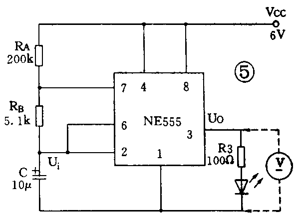
老师:我向大家介绍一种简单的测试电路(图5),它只需要三个电阻、一个电容和一个发光二极管,直流电源为6V。接通电源后,发光二极管周期性地闪光,就说明555电路工作正常。也可以接一块直流电压表,如果表针在0~4.5V之间周期性摆动,也说明电路是好的。我还是让大家自己动脑筋分析一下这个测试电路的工作原理,同学们可以思考几分钟再回答。

同学:我把测试电路与555电路的逻辑图对照起来分析。测试电路中把555的两个信号输入端子⑥脚和②脚(对应U\(_{i1}\)和Ui2)连在一起由电容器C上的电压来控制。接通电源后,V\(_{CC}\)通过RA、R\(_{B}\)给电容器C充电,电容器两端电压Ui按指数规律上升,当U\(_{i}\)上升到2/3VCC时,输出端Q(③脚)由高电平跳变到低电平,内部放电管VT导通,电容器C通过RB给VT(⑦脚)放电,U\(_{i}\)按指数规律下降,当Ui降至1/3V\(_{CC}\)时,输出端Q(③脚)由低电平跳变到高电平,VT截止,电源VCC又通过R\(_{A}\)、RB再次给电容器C充电。这样,电容器周期性地充电和放电,使输出端(③脚)在高、低电平之间交替转换,驱动发光二极管周期性地闪光。
老师:对啦!555的应用电路其实很简单。刚刚分析的测试电路,实际上是555的一种重要应用电路,叫做多谐振荡器,它可以产生一定频率的矩形脉冲,应用十分广泛。现在我画出它的波形图(图6),大家就可以一目了然了。

同学:除了多谐振荡器,555电路还有哪些典型应用呢?
老师:555电路是一种多功能器件,它的典型应用电路很多,如单稳态触发器(定时、延时电路)、施密特触发器(幅度鉴别器)、锯齿波发生器、电压频率变换器,等等,今天就不多介绍了。(宋东生)