脉冲宽度检测电路是数字装置常用的电路。在某些电路中,有时要对一个脉冲信号的宽度进行识别。例如,当输入脉冲的宽度达到一个特定值时,便产生一个响应,否则就不予以响应。CD4528是CMOS双单稳态触发器,内含两个完全独立的单稳电路,每一个单稳电路有两个输入触发端A和B,输入脉冲(上升沿作用)从A端输入时,B端接高电平。R-是复位端,低电平有效,在R-端施加一负脉冲,迫使单稳电路复位,输出为低电平。其单稳时间由外接定时元件R\(_{t}\)、Ct决定。通常CD4528多用作整形、延迟,用它也可组成脉冲宽度检测电路。
在图1所示的检测线路中,IC1、IC2是一片CD4528,IC1的输出端Q1接IC2的时钟脉冲端A2,Q2端作输出端。当U\(_{i}\)输入信号为高电平时,IC1单稳电路触发,Q1-端为低电平,暂稳态开始,IC2单稳电路不受触发,Uo仍为低电平。当U\(_{i}\)下跳时,IC1电路暂稳态还未结束,如图2(a)所示,而Uo仍不变。待IC1暂稳态结束,Q1-端回复为低电平,Q1端上跳为高电平。尽管此时IC2的触发端A2上跳,由于U\(_{i}\)输入信号已为低电平,即IC2的复位端R2为低电平,故Uo仍为低电平。


另一种情况是,当U\(_{i}\)为高电平时,Q1-端为低电平,IC1暂稳态开始,Uo为低电平。当IC1暂稳态结束,而U\(_{i}\)仍为高电平,即IC2的R2端为高电平。Q1-端跳变为高电平,IC2触发翻转,Uo端变为高电平,如图2(b)所示。当U\(_{i}\)下跳时,使R2端为低电平,IC2复位,Uo输出为低电平。由此可见,只有当U\(_{i}\)输入信号脉冲宽度大于IC1单稳输出脉宽时,IC2电路才有输出。
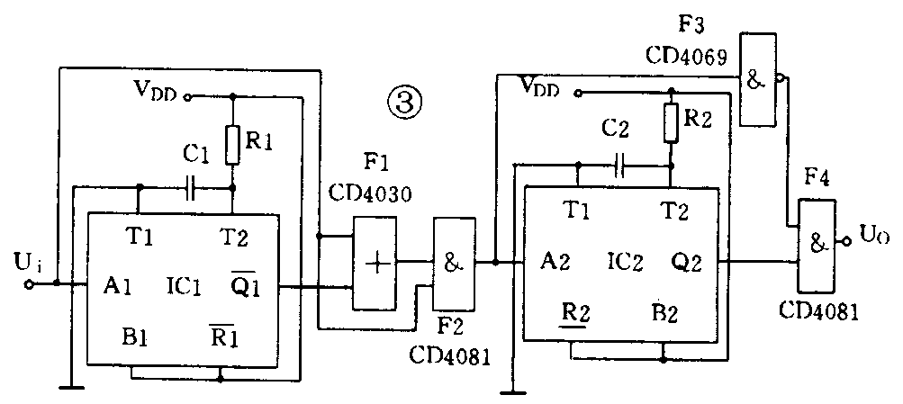
在图3检测线路中,T1、T2分别是IC1、IC2两个单稳电路的输出脉宽。U\(_{i}\)既为待测矩形波信号,又作为IC1电路的触发脉冲信号。Ti为U\(_{i}\)的正脉冲信号。下面结合图4波形分三种情况说明电路检测过程。


1.设输入脉冲U\(_{i}\)的正脉冲宽度VTViTi小于IC1输出脉宽T1,即T\(_{i}\)<T1,如图4(a)所示。当Ui上跳时,IC1电路触发,Q1端为高电平,暂稳态开始,根据附表所列异或门的逻辑功能,此时异或门F1和与门F2均输出低电平,IC2电路不触发,Q2端及输出端U\(_{o}\)均为低电平。当Ui下跳时,IC1暂稳态还未结束,F1输出高电平,但U\(_{i}\)已为低电平,故Q2及Uo均为低电平。当IC1暂稳态结束,Q1端回到低电平,F1、F2均输出低电平,IC2未被触发,Q2及U\(_{o}\)均输出低电平。由此可见,当Ti<T1时,电路无输出。
2.设T\(_{i}\)大于两个单稳电路输出脉宽之和,即Ti>T1+T2,如图4(b)所示。当U\(_{i}\)上跳时,IC1触发,Q1端为高电平,暂稳态开始,IC2不触发,Q2及Uo均为低电平。当IC1暂稳态结束后,Q1端为低电平,而此时U\(_{i}\)仍为高电平,F1、F2均输出高电平,IC2触发,Q2端为高电平,暂稳态开始,但因F2输出的高电平经非门F3反相输出低电平,故门F4仍输出低电平,即Uo为低电平。当IC2暂稳态结束,Q2端回复到低电平,U\(_{o}\)仍为低电平。当Ui下跳,F2输出低电平,IC2不触发,Q2、U\(_{o}\)为低电平。由此可见,当Ti>T1+T2时,电路无输出。
3.设T\(_{i}\)大于第1个单稳电路输出脉宽,而小于两个单稳电路的输出脉宽之和,即T1<Ti<T1+T2,如图4(c)所示。当U\(_{i}\)上跳时,IC1触发,Q1端为高电平,暂稳态开始,IC2不触发,Q2及Uo输出低电平。当IC1暂稳态结束,Q1端为低电平,此时U\(_{i}\)仍为高电平,F1、F2均输出高电平,IC2触发,Q2端为高电平,暂稳态开始,但因F2输出高电平经F3反相,故F4关门,Uo仍为低电平。当U\(_{i}\)下跳时,IC2暂稳态未结束,Q2仍为高电平,F2输出低电平经F3反相为高电平,F4开门,Uo为高电平。当IC2暂稳态结束,Q2端为低电平,F4关门,U\(_{o}\)为低电平。由此可见,只有脉冲宽度在一设定的范围内才能通过该检测电路。
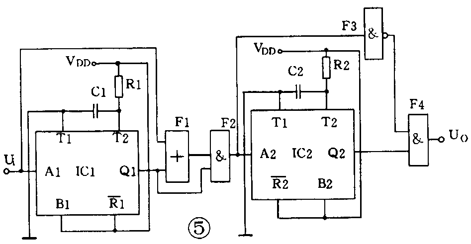
在图5检测电路中,其基本与图3相同,唯一不同的是,与门F2的一个输入端,图5接至IC1的输出端,图3接至Ui信号输入端。现结合图6波形仍分三种情况说明电路的检测过程。]


1.设输入脉冲T\(_{i}\)大于第一个单稳电路的输出脉宽,即Ti>T1,如图6(a)所示。当U\(_{i}\)上跳时,IC1触发,Q1端为高电平,暂稳态开始,异或门F1、与门F2均输出低电平,IC2未触发,Q2及Uo均为低电平。当IC1暂稳态结束,Q1端为低电平,U\(_{i}\)仍为高电平,F1输出高电平,但F2输出仍为低电平,Q2及Uo仍为低电平。当U\(_{i}\)下跳时,F1、F2均输出低电平,IC2未触发,Q2及Uo仍为低电平。由此可见,当T\(_{i}\)>T1时,电路无输出。
2.设T\(_{i}\)小于第1个单稳电路和第2个单稳电路的输出脉宽之差,即Ti<T1-T2,如图6(b)所示。当T\(_{i}\)上跳时,IC1触发,Q1端为高电平,暂稳态开始。F1、F2均输出低电平,IC2不触发,Q2及Uo为低电平。当U\(_{i}\)下跳时,IC1暂稳态未结束,F1输出高电平,故F2亦输出高电平,IC2触发,Q2端为高电平,暂稳态开始,但因F2输出高电平经非门F3反相,F4关门,故Uo仍为低电平。当IC2暂稳态结束,Q2端为低电平,U\(_{o}\)为低电平。当IC1暂稳态结束,Q1端为低电平,F2输出为低电平,IC2不触发,故Q2及Uo均输出低电平。由此可见,当T\(_{i}\)<T1-T2时,电路无输出。
3.设T\(_{i}\)在一定范围内,即T1-T2<Ti<T1,如图6(c)所示。当U\(_{i}\)上跳时,IC1触发,Q1端为低电平,暂稳态开始,F1、F2均输出低电平,IC2不触发,Q2及Uo均为低电平。当U\(_{i}\)下跳时,IC1暂稳态未结束,Q1端仍为高电平,F1输出高电平,F2亦输出高电平,IC2触发,Q2端为高电平,暂稳态开始。但F2输出高电平经F3反相,使F4关门,Uo仍为低电平。当IC1暂稳态结束,Q1端为低电平,IC2暂稳态未结束,Q2端仍为高电平,F2输出低电平经F3反相,使F4开门,故U\(_{o}\)为高电平,当IC2暂稳态结束,Q2端为低电平,F4关门,Uo为低电平。由此可见,只有宽度在某一设定范围内的脉冲才能通过该电路,即宽度小于第1个单稳电路的输出脉宽,而大于第1个单稳电路和第2个单稳电路输出脉宽之差的脉冲才能通过。(苏成富)