摩托罗拉V998手机体积小、重量轻、功能多、能耗低、屏幕大、接听效果好、携带方便,深受用户喜爱,是目前最小的自动双频手机。
摩托罗拉V998手机的电路板小、元器件集成度高、稳定性好。如整机供电主要由电源IC U900完成,简化了手机的供电电路,给维修带来了方便。其电路采用无表面走线的多层线路,IC采用高度集成化的BGA封装。
下面介绍该手机不开机的一些故障现象及维修方法:
不开机故障一
故障现象:手机不开机。加上直流稳压电源,按开关键,在电阻R804(见图3)处没有检测到有高低电平的变化,在Q942(见图1)的⑤、⑥、⑦、⑧脚处没有测到3.6V的电池电压,且电流表指针无任何摆动。


故障原因:这种现象主要由于开机信号断路、电池供电线路开路或电源IC不工作引起。
维修方法:
1.手机的电池电压供给大致原理
在图2中我们可以看出,电池电压从Q942的⑤、⑥、⑦、⑧脚送入,当④脚为低电平时,Q942导通,从①、②、③脚输出3.6V的电压,送给电源ICU900。手机的开机请求信号经电阻R804送入U900,U900受到触发开始工作,输出各种稳定的直流电压供手机使用。

2.首先考虑开机信号线是否断路。给手机加上电池,不按开关键时,测电阻R804处应有2.75V的高电平;按下开关键时,测电阻R804处应有1.5V以下的低电平。如电压不正常,就检查开关键到键盘接口J800(见图10)间是否有断路,键盘接口J800本身是否有虚焊和接触不良。一般被水浸过的手机极易产生此类故障。

3.其次检查电池电压是否送到Q942。给手机加上电池,测Q942的⑤、⑥、⑦、⑧应有3.6V的电池电压。若无,检查Q942与电池间的连接是否断路。
4.再检查Q942送出的电压是否加到了U900上。按下手机的开关键,测U900的电池电压输入脚应有3.6V的电压。若无,检查Q942的输出端与U900的电池电压输入脚间的连线是否断路。
不开机故障二
故障现象:手机不开机。按开关键,在Q942处测不到正常的电压输出,在C929(见图3)处没有测到5.0V电压,C928(见图3)处没有测到3.0V或5.0V电压。
故障原因:电源切换管Q942和V998的升压电路工作不正常或损坏所致。
维修方法:
1.检查电源切换管Q942是否损坏。用万用表测量Q942的⑤、⑥、⑦、⑧脚是否有4.8V的电池电压输入,④脚是否有控制信号输入。若有,检测到Q942的①、②、③脚没有3.6V电压输出,则Q942损坏,需更换。
2.检查升压电路元器件是否有损坏。摩托罗拉V998的升压电路由升压线圈L901、滤波电容C934、整流二极管CR901组成(见图4)。L901脱焊或开路、C934断裂或短路、整流二极管CR901断裂或短路,均能使5.6V电压无输出而引起不开机故障。用万用表即可准确判断其好坏。

不开机故障三
故障现象:手机不开机。加上直流稳压电源,按开关键,电流表指针有漏电流指示,或一加上直流稳压电源不按开关键电流表指针就有漏电流指示。
故障原因:这种现象表明电源ICU900、电池直接给电的元器件或功放有短路或损坏。因为电源ICU900要给逻辑电路提供电源,一旦U900损坏手机逻辑电路就不会工作,手机的开机条件得不到满足,会造成手机不开机并时常伴有漏电流现象。
维修方法:
1.手机的直流稳压供电原理
其电路主要由电源ICU900构成,见图5,按开关机键给手机加上直流稳压电源。U900正常工作应分别送出6组稳定电压,供手机逻辑电路、总线、负压产生电路、SIM卡电路等部分使用。

2.给手机加电2分钟左右后,用手触摸电路板上的元器件,将明显发热的元器件更换。若仍不能排除,查找其发热元器件的负载电路和其它供电电路是否有元器件损坏。
3.检查电源IC U900是否损坏。电源IC U900为多功能微处理器,具有电源、数字处理、音频放大等功能,使用的频率高,损坏的可能性大。但U900采用BGA封装,不能对其进行直接测量,只有在如下元件处对其输出的值进行测量,来判断其好坏。
在C932(见图3)处应有2.75V电压,C926(见图6)处应有1.8V的电压,C923(见图6)处应有2.75V的电压,C930、C931(见图3)处应有32.768kHz的时钟信号,R400(见图7)处应有2.75V的RESET信号。如发现某一处或某几处电压不正常,则说明U900损坏,由于其采用BGA封装,一般说来只有返厂维修。若U900没有损坏,则说明由电池直接供电的其它元器件有损坏的或其通电线路自身有短路现象(被水浸过的手机易引起此故障现象)。根据手机供电原理查找线路或元器件,一般电源滤波电容、电源保护二极管有时会出现短路故障。


4.取掉功放U400、U300(见图7),若不漏电,说明功放已被击穿,用一个好的功放来替换即可。同时U400、U300的好坏判断也可用仪器进行测量。测每个脚对地电阻并与好手机的对地电阻值比较也能判断其好坏。
不开机故障四
故障现象:手机不开机。加上直流稳压电源,按开关键,电流表指针有电流指示,且电流表指针马上又回到0mA。
故障原因:这种现象说明电源部分基本正常,由于时钟电路没有正常工作或者CPU没有正常工作引起。
维修方法:
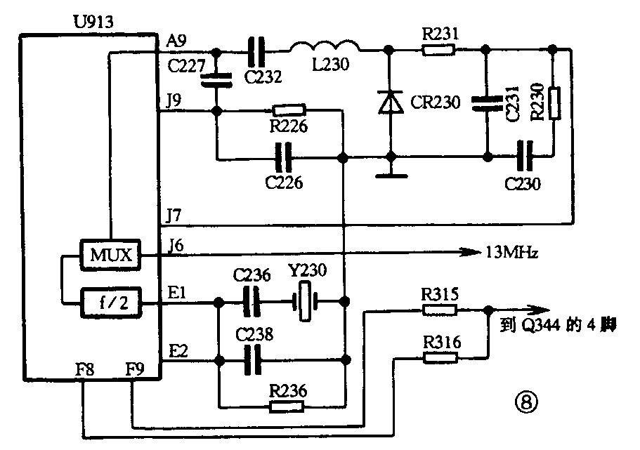
1.13MHz时钟电路大致工作原理
13MHz时钟电路主要由13MHz晶体Y230、振荡管CR230、U913及外围元件构成(如图8所示)。Y230产生的时钟在U913内经二分频后与由CR230产生的13MHz时钟信号进行比较,选出稳定的13MHz时钟信号提供给手机逻辑电路和射频电路使用。

2.从原理图中可以看出CR230、Y230(见图8)是产生13MHz时钟的主要元件,若加强Y230、CR230(见图9)及其相关的元器件的焊接后仍未测到13MHz时钟信号,则说明Y230晶体损坏,则只有更换Y230(一般被摔过的手机Y230易坏)。

3.判断电阻R231、R230 R226及电容C236、C238、C226、C227、C232,电感L230(见图9)是否有损坏或虚焊,若有,加强焊接或更换即可。
4.逻辑电路中CPU U700、暂存器SRAM U702、系统版本程序存储器U701(见图10)等的损坏或虚焊也会引起此类故障。由于逻辑部分这几个主要元器件采用BGA封装,一旦出现故障,一般说来只有返厂维修。
不开机故障五
故障现象:手机不开机。加上直流稳压电源,按开关键,电流表指针有电流指示,且电流表指针稳定1s左右才回到0mA。
故障原因:这是典型版本RAM资料错乱引起软件不开机故障,它除了能引起不开机以外,还能引起需要输入特别号码、请联系供应商、低电告警、背景灯不亮、按一次键出现双字等软件故障。
维修方法:
由于摩托罗拉V998手机的系统版本程序存储器采用BGA封装,只能用专用的免拆机软件维修仪对其重写软件。大多数情况下,能排出此类故障。如仍不能排出故障,就只有返厂维修。(文 斌)