NV-M3000摄像机上磁鼓内部安装5只磁头,其中视频磁头4只,旋转消磁磁头1只。4只视频磁头采用90°对称安装,并且磁头VR1和VR2、VL1和VL2方位角相同。由于NV-M3000摄像机磁鼓直径比VHS家用录像机磁鼓直径小,为了保证VHS磁带的互换性,磁带包绕磁鼓上的包角为270°。当磁鼓每秒转速为37.5Hz时,磁鼓转过270°所需的时间为20ms(即一场周期),在这段时间内,4只视频磁头只有其中一只有信号通过,并在磁带上记录一条信号磁迹,其它3只磁头输入信号均被关断。磁鼓转过270°后,原先有信号通过的磁头被关断,另一只磁头接通信号接着工作,磁头自动切换过程受磁头录/放放大集成块IC5001内部产生的磁头开关时序脉冲CTSW信号严格控制,其控制顺序为VR1→VL1→VR2→VL2,然后周而复始下去。
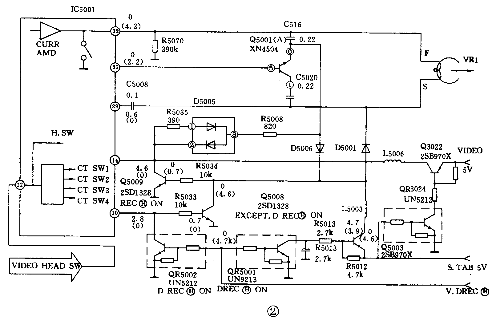
NV-M3000摄像机视频磁头具有记录和重放两种功能,其工作状态由系统控制送来的信号进行切换控制,见图1方框图。磁头开关通/断控制由Q5001、Q5002两只贴片双三极管(两只参数相同的三极管封装在一起)组成4路完全相同的磁头开关控制电路。为了便于分析,绘出其中一路如图2所示。下面分析其控制过程。


1.记录状态
插入一盒未抠去防抹挡舌的录像带,将摄像机操作面板上的VTR/CAM选择滑盖置于CAM位置,磁带加载完毕处于摄像暂停状态。系统控制输出S.TAB5V电压分别加到Q5003发射极和QR3024基极,QR3024饱和导通,其集电极输出低电平加到Q3022基极使其饱和导通,从开关电源电路送来的VIDEO5V电压经Q3022集电极输出为IC551和Q5009集电极提供工作电压。按下摄像开始/停止键,从系统控制送来V.DREC高电平分别加到QR5001和QR5002基极使其饱和导通,其集电极均输出低电平,QR5001集电极输出低电平加到Q5003基极使其饱和导通,其集电极输出高电平经L5003加到Q5009基极使其饱和导通。QR5002饱和导通后其集电极输出低电平使得Q5008处于截止状态。
在记录状态时,IC5001内部电子开关均处于记录状态位置。当磁头时序开关脉冲CTSW1从IC5001输出加到Q5001(A)管基极时,Q5001(A)管饱和导通,调频记录信号从IC5001输出经视频磁头VR1F端→S端→C5020→Q5001①脚、⑥脚→D5005③脚、②脚→Q5009到地呈回路。调频信号经VR1磁头时被记录在磁带上。当磁头开关时序脉冲控制信号CTWS1消失后,CTSW2立即出现,Q5001(A)管截止、Q5001(B)管导通,视频磁头VL1接着工作。在磁头开关时序脉冲的控制下,4只视频磁头轮流工作,从而完成视频信号记录过程。
2.放状态
将摄像机操作面板上VTR/CAM选择滑盖置于VTR位置,插入带盒按下重放键,IC5001内部电子开关与地接通,视频磁头VR1F端经IC5001内部接地,同时,系统控制输出V·D REC低电平控制信号,QR5001、QR5002均处于截止状态。开关电源输出REG3.5V电压经电阻R5036加到IC5001⑩脚和Q5008基极,Q5008基极高电平处于饱和导通状态,当磁头开关时序脉冲控制信号CT SW1从IC5001输出加到Q5001(A)管基极时,Q5001(A)管饱和导通,视频磁头VR1拾取磁带上的视频信号磁迹经磁头S端输出,然后经C5008耦合进入IC5001内部重放前置放大器输入端,另一路经C5020→Q5001①脚、⑥脚→D5006→Q5008到地呈回路。当磁头开关时序脉冲控制信号CT SW1消失后,CT SW2立即出现,Q5001(A)管截止、Q5001(B)管导通,视频磁头VL1接着工作,从而完成重放状态控制过程。
故障检修实例:
[例 1]故障现象:插入带盒拍摄,几分钟后将磁带倒回原处重放,电子寻像器内无图像,扬声器内有伴音。
分析与检修;拍摄几分钟后将磁带倒回原处重放,电子寻像器内无图像,将摄像机A/V输出插口与监视器连接好,按重放键,监视器屏幕上仍无图像,弹出带盒取一盒图像质量好的录像带重放,监视器屏幕上彩色图像和伴音信号均为正常。由上述检查结果分析,估计故障存在视频记录信号处理或磁头开关控制电路中。拆开机器右边机壳,将摄像机置于CAM状态,将镜头对准拍摄景物,按摄像开始停止键,观察磁带走带正常,用示波器分别观察接插件FP5001③、⑤、⑧、⑩脚均有调频记录信号输出,说明视频记录信号处理电路工作正常。弹出电池,焊下磁头录/放电路屏幕罩,然后插入电池,接通电源开关,按摄像开始/停止键,用示波器分别观察IC5001脚输入的H·SW和脚输入的H·ASW脉冲信号波形正常。用万用表检查Q5009基极为低电平,正常值记录为0.7V、重放为0V,进一步检查Q5003集电极输出的4.8V电压丢失,检查QR5001基极无电压,正常值记录为4.7V,重放为0V,顺着电路检查系统控制微处理器IC6004(V·D REC)输出高电平4.8V,电压正常,说明IC6004至QR5001基极这段印制板线条存在开路故障。用一根胶质导线将IC6004与QR5001基极之间直接焊通。记录后将磁带倒回原处重放,机器工作恢复正常。
[例2]故障现象:插入带盒拍摄,电子寻像器内显示磁头堵塞标志并闪烁,几分钟后将磁带倒回原处重放,寻像器内图像表面布满雪花噪波点。
分析与检修:拍摄时寻像器内显示磁头堵塞标志并闪烁,说明视频磁头存在脏污或断裂损坏,弹出带盒,卸下带仓盖,用麂皮包头棒擦洗视频磁头后插入一盒图像质量好的录像带重放,上述故障现象仍然存在。弹出带盒用放大镜观察视频磁头,发现VL1磁头已断裂损坏。拆开机器右边机壳,卸出上磁鼓上部两枚紧固螺钉,用吸锡烙铁吸尽上磁鼓上部接线板上10根引脚焊点上的焊锡,拔出损坏的上磁鼓,然后换上同型号的上磁鼓(型号为VEH0574),紧固好上磁鼓两枚螺钉,焊好接线板上的引脚,插入带盒重放,寻像器内图像恢复正常。(黄福森)