多制式彩电为了接收多种制式的电视信号,让4.5MHz的伴音中频信号直接进入伴音制转电路;而5.5MHz、6.0MHz、6.5MHz这三种伴音中频信号则要经过电路处理统一变换为6.0MHz。中放电路伴音解调用的6.0MHz调谐回路发生故障,仅影响到伴音接收效果;而伴音制转电路中的选通中频变压器(6.0MHz)、判别中频变压器(5.5MHz)发生故障时,除了产生伴音不良的故障外,有时还会出现图像无彩色或彩色失真的故障。下面介绍5个维修实例来说明这种故障的检修方法。
〔例1〕高仕达CF-29C32PK型29英寸彩电(MC-15A机心,牡丹64C1、64C2A、74C2型彩电属同类型机心)输入AV信号伴音正常,接收电视信号伴音失真,但图像彩色均正常。
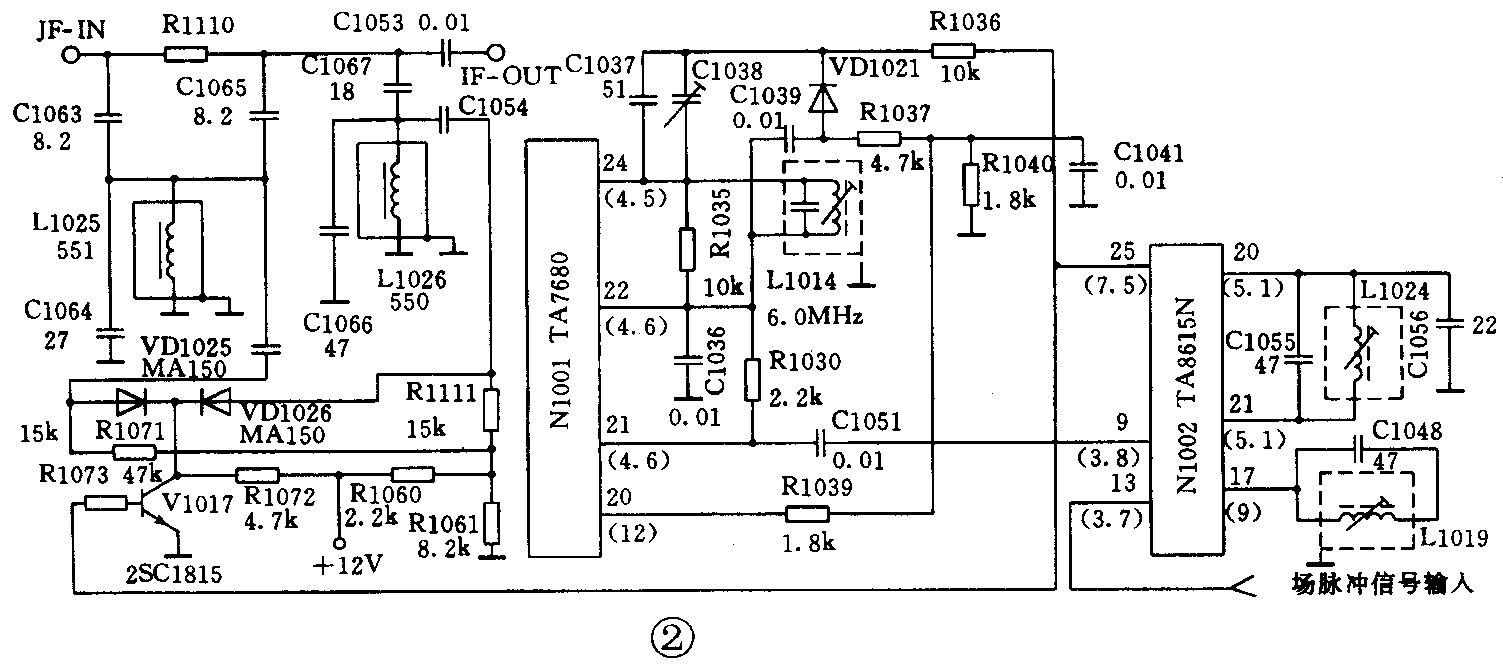
分析与检修:输入AV信号伴音正常,表明功放电路及扬声器完好。测量IC151(TA8615N)6输出高电平,正常,说明故障部位在伴音中频信号解调电路。该部分电路如图1所示。伴音中频信号从IC110(LA7555)的输入,在集成电路内部进行限幅放大、检波。解调后的音频信号从IC110的⑤脚输出,它的移相电路由L113和VC110构成。当输入6.0MHz的伴音中频信号时,R117的左端送入高电位,这时D113截止,VC110不接入电路,移相电路中的L113的“S”曲线的中心频率为6.0MHz;当输入的伴音中频信号为4.5MHz时,R117的左端送入低电位,这时D113导通,移相电路为VC110与L113并联网络,它的“S”曲线中心频率点为4.5MHz。测量R117电阻的左端为高电位,说明控制电路正常。用扫频仪检查中放电路LA7555的伴音鉴频“S”曲线,发现L113的谐振点已偏离6.0MHz,用调试起子将L113的频率中心点调至6.0MHz后,故障排除。

〔例2〕熊猫C64P88型25英寸彩电接收PAL制电视信号时,伴音声小且失真,图像无彩色。
分析与检修:用VCD分别送入PAL制及NTSC制射频信号,发现NTSC制信号图像颜色及伴音均正常。从AV端子送入PAL制和NTSC制音、视频信号,图像伴音全部正常,相应的制式控制及屏显也完全正常,矛盾的焦点便集中在PAL制信号的接收与解调电路。理论上分析,此故障应从伴音制式转换电路入手。
测量N1002(见图2)TA8615N6的电压为0V,而正常接收PAL制电视信号时此脚应输出高电平。造成6无高电平输出的常见原因有:TA8615N上外接的L1024识别中频变压器频率中心点偏离5.5MHz;TA8615N脚输入的场脉冲信号丢失;TA8615N集成电路损坏。用扫频仪检查L1024的谐振频率,发现其已偏离5.5MHz,微调L1024的磁芯,将频率中心点调至5.5MHz,这时伴音悦耳、图像颜色恢复,再测TA8615N的6电压输出为高电平。

从图2可知,调谐在5.5MHz频率点上的识别中叛变压器L1024和TA8615N脚输入的场脉冲信号共同控制4.5/6.0开关,二者缺一不可。由于L1024偏离5.5MHz,因而造成TA8615N的6错误地输出低电平,使V1017截止、VD1025、VD1026也截止,C1054、C1066在电路中处于断开状态,而未接入网络,此时L1025、L1026的吸收点分别为32MHz、33.5MHz,中放陷波器开始工作;中频曲线工作在NTSC制状态,带宽为6MHz,从而使得PAL制伴音解调工作失常,同时PAL制的4.43MHz色度信号也被衰减。另一方面,TA8615N6的低电平使VD1021导通,C1037、C1038、C1039被接入LC移相网络(L104)中,使其中心频率由6.0MHz变为4.5MHz。由于上述原因,致使该机出现了伴音声小且失真、图像无彩色的综合故障。
〔例3〕康佳T2916A型29英寸彩电,接收重庆有线电视台播放的20多套节目,其中位于H波段的一套节目的图像彩色时而正常,时而失真,当彩色出现失真现象时伴音也夹杂着强烈的“嗡嗡”声,其余频道的图像和伴音正常。
分析与检修:检查发现接收效果异常的这个频道,故障现象呈周期性出现,时好时坏。故障发生时,图像彩色变淡且失真,似PAL制信号强迫工作在NTSC制4.43状态。分析后认为,20多个频道仅一个频道异常,说明彩色解码电路和伴音解调电路基本正常,可能是图像和伴音故障同步出现,估计故障点发生在伴音制式转换电路。
康佳T2916A型机的伴音制转电路由N201TA8615N等元件构成(参见图2),其中TA8615N脚上的6.0MHz选通中频变压器T202(相当于图2中的L1019),若谐振频率轻度偏移,将使电路工作在一种临界状态,以致于TA8615N识别混乱,并发出错误的指令,使整个电路工作在NTSC制4.43状态下,从而引发了上述故障现象。
用伴音点频信号发生器输出5.5MHz、6.0MHz、6.5MHz的点频信号,调整T202,使示波器上的三点波形最大且三点近似相等,机器恢复正常,其波形如图3所示。

〔例4〕熊猫C64P2型25英寸彩电图像正常,伴音有“嘟嘟”汽船声。
分析与检修:伴音有汽船声,常见原因有功放电路自激;功放电路供电电源不良。检查TDA2009A伴音功放电路及22V供电整流滤波电路未见异常。测量伴音制转电路IC402TA8615N上的电压分别为5.1V,正常。观察伴音正常和出现“汽船声”时此二脚的电压并无变化,用调试起子调整TA8615N上的T403(相当于图2中的L1024),磁芯旋出半圈,“汽船声”消失。
修复后再做实验,故意调偏该识别中频变压器的谐振频率,使其大于或小于5.5MHz标准频率,这时机器出现下述3种故障现象:出现汽船声,同时汽船声的节奏频率随T403谐振频率的改变而变化;汽船声消失,伴音有躁声;伴音正常,但图像彩色消失。由此可见,T4035.5MHz谐振电路用于4.5/6.0判别电路,它的失调所反映出来的故障现象是不一样的。
通过以上4例的介绍,读者要注意在维修多制式彩电伴音异常、图像无色或彩色失真等故障时,对中放伴音4.5MHz、6.0MHz解调电路的鉴频中频变压器,对伴音中频转换电路中的4.5/6.0识别中频变压器和6.0MHz的选通中频变压器的失调现象应引起足够的重视。中频变压器内外的谐振电容,如发生容量改变或漏电现象必须先更换,再调整。
〔例5〕松下TC-M25C型25英寸彩电(M15M机心),接收电视信号时图像无彩色。
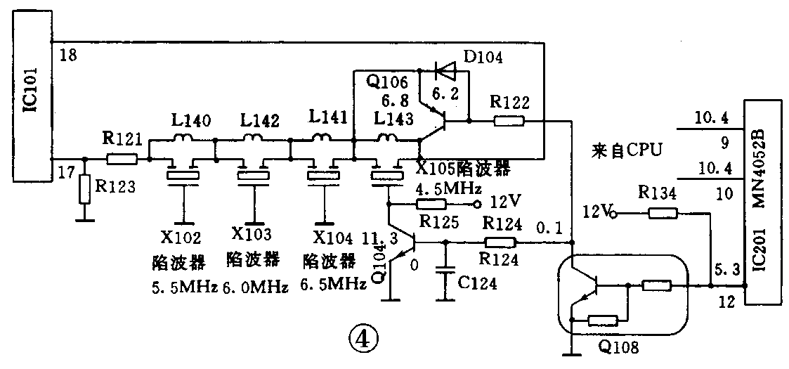
分析与检修:按动电视机上的伴音选择键及制式选择键,控制及相应的字符显示均正常。为了缩小故障范围,用录像机输入P制视频信号,这时图像出现彩色,置电视机制式于手动“PAL”制或自动“AUTO”位置,图像显示彩色均正常,这说明从CPU→制式识别与控制→亮、色分离电路→彩色解码电路完全正常,应重点检查伴音中频转换电路。
将故障机的制式置于“AUTO”位置,伴音中频置于“6.5MHz”,这时测量伴音中频转换电路IC201的⑨、⑩两脚均为10.4V的高电平(见图4),说明CPU(IC110)的⑦脚和⑧脚输出的伴音中频转换信号正常,这时IC201的脚应输出高电平,为直流5.3V。测量IC201脚,发现此脚电压在1.3~3.6V之间波动,电压小于2V时图像无彩色,电压大于2V时图像出现彩色,说明伴音中频转换电路有故障。附表是IC201正常时的实测数据,可供读者维修时参考。


关机测量IC201的在路电阻,发现其①脚、②脚、④脚、⑤脚的阻值均为14.4k,和附表对照出入很大,测量脚的阻值时,万用表的指针在5~6k之间摆动(正常值应为26k),检查Q108带阻三极管未见异常,说明IC201(MN4052B)转换电路已经损坏。悬空脚后开机,这时图像出现稳定的彩色,测Q108的b极电压为5.3V,更换IC201后机器恢复正常。
该机为多制式机,伴音陷波电路详见图4。当伴音第二中频为5.5MHz、6.0MHz、6.5MHz时,IC201的脚必须输出高电平;伴音第二中频为4.5MHz时,IC201的脚输出低电平。当接收国内PAL4.43MHz和伴音第二中频为6.5MHz的电视信号时,IC201脚的高电平使Q108导通,Q106也随之导通,X105(4.5MHz)陷波器的输入端与输出端被“短路”,同时Q104的截止又使X105的接地端被“断开”,X105(4.5MHz)陷波器未被接入电路。本例故障原因在于:IC201转换电路损坏,使脚输出电平过低,Q108状态转换三极管截止;Q108截止后,Q106也被截止,Q104被导通,这样,X105(4.5MHz)陷波器被错误地接入电路,从而造成4.43MHz色副载波在内的大部分色度信号被吸收,使得图像颜色消失。(薛春波)