逢年过节或是亲朋好友的生日,人们往往喜欢送上一张精美的贺卡,以表达自己的良好祝愿。如果能将自己的亲口祝愿随贺卡带给亲朋好友该多好!本文将指导你制作一个“录音贺卡”,它可以录下你的话语,对方收到贺卡后,可以反复聆听你的亲口祝愿,使人倍感温馨和亲切。
一、简要工作原理
录音贺卡实际上是一个简单的微型全电子数字录音机,它与传统的磁带录音机截然不同,没有录音/放音和抹音磁头,也不需要磁带,更不用任何机械传动机构,因而具有体积小、重量轻、寿命长、耗电省、制作容易等特点。
图1为录音贺卡的电路图,电路的核心是单片全电子数字录音集成电路HY506,其内部包含有话筒放大器、自动增益控制电路(AGC)、模/数(A/D)及数/模(D/A)转换器、静态存储器(SRAM)、逻辑控制电路、音频放大器等单元电路。由于HY506集成度高,包含了数字录音机所需的单元电路,只需很少的外围元器件即可正常工作。

HY506全电子数字录音机的工作原理可用图2所示方框图来说明。录音时,声音信号由话筒BM拾取并转换为模拟电信号,经话筒放大器放大后,由A/D转换器将模拟信号转换为数字信号,存储到静态存储器SRAM中。放音时,从SRAM中取出的数字信号,由D/A转换器还原成为模拟信号,经音频放大器放大后,通过扬声器发出声音。在这里,A/D转换器的作用相当于录音磁头,D/A转换器的作用相当于放音磁头,静态存储器SRAM的作用相当于磁带,它们在逻辑控制电路的控制下工作。HY506电路可录存6秒钟的话语。由于电路静态电流极其微小,所以不设电源开关。

二、元器件的识别与检测
录音贺卡机心共包括以下7种元器件:HY506集成电路、电阻器、电解电容器、驻极体话筒、扬声器、微动按钮和电池卡板。在正式动手制作之前,首先需要认识和检测主要元器件。
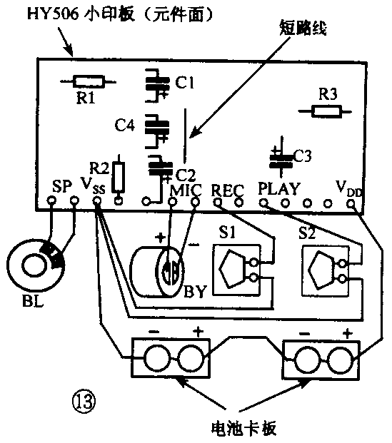
1.HY506集成电路。录音贺卡的核心是全电子数码录音机电路HY506,该集成电路采用小印板软封装结构形式,集成电路芯片封固在一块30mm×50mm的小印制电路板上。小印板软封装结构的好处是可以不必另制电路板,所有外围元件可以直接安装焊接在这个小印板上,使制作更加方便。
图3所示为HY506小印板的铜箔面,图中圆形部分为集成电路芯片所在。在小印板的下边缘有一排共14个引出端,从左至右(从铜箔面看)依次编号为1~14,在录音贺卡电路中,使用了其中的8个引出端:

引出端1:V\(_{DD}\),接电源正极;
引出端5:PLAY,放音触发端;
引出端7:REC,录音触发端;
引出端8:MIC-,接驻极体话筒负端;
引出端9:MIC+,接驻极体话筒正端;
引出端12:V\(_{SS}\),接电源负极;
引出端13、14:SP,接扬声器(不分正、负)。
2.电阻器。录音贺卡电路中共使用了3个电阻器R1、R2、R3。电阻器外形如图4所示,阻值的标示方法有两种:一种是直接印出阻值,如10kΩ的电阻器上印有“10k”字样(图4a)。另一种是用色环表示,在电阻器上印有4道或5道色环。对于4环的电阻器(图4b),第1、2环表示两位有效数字,第3环表示倍率(以10的指数的形式表示,下同),第4环表示误差。对于5环的电阻器(图4c),第1、2、3环表示3位有效数字,第4环表示倍率,第5环表示误差。色环中各种颜色的含义见附表。例如:某4环电阻器上第1、2、3环分别为棕、黑、橙色,查表1可知它的阻值是10×103(Ω)=10kΩ。

电阻器的好坏可用万用表检测。将万用表置于欧姆挡的适当挡位,先将两表笔短接,转动“调零”旋钮使表针指向电阻刻度的“0”位(满度),如图5a所示。然后将两表笔(不分正、负)分别与被测电阻器的两端引线相接触,表针应指在相应的阻值刻度上(图5b)。如果表针不动,或者指示值与电阻器上标示值相差很大,则该电阻器已损坏。

3.电解电容器。电路中共使用了4个电解电容器C1、C2、C3、C4。电解电容器的两个引脚有正、负之分,外形如图6所示,一般在其外壳上直接印有电容量、耐压值等字符,并有负极标志。使用时应注意区分正、负极,不要弄错。

电解电容器也可以用万用表进行检测。将万用表置于“R×1k”挡,用正、负两表笔去接触电容器的两引脚。当两表笔与电容器引脚接触的一瞬间,表针应先向右偏转,然后缓慢向左回归(图7a)。正、负表笔对调后再测,表针应重复以上过程。电容器容量越大,表针右偏越大,向左回归也越慢。测量中,如果表针不动,说明该电容器已断路损坏(图7b);如果表针向右偏转后不向左回归,说明该电容器已短路损坏(图7c);如果表针向左回归稳定后,指示阻值小于500kΩ,说明该电容器漏电较大(图7d),也不宜使用。

4.驻极体话筒。电路中话筒BM采用驻极体话筒,如图8所示,其外形是一个直径10mm、高6mm的圆柱体,有黑色滤尘网的一面是声波接收面,另一面有两个引出端。由于驻极体话简内含一场效应管,必须接上电源才能工作,所以其两个引出端有正、负极之分。与话筒金属外壳相连的引出端是负极,四周悬空的引出端是正极。

5.扬声器。电路中BL采用超薄型8Ω扬声器,如图9所示,两个引出端可以不分正、负地接入电路。用万用表检测扬声器的方法是:将万用表置于“R×1”挡,用两个表笔断续接触扬声器的引出端(图10),扬声器应发出“喀、喀”的声音。如无声,则说明扬声器已损坏。


6.微动按钮。录音按钮SB1和放音按钮SB2均采用超薄型微动按钮,其结构外形见图11,在一块14mm×14mm的小电路板上,安装有一个近似三角形的弹性接触片,右侧有两个引出端。检测时,可用万用表的欧姆挡测量两个引出端,当按下弹性接触片时,两引出端之间应导通;松开弹性接触片后,两引出端之间应不通。

7.电池卡板。整个电路采用4枚1.5V纽扣电池作电源,分别安装在两块电池卡板上。电池卡板形状如图12所示,在长条状电路板上焊有两个弹性卡子,可以卡入2枚纽扣电池。电池卡板上,与弹性卡子相连的是电池正极引出端,另一个是负极引出端。

三、制作、组装与调试
元器件检测合格后,就可以开始动手制作了。整个录音贺卡的制作、组装与调试,一般可按以下步骤进行:
1.小印板上元件安装、焊接。阻容元件都安装在HY506的小印板上,图13所示为该小印板的元件面(非铜箔面),上面已印有各电阻、电容、各引出端的符号位置。按标示位置将电阻R1~R3、电解电容C1~C4插到小印板上,并从铜箔面将其焊牢。电阻、电容均应采用卧式安装(图14),以降低安装高度。用裸铜丝做一个短路线,插到小印板短路线位置上并焊牢。将小印板铜箔面中间的“K”点用焊锡连通(参见图3)。


2.连接外围器件。按图13所示,用细软导线将驻极体话筒BM、扬声器BL、录音按钮SB1、放音按钮SB2接入小印板;将两个电池卡板用导线串联后接入小印板。连接驻极体话筒BM和电池卡板时,要注意其正、负极不能搞错。至此,录音贺卡的电子机心便安装完成了。
3.机心试用检验。录音贺卡机心电路一般不需要调试,但在装入贺卡之前,应进行检验性试用。先按图12所示,将4枚1.5V纽扣电池正极朝上,分别入两个电池卡板的4个弹性卡子中卡牢,即可进行试用。
录音:按下录音按钮SB1,这时可听到“嘀”的一声,保持按住SB1,对着话筒BM讲话,讲话结束后松开SB1,这段讲话便被录存到电路中了。在录音过程中,到了6秒钟时,电路会发出“嘀、嘀”两声提示音,提示存储器已满,之后的声音不可能再录存了。
放音:按一下放音按钮SB2,电路便将录存的声音播放一遍。如果在放音过程中按一下SB2,放音即刻停止。录存的声音可以无数次地被播放,直至录入新的声音为止。
如果不能正常录音,应重点检查:话筒BM正、负极引线有否搞错?录音按钮SB1有否接错位置?如果不能正常放音,应重点检查:扬声器BL和放音按钮SB2有否接错位置?同时应检查:纽扣电池正、负极有否装反?两块电池卡板正、负极有否弄错?电路有无虚焊?等等。
4. 贺卡组装。机心经试用一切正常后,即可组装到贺卡中去。选购或自制一张贺卡,最好是三折的。按图15所示位置,将机心各部件用胶粘牢在贺卡中间的一折上。在贺卡右边一折对应扬声器BL和话筒BM的地方,分别用大针戳几个孔,作为扬声器的出声孔和话筒的受声孔;在对应录音按钮SB1和放音按钮SB2的地方分别做好记号。然后将右边的一折合上,并用胶粘牢,成图15右图形状,录音贺卡便组装完成了。

5.美化贺卡。录音贺卡是一件精美礼物,美化当然是必不可少的。图16是一种美化方案,可供参考。

使用时,在贺卡左边写上文字内容,然后按住录音按钮SB1录下自己的话语,即可将这个精美而独特的录音贺卡送出去了。也可以在机心装入贺卡之前录制好自己的话语,然后拆除驻极体话筒BM和录音按钮SB1,再将机心组装到贺卡中去,使录音贺卡成为一个只读贺卡,同样可以送去你的亲口祝愿。只读贺卡的缺点是不便于重复使用。(门宏)