本文介绍的电子验电器可用发光二极管指示物体是否带有静电荷及其所带电荷的极性。

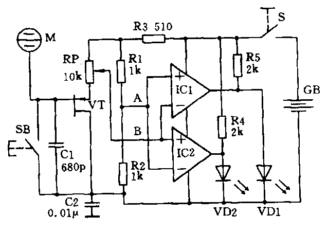
电子验电器的电路如附图所示,图中VT是结型场效应管,其漏、源极与电阻R1、R2,电位器RP接成桥式电路,以增加场效应管输出的灵敏度。合上电源开关S,按一下SB,使场效应管VT栅极上的静电荷泄放,调整电位器RP,使A、B两点电位相等,发光二极管VD1、VD2都不亮,此点是以后检验时的电荷零点。
将带正电的物体接近M时,M感应出负电荷,而与之相连的场效应管栅极感应出正电荷,栅极电位升高,R\(_{SD}\)减小,UA>U\(_{B}\),比较器IC1输出高电平,比较器IC2输出低电平,红色发光二极管VD1被点亮。当带负电荷的物体接近M时,场效应管栅极感应出负电荷,电位降低,栅、源极间电阻RSD减小,U\(_{A}\)<UB,比较器IC2输出高电平,比较器IC1输出低电平,绿色发光二极管VD2被点亮。如果要立即恢复二极管不发光状态,只要按一下SB键,否则等待1~2s亦可。
VT选用3DJ6结型场效应管,比较器用LM339,C1应用云母电容,C2可用涤纶电容,电位器RP用10k微调电阻,S为普通电源开关,SB采用无锁按键开关,M用圆铜板,VD1用红色发光工极管,VD2用绿色发光二极管,电阻要求误差较小,其值如图上所示,电源GB用2节5号电池。(陈仕宽)