热敏电阻是一种阻值随温度变化的特殊电阻。如果温度升高热敏电阻的阻值增加,称这种热敏电阻为正温度系数热敏电阻,一般正温度系数用英文缩写PTC来表示;如果温度升高热敏电阻的阻值降低,称这种热敏电阻为负温度系数热敏电阻,一般用NTC来表示。
PTC热敏电阻有突变型及缓变型两种,突变型一般用于恒温加热控制或温度开关,有一些功率型PTC元件作为发热元件用;PTC缓变型热敏电阻可用作温度补偿或温度测量。NTC热敏电阻主要用于温度测量及控制,也常用于温度补偿,本文仅介绍NTC热敏电阻及其应用电路。
NTC热敏电阻简介
一般的热敏电阻采用金属氧化物陶瓷半导体材料,经成形、烧结等工艺制成,也有一些热敏电阻采用碳化硅材料制成。热敏电阻的外形有很多种,常用的有珠粒状(直径0.8~5mm)、圆柱状、圆片状及无引脚贴片式,如图1所示。

圆柱状热敏电阻其外形如同一般玻璃封装二极管。这种结构生产工艺成熟,生产效率高,产量大而价格低,成为热敏电阻的主流。它常用于家用电器(如空调机、微波炉、电风扇、电取暖炉等)的温度控制;办公自动化设备(如复印机、打印机等)的温度检测或温度补偿;工业、医疗、环保、气象、食品加工设备的温度检测与控制等。珠粒状热敏电阻尺寸小(小的比芝麻粒还小),热时间常数小(即热惯性小),适合制造点温度计、表面温度计及电子体温计(几乎100%的电子体温计采用珠粒状热敏电阻作温度传感器)。片状热敏电阻主要用于电路中作温度补偿用。
一般的NTC热敏电阻测温范围为-50℃~+300℃,一些高温热敏电阻可测+700℃,而一些低温热敏电阻可测到-250℃。这里要注意的是同一种结构其测温范围是不同的,例如圆柱形玻封结构MF58型NTC热敏电阻有多种型号,MF58-502-3540的测温范围为-55℃~+150℃、MF58-503-3940的测温范围为-20℃~+250℃。
热敏电阻的公称电阻值指的是25℃时的阻值,它与一般电阻一样有系列电阻值范围。不同的结构其电阻值范围不同。例如,MF58型的电阻值范围为(0.1~1000)kΩ;圆片状MF11型的电阻值范围为10~15000Ω,用户可根据需要查资料选用。
热敏电阻的特性(即电阻与温度变化的特性)如何,我们可做实验来获得。
实验一、热敏电阻特性
套件供应的热敏电阻是直径Φ2mm的珠粒状NTC热敏电阻,阻值为1.8kΩ(25℃时的阻值)。它的电阻值与温度的特性如何,我们可通过实验来获得。
实验准备工作:在热敏电阻上焊两根软导线(长200~250mm),然后在焊接部位涂上环氧树脂胶(防水密封),如图2所示。准备一个LM35D温度传感器、万用表及一个保温杯(或大的水杯也可)、一杯碎冰渣。

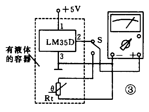
实验电路及实验步骤:实验电路如图3所示,将LM35D温度传感器及热敏电阻温度传感器放入有液体的容器中,用转换开关S的切换分别测液体的温度及在该温度下的热敏电阻的阻值。S打在上面时,万用表拨在直流1V挡,测液体的温度;S打在下面时,万用表拔在电阻“×100”挡,测在此温度下热敏电阻的阻值。若有两个万用表则可分别测量了。

将LM35D及热敏电阻放入保温杯,接好电路(可将两传感器的引线末端插在面包板上较为方便),两个传感器可捆在一起使它检测的温度尽量一致或放置同一深度,如图4所示。准备好记录表,如下表。然后将沸水倒入保温杯,然后测95℃时的电阻值及按表格的温度依次测各温度下的电阻值。当温度下降到40℃以下时,由于杯内温度与室温相差较小,降温较慢,为加快实验,可在杯中加一些冰渣或冷水使水温下降快一点(但不可一下加太多使温度下降太快而来不及测量)。在测0℃时两传感器应放入冰渣的杯中,测0℃时的电阻值。


按图5画出如图A的热敏电阻温度特性曲线。将表格中的值分别画出点(如0℃时电阻值6.3kΩ,10℃时为3.68kΩ,……),然后将多点连成一曲线。你所做出来的特性曲线是否与图5A的曲线差不多呢?

由曲线A来看,它的线性度较差,在0℃~20℃范围,曲线较陡(灵敏度较高),60℃~100℃的曲线较平坦(灵敏度较低),只有30℃~60℃一段线性度较好,并且灵敏度也适中,30℃的温差,电阻差约为1kΩ,即灵敏度约30Ω/℃。
如果用作测温,热敏电阻的线性度差是一个很大的缺点,但可以用简单的办法来改善,即用一个电阻与热敏电阻并联,图5的曲线B即是用一个3.3kΩ电阻与热敏电阻并联后的特性,从曲线B来看,其灵敏度有所降低,但线性度却大有改进。曲线B可用曲线A的各点电阻值按电阻并联公式经计算后获得。
实验二、温度补偿实验
各种传感器(如压力传感器、湿度传感器、加速度传感器及光电传感器等)在检测被测参数(加压力、温度等)的变化后输出相应的电量变化(大部分是电压变化),但输出电压值往往很小,需要通过放大器放大,如图6所示。但是传感器本身是金属或半导体硅等材料制成,它也会对温度敏感,即环境温度的变化对它输出有影响,即造成温度误差。这种温度误差可以采用热敏电阻在放大电路中给予补偿,这将减小由环境温度变化对传感器产生的温度误差。


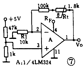
温度补偿实验电路如图7所示。这是一种模拟实验,用分压器1kΩ的输出电压模拟传感器的输出电压(约100mV),此电压输入放大器同相端(3脚),NTC热敏电阻(1.8kΩ)与反馈电阻R\(_{F}\)串联作为温度补偿电阻。放大器的增益K为
K=\(\frac{100kΩ+Rt}{10kΩ}\)
式中Rt为热敏电阻,当温度增加时,Rt阻值减小,K值降低。它用来补偿传感器受温度增加而输出电压增加时的温度误差(热敏电阻应用引线引出靠近传感器)。
本实验的做法是,输入电压不变,将热敏电阻放入不同的温度(20℃及60℃的)液体中,看放大器输出电压的变化。实验结果是温度越高时,其增益越小。本实验的目的仅说明利用热敏电阻在反馈回路中所起的补偿作用,是否能较好地补偿要根据传感器的温度误差特性来选择合适的阻值及特性的热敏电阻来解决。
实验三、温控器实验
图8是一种简单的温度控制器电路,电路要求环境温度下降到20℃时继电器吸合(LE亮)。

在面包板上搭好电路,经检查无误后可通电试验。当环境温度大于20℃,VT1的U\(_{be}\)小于0.6V,VT1截止,VT2也截止,继电器K不吸合,LED不亮;当环境温度到达或低于20℃时,调RP1,使VT1的Ube>0.6V,VT1导通,VT2相继导通,K吸合,LED亮。当环境温度又大于20℃时,继电器并不马上释放(继电器吸合电流大而释放电流小),等上升几度后继电器才释放。
这种电路可用于取暖器自动开启电路或要求不高的温控电路。
实验时若室温低于20℃时,则可以先将热敏电阻放在30℃左右的水中,LED灭;然后再放入20℃的水中,调RP1,使LED亮即可。
相关知识
1.NTC热敏电阻的优缺点
其优点有:
(1)热敏电阻灵敏度高、测量电路简单甚至不用放大器便可输出较高的电压(几伏);
(2)体积小、重量轻、热惯性小;
(3)本身的电阻值大,无需考虑引线长度带来的误差,因此造于远距离测量;
(4)热敏电阻已系列化,便于设计者选用;
(5)工作寿命长;
(6)价格便宜。
其缺点有:
(1)非线性大,要进行线性化补偿(用于测温电路);
(2)稳定性差,并有老化现象;
(3)同一种型号阻值有5%~10%的误差(精度高的有1%~2%的误差)。
2.NTC热敏电阻的阻值R与温度T(K)的关系可用下式来表达
R=Ro·e\(^{B〔1/T-1/To〕}\)
式中Ro:温度为T\(_{o}\)(K)时的电阻值,
B:常数,一般为2000~5000(K)
3.其它温度传感器
除我们介绍的几种常用的温度传感器外,在工业生产中还有铂电阻及热电偶两种是用得最多的温度传感器。铂电阻测量温度范围-200℃~+600℃,测量精度较高,价格较贵;热电偶有多种型号,测量温度从几百度至上千度(主要用于测高温)。
小结
通过本实验了解了NTC热敏电阻的特性及改善线性度的简易方法;了解了它用作温度补偿的电路及简单的温度控制电路。通过学习了解了NTC热敏电阻的结构、优缺点及应用范围。
思考题
1.若图 7中的热敏电阻Rt不串接在R\(_{F}\)电路中而串接在R1电路中(热敏电阻不变),在温度升高后,输出电压Uo有什么变化。这种电路适合在什么条件下进行温度补偿?
2. 文中说电子体温计100%采用NTC热敏电阻作为温度传感器,它是否比LM35D或MTS-102的测温精度高呢?
3.在作温度补偿时,热敏电阻应放置在何处?
4.为什么说热敏电阻更适合于作温度控制器电路,你的看法如何?
上期趣味实验室思考题解答:
1.设定温度可按下式计算
T\(_{4}\).7k≈68℃
2.LM35D的输出电压经3kΩ电阻接入电压比较器的同相端(3脚),温度设定电压输入电压比较器反相端(2脚),电压比较器输出端为1脚。
当发热元件的温度未超过设定温度时,反相端的电压大于同相端电压,电压比较器输出低电平,达林顿管截止,风扇不工作;当发热元件超过设定温度时,同相端电压大于反相端电压,电压比较器输出高电平,达林顿管导通,风扇工作进行散热降温。
本期思考题解答
1.按图7将热敏电阻串接在R1电路中,则增益公式改写为
K=1+(\(\frac{100kΩ}{10+Rt}\))
当温度升高后Rt阻值减小,增益增加。它适用于传感器的被测参数不变而环境温度升高后输出减小的场合。
2.电子温度计采用NTC热敏电阻主要原因是它的体积小(直径小于1mm)及热惯性小。另外,体温计的温度范围为35℃~42℃(仅7℃),经线性化后可获±0.1℃的精度。若采用其它两种传感器在35℃~42℃的范围内也可获得此精度。
3.应与传感器灵感部分放在一起或附近,与传感器感受相同的环境温度。
4.因为它有一定的非线性误差,用于均匀刻度显示时会有一定误差(如用万用表电压挡来读数),而用于温度控制时则非线性对温控无影响。(方佩敏)