MAX8860是美国MAXIM公司1999年的新产品,是一种低压差、低噪声线性稳压器集成电路。该器件主要特点有:输入电压范围2.5~6.5V,输出电压是双模式(Dual Mode\(^{TM}\)),即固定电压输出及可设定电压输出。固定输出电压有3种(2.77V、2.82V及3.3V,分别由型号的后级27、28及33表示)。可设定输出电压由用户外设两个电阻来确定,设定电压范围为1.25~6.0V。无论是固定输出电压或用户设定输出电压,其输出电流均可达200mA;压差低,在输出200mA电流时压差典型值为105mV;输出噪声电压低,其典型值为60μV\(_{RMS}\);静态电流小,其典型值为120μA;输出电容仅需2.2μF,可减小印制板尺寸及降低成本;有关闭电源控制,在关闭电源状态时耗电甚微,其典型值为10nA;有电源失效信号输出;有完善的保护措施,即过热保护、短路保护及电池反装保护。
由于该器件有上述特点,特别适用于移动通信装置、数字信号处理器(DSP)核心部分电源、PCMCIA卡、便携式电子仪器仪表等。
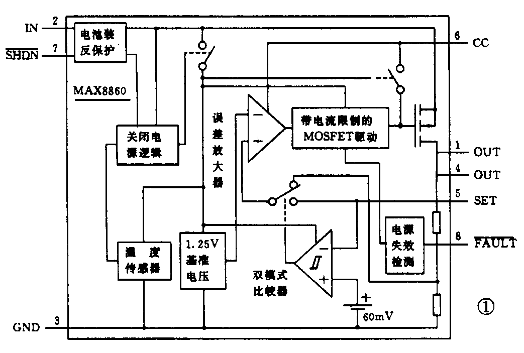
1.内部结构、封装与管脚功能
MAX8860的结构框图如图1所示。它由1.25V基准电压源、误差放大器、MOSFET驱动器、P沟道MOSFET调整管、双模式电压比较器、电源失效检测器及内部反馈的电压分压器组成。

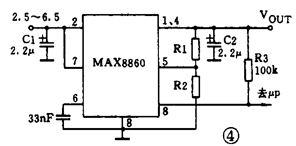
2.典型应用电路
在输出电压由用户设定时,输出电压V\(_{OUT}\),与分压器电阻R1、R2有关
V\(_{OUT}\)=(1+R1/R2)VSET
式中 V\(_{SET}\)=1.25V。
为了减小流过外接分压器的电流消耗及输出电压精度,选择R2=100kΩ最为适宜,则可以根据确定的VOUT,采用上式计算出R1的值。
3.电源失效检到电路
当输出电压低于调节范围、电源超过限制电流或过热原因,FAULT-端输出低电平。另外,输入、输出电压差不足保证输出负载电流及线性调整率(0.1%/V),FAULT-输出低电平。例如,当负载电流为200mA,其输入、输出之间压差小于130mV时,FAULT-输出低电平。FAULT-的检测阈值电压与输出负载电流的关系如图5所示

FAULT-的信号可以输入微控制器(μC)或微处理器(μP)。(方佩敏)



