①这棵声光圣诞树会发出悦耳的“圣诞歌”乐曲声,同时伴有红、绿、黄等彩灯闪亮。制作一棵声光圣诞树,必将为您的圣诞之夜增添欢快的节日气氛。

②图示为声光圣诞树的电路图。采用了两块集成电路,其中:IC1等构成音响电路;IC2等构成闪光电路。

③IC1采用 KD9300系列音乐集成电路,该电路是一种大规模CMOS集成电路,内储一首世界名曲,选购时应购买内储“圣诞歌”的以适应本制作主题的需要。KD9300是小印板软封装,使用很方便。

④发声器件采用压电陶瓷蜂鸣器,由压电蜂鸣片和助音腔盖组成。取一截双股软引线,两股线头分别焊牢在压电蜂鸣片的镀银层和金属基板上(左图),注意焊接时间不宜过长,以免烫裂压电陶瓷片。焊好引线后,盖上助音腔盖(右图),应使压电蜂鸣片的镀银层朝助音腔内。

⑤IC2采用CMOS六反相器电路CD4069,它内部包含六个反相器,左图是其逻辑功能引脚图,右图是其实物外形图。

⑥CD4069中每两个反相器构成一个多谐振荡器,产生3~4Hz的脉冲方波,并通过晶体管VT驱动一组(5个)发光二极管发出频率为3~4Hz的闪光。CD4069中的六个反相器共构成三个多谐振荡器,由于每个多谐振荡器的定时电阻Rt取值不同,所以三个多谐振荡器的振荡频率不同,三组发光二极管(每组5个,颜色不同)的闪光频率亦不同,形成群星闪烁的视觉效果。

⑦发光器件采用三组不同颜色的发光二极管(例如:红、绿、黄),每组5个。将发光二极管引脚截短为5mm左右,用细软绝缘导线将每5个发光二极管并联为一串。焊接引线时,需注意发光二极管的正、负极引线不要弄错。为便于将发光二极管串起张挂到圣诞树上,细软引线应有足够的长度。

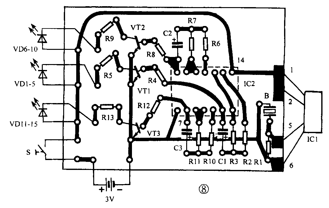
⑧元件均安装在一块5.9×4.4cm2的主印制电路板上。按图制作这块主印板,并在画圆圈处钻好φ0.8mm~lmm的孔。

⑨将集成电路IC2以及其它元件从非铜箔面相应位置(如图示)插入主印板,并从铜箔面将各元件引脚焊牢。

⑩将IC1小印板拼接在主印板右侧(小印板和主印板均铜箔面向上),用四截长度为5mm左右的粗铜丝,将小印板的①、②、⑤、⑥引出端与主印板的相应位置连焊在一起。

用玻璃胶涂在助音腔盖上,将压电蜂鸣器粘牢在主印板与小印板的非钢箔面,位置位于小印板与主印板拼接后形成的直角空隙处,注意出声孔必须露出,不能堵住,以免影响发声的响度。再将压电蜂鸣器的引线焊入主印板相应位置。

将开关、电池盒的引线分别焊入主印板相应位置。焊接电池盒引线时,要注意其正、负极不能弄错。

选购一棵塑料仿真小松树(也可用真正的盆栽小松树),将电路板、电池盒等置于小松树下面的花盆中,开关安装在花盆表面上。在花盆表面上开若干个小孔,以便声音传出。将三组(三种颜色的)发光二极管串交叉错落地粘挂在小松树上,其引线隐蔽地绕树干而下,从花盆上表面的小孔中穿入,并焊入主印板的相应位置。至此,声光圣诞树便制作成功了。

可在硬纸板上画一棵小松树并剪下来(左图),在纸板松树上开15个小圆孔,将发光二极管从背面穿出(右图),用玻璃胶将发光二极管与纸板松树背面粘牢。电路板和电池盒安放在纸板花盆背后,也用玻璃胶粘牢。一个纸板声光圣诞树便完成了。 (门宏)
