为什么电流表、电压表的指针会摆动,为什么扬声器的纸盆会振动,为什么电动机通电后会转动?这些都是利用磁场对通电导线的作用力——电磁力进行工作的。下面让我们自己动手做一个直流电动机的模型,验证一下电磁力的作用。
一、实验器材
1.10cm×15cm的胶木板一块,厚度可在1.5mm~2mm间选取(三合板、塑料板也可用)。
2.1mm厚的铁皮,剪下10mm×40mm的3块,130mm×20mm、100mm×18mm各一块,60mm×15mm的2块。约0.2mm厚的铜皮或马口铁(可用罐头盒铁皮)剪成15mm×25mm一块。
3.约0.15mm厚的磷铜片剪成50mm×8mm的2条(也可用易拉罐金属皮双折代用)。
4.直径2mm长80mm的钢丝或自行车条一根。
5.直径8mm~10mm的圆杆铅笔一段。
6.M3×20螺丝钉4根,M3×12螺丝钉4根,相应的螺母16个。
7.直径0.23mm~0.28mm的漆包线若干;单股或多股细塑料导线30cm。
8.6V电源(可用四节干电池串联)。
二、直流电动机模型的制作方法
直流电动机模型的外观及各主要部分的名称如图1所示。

定子:在铁芯上绕上线圈制成,通电后产生磁场。定子也可以用永久磁铁代替。
转子:也叫电枢,是在铁芯上绕上线圈制成,线圈头引出来,接到整流器上,整流器是装在轴上的若干片导体,它们彼此绝缘。片数越多,电动机启动越容易,运转起来也越平稳。为使模型结构简单,本实验采用三片整流器。在整流器上装有两个接触电刷,外来的电流通过电刷、整流器进入转子线圈后,转子在磁场中就会旋转起来。
1.制作转子(电枢)
根据图2(a)所示尺寸,用1mm厚、10mm宽、40mm长的铁皮3块,按图2(b)的形式弯成三块铁芯,每块之间的角度应为120°,弯制时可用硬纸板、三合板等自制一块如图2(c)所示的量角器随时测量。做好的转子铁芯尺寸如图2(d)所示。

用一根2mm粗、长80mm的钢丝(可用26型自行车车条截取),穿过图2(d)的铁芯中间做为转子的轴(轴在转子上的位置可参见图3),然后用透明胶条把铁芯和轴捆紧。

在转子铁芯的三个极上用0.25mm漆包线(漆包线外径为0.25mm,稍粗一点也可),按图2(e)~(g)所示绕线方向,分别平绕400圈。三个极上分别抽出抽头焊在对应的整流器上。抽头的方法是:第一个电极的线圈头和第二个极的线圈头相连作为一个抽头,第二个极的线尾和第三个极的线头相连作为第二个抽头,第三个极的线尾和第一个极的线尾相连作为第三个抽头。抽好头的情况如图2(h)所示。
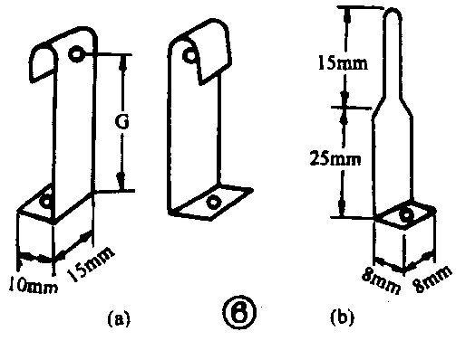
2.在转子上安装整流器
找一根直径约8mm的圆杆铅笔,截取15mm长一段,去掉里边的铅芯,并把它套在转子的钢丝轴上,位置如图3所示。套上去之前,最好在笔杆的内孔中涂上胶水,然后用0.2mm厚的薄铜片或马口铁(罐头盒或铁制易拉罐的铁皮),按图4(a)剪3块,并把它们弯成圆弧形,如图4(b)所示,间隔均匀地围在笔杆上,再用两段2mm宽的气门芯套牢(套气门芯时可用镊子把气门芯撑大)或用棉线捆牢。注意3块铜片不能相碰,每两块之间的距离应保持1mm左右。最后把转子的3个抽头分别焊到3块铜片上(抽头上的漆一定要刮干净)。装好后的整流器的转子如图4(c)所示。

3.定子的制作
按图5(a)尺寸剪一块1mm厚、20mm宽、130mm长的铁片,在一个直径4cm的铁棍或木棍上弯成一个圆环,如图5(b)所示。然后再按图5(c)的尺寸剪一块厚1mm、长100mm、宽18mm的铁皮,在一个4cm圆棍上弯成一个半圆环,作为定子的固定片,如图5(d)所示。把图5(d)所示半圆环照图5(e)所示形状弯好,打好安装孔,并把它和图5(b)所示圆环摞在一起,用透明胶条粘牢,然后用0.25mm的漆包线按图5(f)所示绕500圈,电动机的定子就做好了。

4.转子支架和电刷的制作
先在安装板上用M3×20的螺钉把定子固定好。固定时先装上四个螺钉并用四个螺母拧紧在安装板上,然后再在每个螺钉上拧上1个螺母后,再套上定子,在定子上边再拧上1个螺母,这样安装便于调整定子的高度。然后用手把转子插在定子中间,可调整定于铁芯圆环的大小和高度,使转子能在圆环中间自由转动,并使转子与定子铁芯的距离保持在4mm~5mm,根据调好的转子位置,用直尺量出转子钢丝轴和安装板的高度G。
根据图6(a),用1mm厚的铁皮做2个转子支架,其轴承孔的高度G与上边测出的G的数值应一致,轴承孔径比2mm略大一点。做好支架后,把转子插在支架上并按图1所示位置固定在安装板上。固定好支架后,用手转动转子应能在定子中间灵活运转,转子与定子的距离应尽量靠近(约4mm~5mm)而又不致相碰为好。距离不合适的可调整定子的位置和铁芯圆环的大小,直到达到要求为止。

转子能在定子中灵活运转后就可按图6(b)所示尺寸用0.15mm左右厚的磷铜片(没有磷铜片可用合金易拉罐的金属皮双折代替)做两条电刷,并按图1所示固定在转子整流器两边,调整电刷与整流器的位置,使电刷在转子转动的过程中始终与整流器接触良好。
转子与定子的位置及转子整流器与电刷的位置调好后就可按图1把电路接好。定子的一个线圈头接电源的一极;另一线圈头接电刷;另一个电刷则接电源的另一极。
本机电源为6V左右,接通电源后电机转子应能连续在定子中转动,如接通电源的电动机不转,可用手拨动一下转子帮助启动,转子即能连续运转。如直流电机仍不转动,应重点检查以下几方面:电刷与整流器接触是否良好,转子与支架轴承是否卡得太紧,转子与定子距离是否合适,电池接触是否良好,电池电力是否充足(最好用碱性电池)等。
本机在6V电源供电的情况下,整机电流约为300mA。(沈长生)