在维修家用电器时,更换部件是经常的事。若遇到暂时无配件也无可以代用的元器件时,常可将已损坏的部件用简单的外接电路加以改动,使其恢复原有的功能,我们暂且称这种方法叫补救法。下面举三个例子加以说明。
一、一台日立CMT2518彩电由于灯丝与栅极相碰,彩管不能工作,有些修理人员提出报废。笔者接手后,先测量灯丝电压U\(_{f}\)正常。经过限流电阻Rf后电压则为0V(电阻R\(_{f}\)=1Ω正常),说明Uf加到灯丝时被短路了。关机测量灯丝⑤、⑥脚电阻为0Ω,说明灯丝及外接电路有短路现象。拔掉视放板并测量视放板的⑤、⑥脚正常。再直接测量灯丝⑤、⑥脚的两端电阻,结果又正常。随即用6.3V外接电源给灯丝加热,灯丝红亮,证明灯丝工作正常。那么为什么装上了视放板灯丝就被短路了呢?当进一步测量灯丝与其它脚的绝缘电阻时才发现,原来是灯丝的⑤脚与栅极①、⑧脚短路(⑤脚接供电,⑥脚接地),如图1所示。确定了故障部位,补救方法相当简单:将供电的限流电阻从⑤脚改接⑥脚(也就是③、⑥脚在视放板上对调一下位置,处理结束随后开机,图像、色彩均正常。

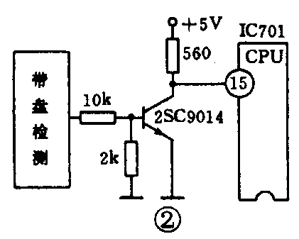
二、一台VCR32DAP高士达录像机的IC701微处理器M50754-372SP集成块内部的带盘检测部分损坏,其现象是:走带和快进、倒带均在3秒钟后自停,其它功能正常。笔者先查带盘检测系统正常。当检测的脉冲信号经过放大、转接等,加到微处理带盘信号识别输入端脚时,测量出电压变化低于正常值(正常时0~4.8V)。将脚与其它电路悬空后,测得脉冲电压恢复正常,说明IC701集成块内部有漏电现象。这时,试用一只560Ω电阻,一端接在+5V电源上,另一端断断续续碰在IC701的脚上,模拟脉冲信号,结果不自停了。由此可以看出,只要稍微加大检测信号的输出功率,已损坏的微处理器集成块仍可使用。具体的补救方法如图2所示。

应注意的是:当查出集成块内部部分损坏,为补救而施加电压和功率时,限流电阻取值应从大到小一步步选取,以防止集成块其它部分损坏,还应注意它温升不能过高。
三、一台25英寸索尼彩电,开机后随即响起剧烈的放电打火声。经查,发现行输出变压器高压引线根部与铁氧体磁芯在跳火。清除灰尘后看到引线根部绝缘外层有一条因跳火造成的黑色伤痕,说明此部位已碳化。补救方法是:将碳化的部分用刀清理干净,再用胶带纸在行输出高压引线根部围成空心管状,其高度要超过损伤部位1厘米,然后用调好的环氧树脂将其灌满。常温下24小时后使用。如图3所示。

注意:解决高压跳火故障,靠包包裹裹进行处理,不但不能彻底解决问题,而且还会埋下新的隐患。正确的方法是:首先应清理好“患处”,然后只要想办法做到使它与空气隔绝就可以了。
当家用电器的某一部件被确定损坏时,特别是大的家用电器,不要急于将其淘汰,应认真分析电路,研究发生故障的原因,选定一种或几种方法进行补救,一般均可成功。(顾振远)