LM45C/LM50B是美国国家半导体公司于1999年1月推出的两种新型温度传感器产品。它们的共同特点是,输出电压与摄氏温度成正比,灵敏度为10mV/℃,无需调整和标定;采用在晶片上进行校准的技术,成本低,价格便宜,静态工作电流小;采用贴片式SOT-23封装,尺寸极小,可用于远距离测量与控制。
LM45C/LM50B的主要特性如附表所示。

注:*LM45C测正温时的测温范范围为2.5℃~100℃。**保证精度指的是在整个测量温度范围内可保证达到的精度,在测量范围较小时其精度要略高,例如在25℃的精度为±2℃之内。***IM45C在测正温时用单电源(4~10V),在测负温时才用双电源。
这两种温度传感器与老型号LM35系列进行比较将会发现其精度等参数指标低于LM35系列,因此这两种温度传感器主要用于温度补偿及要求不太严格的温度控制。例如,在充电器中控制充电电池的温度不超过某一温度;仪器内部温度超过某设定温度时自动打开风扇降温等。这两种温度传感器特别适用于有微处理器(μP)控制的电子产品中作温度补偿用。
这两种温度传感器的主要应用领域如下:充电器、移动通信装置、传真机、打印机、硬盘驱动器、计算机、便携式医疗仪器、采暖通风和空调系统(HVAC)、汽车及电源模块等。
封装、管脚及代码

LM45C及LM50B是SOT-23封装,管脚排列如图1所示。由于器件尺寸极小,器件上用代码表示型号:LM45C的代码为T4C;LM50B的代码为T5B。
基本工作电路
1.LM45C的基本工作电路

LM45C的基本工作电路如图2所示。图2(a)是测量正温的电路;图2(b)是测量有负温的电路。+V\(_{S}\)的范围为4~10V,一般常用5V。输出的电压VOUT与测量温度T\(_{测}\)的关系为
V\(_{OUT}\)=10(mV/℃)×T测(℃) (1)
测量温度范围为2.5℃~+100℃。
测量有负温的电路见图2(b),其中-V\(_{S}\)是负电源,电阻RS与负电源-V\(_{S}\)有关,其关系为
R\(_{S}\)=|-VS|/5 (2)
输出电压V\(_{OUT}\)与测量温度T测的关系与(1)式相同。测量温度范围为-20℃~+100℃。
2.LM50B的基本工作电路

LM50B的基本工作电路如图3所示。在它的内部加了一个500mV的偏置电压,所以即使测负温时也无需双电源供电,简化了电路。输出电压V\(_{OUT}\)与测量温度T测之间的关系为
V\(_{OUT}\)=(10mV/℃×T测)+500mV
例如,T\(_{测}\)=25℃时,VOUT=75mV;T\(_{测}\)=-40℃时,VOUT=100mV。
应用电路实例
1.-40℃~+125℃温度测量电路
利用LM50B可以设计成-40℃~+125℃的测量电路,并可以用3\(\frac{1}{2}\)位(LED显示)数字表头显示温度或用数字万用表2V直流挡来显示,如图4所示(图4中未画显示部分)。

测量温度在-40℃~+125℃变化时相应输出电压为-400~+1250mV(相应显示-40.0~+125.0)。测量精度在±3℃范围内。
电路由5V稳压电源供电,LM50B的输出电压经R1接入运算放大器的同相端。调整RP1电位器,使其输出电压为500mV,此电压经R2输入运算放大器的反相端。运算放大器由R1~R4接成差动放大器,当R1=R2=R3=R4时,输出电压V\(_{0}\)为
V0=[(10mV/℃×T\(_{测}\))+500mV]-500mV
=10mV/℃×T\(_{测}\)
即通过差动放大器将500mV偏置电压去除,使输出电压与摄氏温度成比例,便于显示。
为保证测量精度,R1~R4应采用1%以上精度的金属膜电阻,或者采用选配方法来保证。运算放大器可采用CA3140。
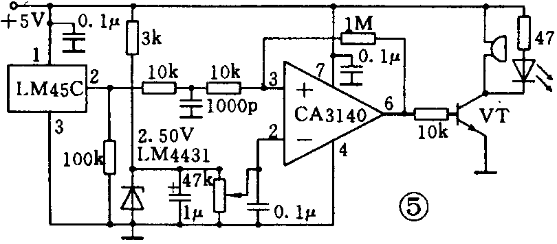
2.超温报警电路

图5是一种超温报警电路,报警温度可以设定,超过设定温度时发出声、光报警信号,也可以接继电器进行温度控制(图中未画)。
电路由LM45C、基准电压源LM4431及由运放CA3140组成的比较器构成。由47kΩ电位器的输出电压来设定报警温度(每10mV相当于1℃),例如报警温度为80℃时,调电位器使其输出电压为800mV即可。当温度超过设定温度时,比较器输出高电平,VT导通,发出声、光报警。比较器有一定的滞后,以防止测量温度在阈值温度上下波动时产生不稳定的报警声。
3.温度差测量电路

图6是一种温度差测量电路,电路工作原理与图4基本相同。T1、T2是两个LM45C温度传感器,分别输入差动放大器的反相端和同相端,由于R1=R2=R3=R4,所以输出电压V\(_{0}\)为
V\(_{OUT}\)=VT2-V\(_{T1}\)
式中V\(_{T2}\)、VT1分别为两传感器的输出电压。
若按下SB,则V\(_{T1}\)=0,测出的电压(相当于一定温度)即VT2的电压,也即T2的温度。
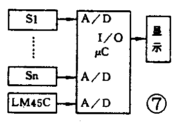
4.温度补偿电路

图7为一种使用微控制器(μC)的测量多路参数的电路框图。S1、S2……Sn为多路测量传感器,LM45C为温度补偿传感器,当环境温度变化对传感器S1~Sn有一定影响时,由LM45C测出环境温度,并通过软件查表方式进行补偿,可提高测量精度。(方佩敏)