①电子催眠器工作时会发出“嘀、嘀、嘀”的模拟滴水声。专心听着这滴水声音,或跟着滴水声数数,可以帮助失眠的朋友很快入睡。

②电子催眠器启动后,每1.4秒发出一声“嘀”的滴水声,持续约1小时后自动关机,这时您早已进入甜蜜的梦乡。

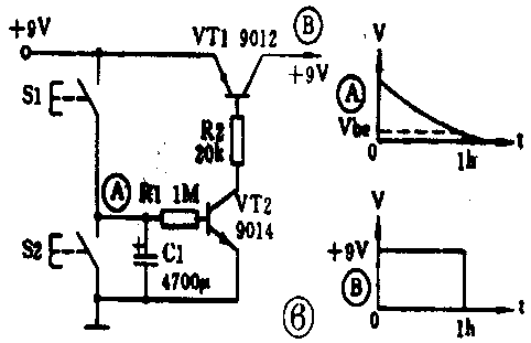
③电子催眠器电路由两大部分组成:右半部分是振荡电路,左半部分是定时电路。定时电路控制着振荡电路的电源。

④振荡部分是一个由单结晶体管组成的弛张振荡器。单结晶体管具有负阻特性,用其组成振荡器具有电路简单、易起振、输出脉冲电流大的特点。输出波形中窄脉冲宽度约1.2ms,脉冲间隔约1.4s,驱动讯响器HA发声,音响效果如滴水声。

⑤单结晶体管又称为双基极二极管,它具有一个发射极e和两个基极b1、b2。VT3可选用BT31、BT32、BT33、BT35等型号的单结晶体管。

⑥定时部分是一个1小时延迟开关电路。S1是启动按钮,S2是中止按钮。按一下S1,C1瞬间被充满电,VT2因基极正偏而导通,并使电子开关VT1导通,+9V电源经VT1加至振荡电路使其工作。随着C1经R1、VT2的b-e结缓慢放电,约1小时后,VT2因失去基极正偏压而截止,使电子开关VT1关断,振荡电路停止工作(见波形图)。如欲中途关断VT1,按一下S2,使C1上电荷迅速放掉即可。

⑦按图制作一块3cm×5cm的电路板。由于电路简单,可采用刀刻法制作,元器件按图示直接焊在铜箔面,免去打孔之麻烦。

⑧由于本催眠器耗电极小,为减小体积和便于制作,设计使用9V层叠电池,采用扣式电池接口,无需电池盒。电池扣可从废旧层叠电池中拆出顶端铆有阴、阳按扣的小胶木板,焊上正、负极引线即可,注意其正、负极按扣应与电池本身相反,才能将电池正确接入。

⑨S1、S2采用微型按钮开关。选两枚漂亮的树脂钮扣,根据按钮开关按柄的直径,在钮扣底部钻一孔,涂上胶后套在按钮开关的按柄上,既美观,按动时手感又好。

⑩选取一个长5.5cm、宽3.5cm、高3cm左右的塑料小盒,在相对应S1、S2的地方开两个孔,以便S1、S2上的树脂钮扣从中伸出。在相对应讯响器HA的地方开三道细缝或钻几个小孔。也可根据自己的爱好选用其它形状的可容纳下电路板和电池的外壳。

进行内部安装时,电路板上各元器件均不可高于S1、S2的按钮(树脂钮扣)部分。电池与电池扣扣牢后直接放在电路板下面。因电路板铜箔面与元件面均在上方,所以下方与电池之间无需放置绝缘隔离材料。

使用时,将电子催眠器置于枕边,按一下S1,您便可以听着美妙的滴水声渐渐入睡了,1小时后电子催眠器会自动关闭。如果快到1小时仍未睡着,可再按一下S1,可延长滴水声1小时。如果中途不想听这声音了,按一下S2,电子催眠器即停止工作。(门宏)
