问:双向二极管有什么特点,在业余条件下如何测量?(北京 周博)
答:双向二极管相当两个二极管反向并联,所以无论在双向二极管的两极之间加什么极性的电压,只要电压数值超过双向二极管的起始电压,双向二极管就能导通。
双向二极管的符号和外型如图1所示。

双向二极管的起始电压较高,一般在26~35V,所以,用普通万用表电阻挡测量双向二极管的正、反向电阻值均为无穷大(因为一般万用表内的电池电压都在22.5V以下)。测试双向二极管需要外加一个高于双向二极管起始电压的电源,一般有50V左右就足够了。测试方法可按图2连接:图中电流表可用万用表的1mA挡,直流电源最好是连续可调的(也可以把几个低压电源串联),逐渐增加电源电压,当电流表指针有较明显摆动时(几十微安以上)就说明双向二极管导通了 ,此时的电压就可认为是双向二极管的起始电压。

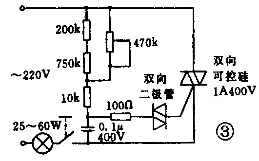
双向二极管主要用在如图3所示的调光电路中。(沈长生)

问:红外接收用的光敏二极管和光敏三极管有何区别?如何用万用表区分?(北京 周文)
答:红外接收光敏二极管是由一个PN结组成(图1),当有光照在光敏二极管上时,产生光电流。一般用万用表直流电压1伏挡,“+”、“-”表笔分别与光敏二极管的“+”、“-”极相连,在光照下,电压表指示可达0.3~0.4V(如图3)。光敏三极管具有两个PN结,一般基极无引线。可以把它等效成一个接在B、C极间的光敏二极管,如图2所示。无光照时c、e极间电流极小,有光照时光敏三极管的光电流却比光敏二极管的光电流大很多。一般用万用表1mA挡按图4接好,光敏三极管长脚为e极,短脚为c极。在无光照射时,电流表指示为暗电流,小于0.3μA,当有光照射时,电流表指示光电流一般为0.5~3mA之间。




用万用表电阻挡(R×100)可方便地区分光敏二极管和光敏三极管:在两只管子不受光的情况下(可用手捏住被测管),正、反向电阻都接近无穷大的是光敏三极管;正向电阻为几千欧,反向电阻接近无穷大的是光敏二极管。(沈征)
问:我有两只直径5mm透明管壳的二极管,一只是普通发光二极管,一只是红外发光二极管,如何用万用表区分?
答:直径5mm的二极管是小功率的二极管,从光电器件手册上可知,普通发光二极管(发出可见光,一般有红、绿、黄三色)的原始电压为1.6~2V,而红外发光二极管的原始电压则为1~1.3V,因此只要把万用表拨在R×100挡(表内电池为1.5V),按测普通二极管正、反向电阻的方法,若正、反向电阻场接近无穷大则是普通发光二极管;正向电阻为几kΩ,反向电阻接近无穷大的则为红外发光二极管。
当然还可以用3V以上电池,串上相应限流电阻,让两只二极管都处在正向连接下,能发出可见光的就是普通发光二极管。(沈征)
问:如何用万用表区分红外发射管和红外接收管? (吉林 谢丽英)
答:业余无线电爱好者平时接触比较多的都是小功率红外发射管和红外接收管,如彩电遥控电路、红外遥控玩具等。
小功率的红外发射管和红外接收管有时很像Ф3、Ф5的普通发光二极管,外观完全一样,只能通过万用表进行判断。
用万用表的R×100或R×1k挡(不需要用电表电池大于1.5V的高阻挡),在无光照时(可用手捏住管壳),分别测量两只管子的正、反向电阻,如果测得的正向电阻(电阻小的一次)十几千欧的基本上可确定为红外发射管;电阻在几千欧的基本上可确定为红外接收光敏二极管;电阻在几百千欧的是红外接收光敏三极管。然后再让被测管受光照射,反向电阻受光后变化小的为红外发射管,反向电阻受光后变化很大的则是红外接收光敏管。(沈长生)
(编者注:有关红外发光二级管和光电二极管、光电三极管的详细情况请参见下一期的“趣味实验室”。)