了解了常用CMOS数字集成电路的逻辑功能和基本应用方法后,在实际应用、操作、设计、制作过程中,还必须注意以下几个问题。
一、弄清数字集成电路的基本特性和逻辑关系
CMOS数字集成电路产品的外型基本相同,但它们的内部结构、引脚功能却各不相同,在使用前如果没有弄清楚所用集成块的逻辑关系和引脚功能,就可能损坏集成块。特别需要指出的是有的集成块虽然型号只是一字之差,但逻辑功能完全不同,例如,CC4001是二输入端四或非门,而CC4011是二输入端四与非门,如果将CC4001与CC4011互换,将不能实现其功能。在学习数字电路时,必须配备一本《CMOS集成电路手册》,以便查找。
二、先在面包实验板上作实验。
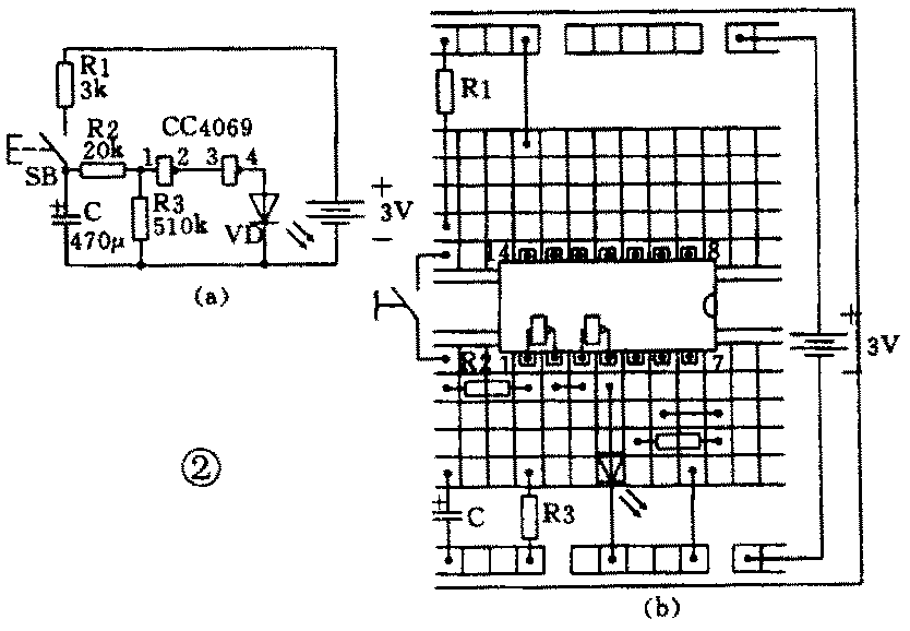
初学数字电路时,最好先在面包实验板上做实验,图1是面包实验板正面图,实验板内部连接方式为:(1)A~E:垂直方向相通连,水平方向不通连;(2)F~J:垂直方向相通连,水平方向不通连;(3)A~E与F~J两组之间互不通连;(4)X组与Y组水平方向相通连,两组之间互不通连。在使用时,我们可以将元件接插在插孔中,用硬接线连接各元件。

应用1:图2a将采用CMOS数字集成电路CC4069组成的延时路灯电路。在做实验时,先将集成块插入实验面包板中,再根据引脚功能图,用硬接线连接引脚与元件,图2b为整机连接图。按SB时,VD点亮,延时片刻后熄灭,改变C的电容量即可改变延时时间。

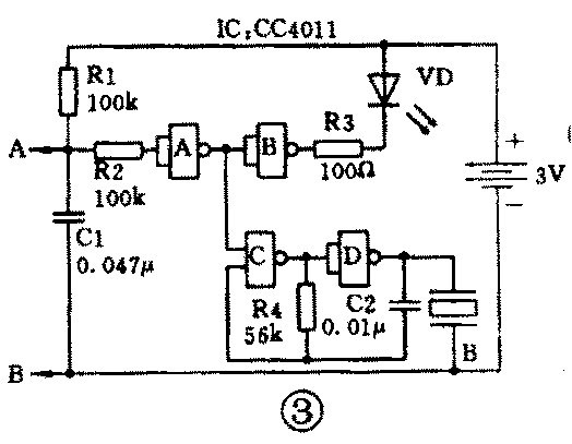
应用2:图3是由CMOS数字集成电路CC4011组成的水位报知器,图4为整机连接图。A、B是两个探头,当A、B接触到水时,VD亮、B响,反之无反应。


利用面包实验板做实验需要注意以下几点:
(1)元件的引脚必须平直,如果不平直用尖咀钳将其钳平,再用尖咀钳钳住引脚插入孔中。(2)采用直径0.5mm左右的硬接线,用于电子元器件相互之间的连接。使用时可根据实验板上孔与孔之间的距离,将导线做成“7型跨接在两点之间。(3)元件应在板上排列整齐,否则很容易引起短路。(4)通电前,必须仔细检查是否接插正确。
三、合理设计印制线路板
用CMOS集成电路进行电子制作时,最好先在实验板上做实验,在成功的基础上,可以自己设计印制线路进行整机组装。在制作印制板时,先将集成块翻转,将各引脚画在图纸上,根据引脚功能逐步扩至各元件,碰到交叉线时先将它画远些,再逐步修改,直至最合理。图5为水位报知器的印制线路图。

四、精心制作印制线路板
印制线路图设计完成后,将印制图按制作板的大小用油漆1:1画在铜箔板上,待油漆干后,用小刀修饰印制板描绘的油漆,修饰整齐后再用三氯化铁溶液进行腐蚀,约15分钟左右,没有油漆描过的铜箔将被腐蚀掉,用清水冲洗干净后抹干,再用细砂纸将油漆轻轻磨去,用冲锥或铁钉将要钻洞的地方冲击一下,留一印记,用台钻钻约1mm的小洞。集成块的引脚钻洞需特别注意,要整齐,否则集成块将装不进去。最后在铜箔板上涂上一层松香水,印制板即制作完成。
五、耐心焊接
将需要安装焊接的元件准备好,检查后,按照印制板所排列的元件位置,将元件焊接上去。焊接过程中需要注意,烙铁的功率不要过大,一般20W~35W为宜。在焊接集成块前再检查一下集成块是否放置正确,引脚位置有无装反。焊接集成块引脚时锡不要过多,以免引起短路。 (程国阳)