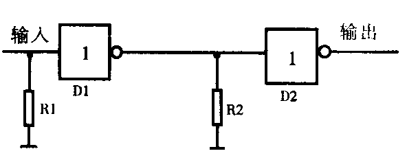
报警装置在探测器与监视传感器之间实现有线传输时,为防止由于人为地开路(剪断)或短路(接地)传输线,使报警系统不能正常工作,同时兼顾到正常报警信号不受电路的影响,本文提出了一种结构非常简单,但又能同时检测开路、短路及正常报警的数字传输电路。如图1所示,1、2为传输非门(TTL),R1、R2为接地电阻(<2k),发送端与接收端共地。

该电路利用TTL门的输出特性,当输出电阻R1、R2较小时,相当于接地,输出高电平。当外加高电平时,由于TTL门输入电阻远大于R1、R2,电流基本上从接地电阻流过,电压损失较小,仍可认为是高电平,TTL非门输出为低电平。假设报警信号为高电平,电路的工作原理说明如下:
1.正常情况下,R1相当于接地,非门1输出高电平,非门2接收高电平,输出低电平。
2.当有报警信号输入(高电平),非门1输出为低电平,非门2接收低电平,输出高电平。
3.当传输线开路时,接收端非门2无外加电压,R2相当于接地,输出高电平。
4.当传输线短路时,接收端R2电阻被短路,相当于接地,输出高电平。
因此,只有在正常情况下,输出端为低电平,其余均为高电平,这样就实现了对各种异常情况的检测。当报警信号为低电平,可在输出端加一个非门,使之反相。为了实现电平的可比较性,该电路发送端与接收端共地,故信号的单向传输需采用双线。双向传输可由4个非门,4个接地电阻和3线传输实现。
在R1、R2的选取上,为减少功耗,R1、R2应尽可能大,但为实现“接地”特性,R1、R2应尽可能地小(一般不大于2k),根据应用中的实际经验,R1、R2应取1k左右为宜。 (徐欣)