一、双30W功放
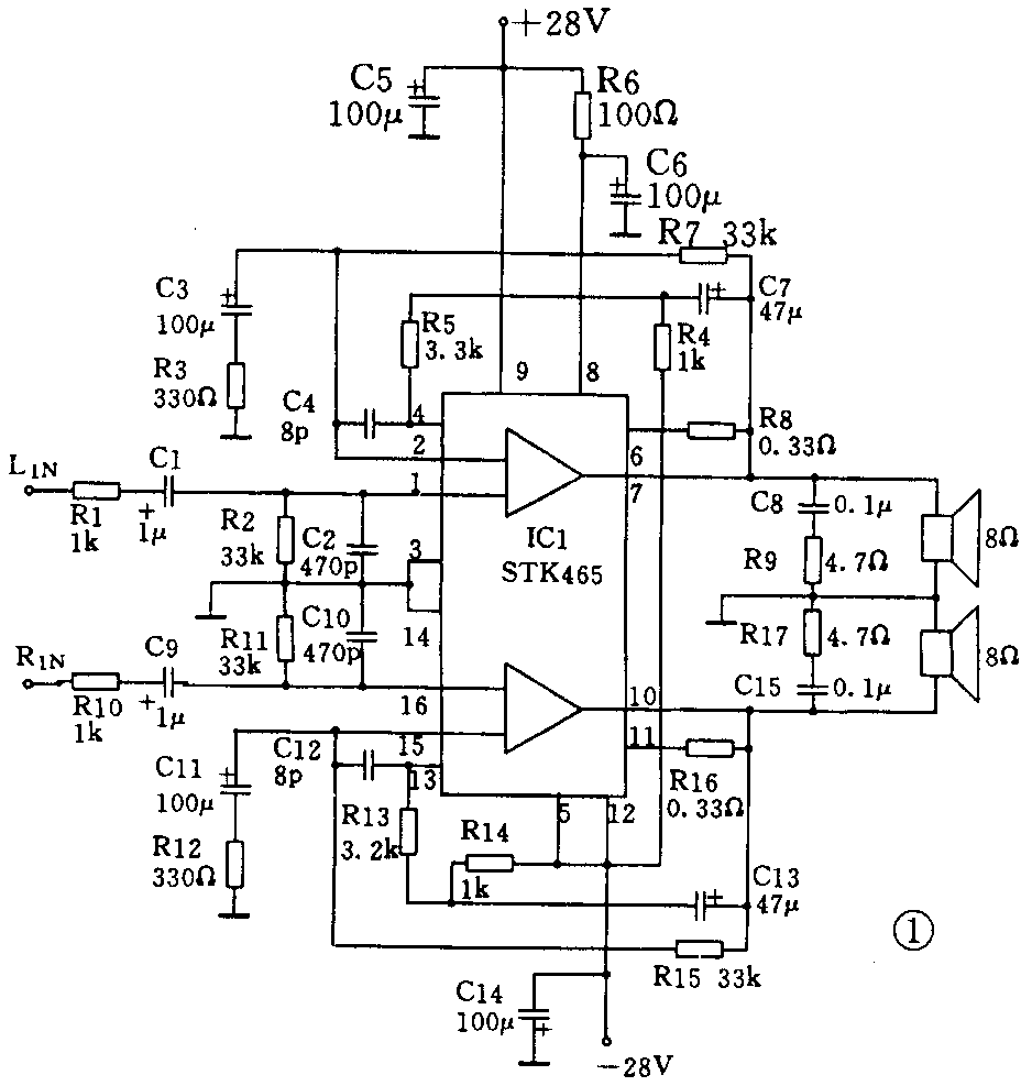
图1是2×30W双声道音频功率放大器,其核心器件IC1采用高保真音响功放集成电路STK465,该电路内包含两个性能指标完全相同的功率放大器,分别用作左、右声道的功放,可保证两个声道放大器指标的一致性。电路输入阻抗30kΩ,输入灵敏度150mV,电压增益40dB,频率响应10Hz~100kHz,谐波失真≤0.08%,电源电压范围±(25~35)V。制作时应注意,正、负电源退耦滤波电容C5、C14的位置应尽量分别靠近STK465的正、负电源输入端。如电路有自激现象,则增大C5和C14的容量。该功放输出功率适中,制作容易,可用作一般家庭的组合音响、卡拉OK设备或VCD机的声音播放。由于该功放电压增益高达40dB,输入灵敏度高,可省去前置放大器,而直接与卡拉OK机、VCD机、录像机等信号源连接。该功放也可用作家庭影院系统的环绕声功放。

二、40W功放
图2为采用高保真音响专用功放集成电路TDA1514构成的40W功率放大器,具有快速切断保护和延时静噪功能。电路输入阻抗20kΩ,输入灵敏度600mV,电压增益30dB,信噪比80dB。制作两套该功放,分别用于左、右声道,即可构成2×40W立体声功率放大器。

三、50W功放
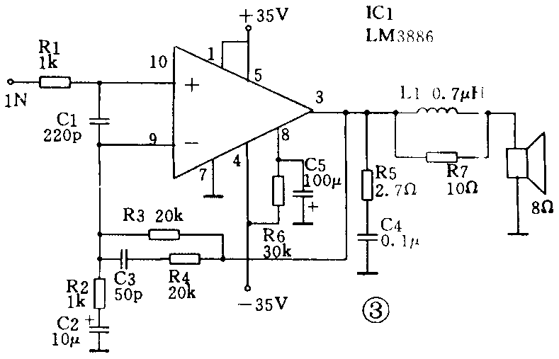
图3是50W高保真功率放大器,采用LM3886音频功放集成电路构成。电路输入阻抗20kΩ,输入灵敏度1000mV,电压增益26dB,信噪比110dB,输出连续平均功率50W,峰值功率可达135W,总静态电流50mA,电源电压范围±(30~40)V。L1用φ1.2mm漆包线在10Ω/5W金属膜电阻(R7)上平绕10匝后与该电阻并联即可。LM3886还具有静音功能,其第8脚为静音控制端,当第8脚开路(或接地)时为静音状态;第8脚通过30kΩ电阻接-35V时则无静音。调试时,如发现总静态电流过大,则是电路自激,可适当调节负反馈回路中的C3、R4或移相网络中的C4。

四、60W功放
图4是采用LM3875T构成的60W高保真功率放大器,具有外围电路简单、易于制作的特点。电路输入阻抗≥20kΩ,输入灵敏度1100mV,电压增益26dB,频响范围5Hz-100kHz,总失真5≤0.05%,信噪比114dB,电源电压范围±(20~40)V。L1绕制方法同图3电路。

五、70W功放
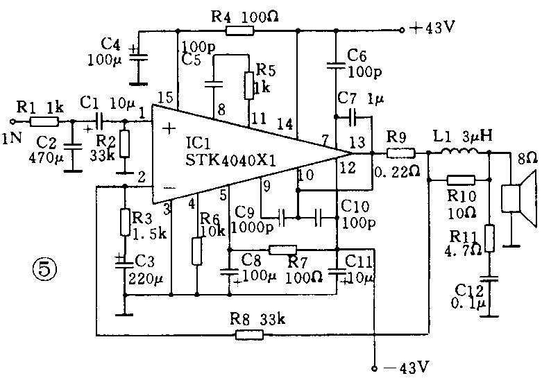
图5为采用STK4040X1 构成的音频功率放大器,额定输出功率70W,最大谐波失真0.008%,频响范围20Hz~20kHz(-3dB),电路输入阻抗30kΩ,输入灵敏度1000mV,电压增益27dB。L1可用φ1.2mm漆包线在φ10mm骨架上平绕15圈后脱胎而成。

六、双70W功放
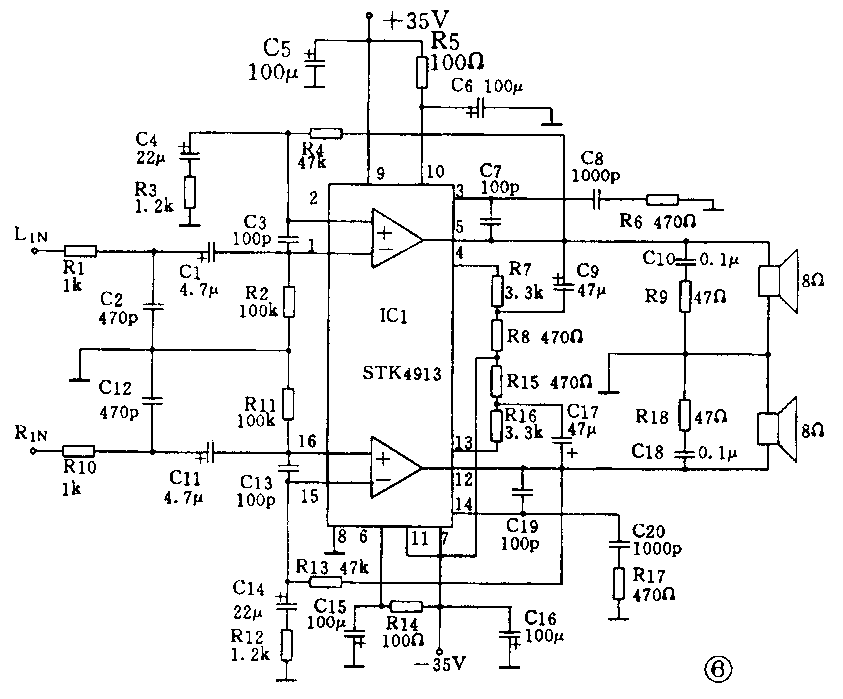
图6是由一块音响功率集成电路STK4973构成的2×70W双声道高保真功率放大器。STK4913内含两个性能指标完全一样的功率放大器,利用STK4913制作立体声功放,其左、右两声道的一致性很好。电路输入阻抗32kΩ,输入灵敏度600mV,电压增益32dB,频响范围10Hz~100kHz(±3dB),谐波失真<0.02%,电源电压范围±(25~35)V。

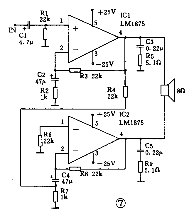
七、80W的BTL功放
图7是用两块高保真音响集成电路LM1875构成的BTL功率放大器。BTL功放的最大优点是可在较低的电源电压下,利用输出功率较小的功放集成电路获得较大的输出功率。在功放集成电路、负载阻抗和电源电压相同的情况下,BTL功放中负载(扬声器)上所获得的输出电压是普通功放的两倍,因此,BTL功放的输出功率是普通功放的4倍(P=U\(^{2}\)/R)。BTL功放的缺点是需多用一块功放集成电路。图7BTL功放电路,输出功率80W,电压增益26dB,输入灵敏度570mV。电路调整方法:(1)测电路静态电流,一般为50~80mA,若过大,则是电路自激,可适当调节移相网络中的电容器(C3、C5)的大小。也可在负反馈电阻(R3、R8)上并一小电容(10~50p),以消除高频自激,该电容越小越好,以免影响电路高频特性。(2)两块LM1875输出端(第4脚)对地交流电压应幅度相等、相位相反,如幅度不等,可适当调节R4阻值。如欲制作立体声BTL功放,再按图7制作另一声道即可。

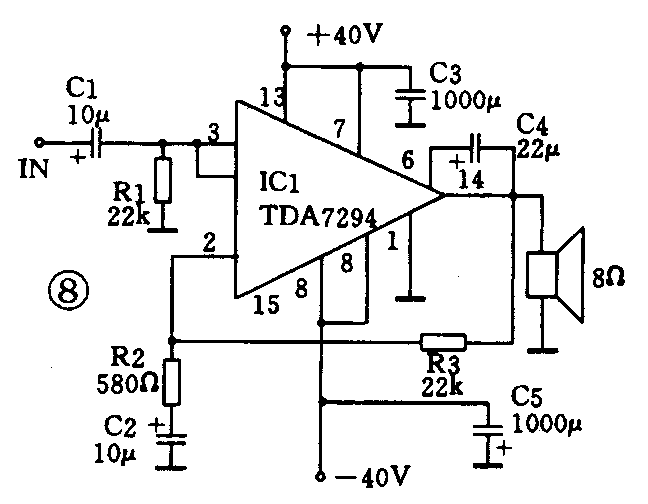
八、100W功放
图8是由单片音响功放集成电路TDA294构成的100W功率放大器。TDA7294内部包含前置运放、末级功放、温度保护、短路保护、静音控制等电路。末级采用双极DMOS功率晶体管,具有输出功率大、频带宽、失真小、通用性好等特点。该集成电路还具有完善的防过载、防短路和温度保护电路,在芯片温度过高时,自动切断音频信号,保护芯片不致烧毁。用TDA7294构成的功放电路,具有外围电路简单、易于制作的特点。电路输入阻抗20kΩ,输入灵敏度750mV,电压增益32dB,电源电压范围±(25~40)V,静态电流50mA。当负载阻抗为8Ω时输出功率100W;负载阻抗为4Ω时输出功率可达180W。实际制作时,TDA7294应加装足够的散热片。配套电源电路应有足够的容量。如需提高电路电压增益,可适当改变R3与R2的比值,电压增益A=20lg(R3/R2)(dB)。但不宜片面追求本级电压增益,过高的电压增益易引起电路自激,解决的办法是提高前置级的电压增益。

九、双100W功放
图9是2×100W双声道功率放大器,该电路采用了一块双声道高保真前置放大集成电路STK3048A和两块高保真功放集成电路STK6153及外围元器件组成。STK3048A内部包含两组独立的前置激励运放,具有极低的失真和足够的推动功率,每组运放的输入端均有正、反向钳位保护二极管。STK6153内部电路采用互补全对称结构,具有高速率、高精度、大功率、低噪声的优良特性。用STK3048A和STK6153组成的2×100W功放,具有动态范围大、瞬态响应快、音质纯净有力、失真和噪音极低、输出内阻更小、功率余量更大的特点。电路输入阻抗50kΩ,输入灵敏度280mV,总电压增益40dB,频率响应10Hz~100kHz,失真≤0.008%,电源电压范围±(30~50)V。VT1、VD1及VT2、VD6分别构成正、负电源有源滤波器,为前置电路STK3048A供电。VD2、VD3和VD4、VD5分别是两块STK6153的保护二极管。L1(或L2)可用φ1.5mm漆包线在φ10mm骨架上平绕15圈后脱胎而成。STK3048A和STK6153的外露散热片已与内电路电气绝缘。制作中STK6153应另加足够的散热片,STK3048A不必另加散热片。由于该电路输出功率较大,应注意电源部分要有足够的容量。

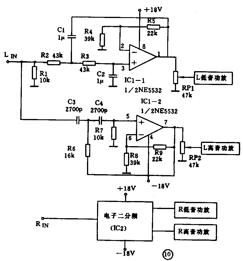
十、电子二分频功放
图10是电子二分频功率放大器。众所周知,高保真音箱是由低音和高音扬声器单元组成的(三分频音箱还有中音单元),必须使用分频器,使它们各放其声。传统的分频方法是在功放以后采用LC分频器,由于这种分频器处理的是功放输出的大电流信号,因此体积大、制作成本高、制作和调试困难;分频器插接在功放与扬声器之间,必然带来插入损耗,并且使功放的阻尼特性变差。在功放前采用电子分频器,则完全避免了功放后LC分频器的缺点,具有体积小、成本低、分频点准确、分频曲线理想、制作和调试简便的优点。由于功放输出可以直通扬声器,意味着其效率和阻尼特性都有明显提高。图10电路中,每一声道均采用一块NE5532双运放组成两个巴特沃斯二阶有源滤波器,其中,IC1-1是低通滤波器(LPF),IC1-2是高通滤波器(HPF),分频点为3.7kHz,电压增益A=1.6倍(3.9dB),品质因数Q=0.7电路输入阻抗10kΩ,输出阻抗<1kΩ。电位器RP1、RP2分别用于调节送往功放电路的低、高音的电平,应根据放音效果细心调节,使低、高音达到合适的比例,取得平衡的放音效果。RP1、RP2不可当作音量电位器用,其一经调好,即应固定不动。在电路总输入端前应设有音量电位器。(门宏)
