1.D/A转换电路
图1为CD唱机专用的数/模转换电路,它的作用是将光头读取并经数字信号处理后的音频串行数据,变换、分离成左、右两声道的模拟音频信号。本电路采用16位CMOS数字音频DAC电路LC7881作为核心器件(IC1),具有性价比高、外围电路简单的特点。LC7881为低功耗、单电源供电设计,在一个单片上制作有2个D/A变换通道,两通道为共模输出。电路最大变换频率可达176.4kHz,可支持4倍超取样。IC2采用双运放NE5532构成电压跟随器,起缓冲和隔离作用,以消除后续电路对LC7881的不良影响。L、R通道音频信号输出幅度约300~500mV。

2.音频滤波电路
图2为CD唱机专用的音频滤波电路,包括:有源低通滤波器、去加重电路和静噪电路。D/A转换电路输出的模拟音频信号中,含有超音频成分,易引起差拍干扰和交扰调制干扰,必须将其尽可能滤除。以L通道为例,运放IC1-l、C3、C5、R7、R9、Rll等组成有源低通滤波器,将超音频成分滤除。R通道亦相同。R5、C1和R6、C2分别为L、R通道去加重网络,当控制系统送来去加重控制信号时,VT1、VT2导通,去加重网络接入电路。VT3、VT4等构成静噪电路,并接于信号输出端,当CD机处于非放音工作状态时,控制系统送来的静噪控制信号使VT3、VT4导通,无任何噪声输出。电路输出电平约2V。

3.音量、音调、平衡电路
图3为采用LMl035组成的直流控制音量、音调、平衡电路,通过改变LMl035四个控制输入端(4、14、9、12脚)的直流电压来控制高音、低音、平衡、音量功能,只需使用单连电位器就可实现两个声道的同步控制。由于电位器仅控制直流电位,即使引线较长,不用屏蔽线也不致引入噪声。C4、C6、C7、C9为音调电容,决定音调频率特性。S为响度补偿开关,当S指向ON时,电路具有等响度补偿功能。高音控制范围(16kHz)±15dB;低音控制范围(40Hz)±15dB;平衡控制范围+l、-26dB;音量控制范围80dB。电路输入电阻30kΩ,输出电阻20Ω;最大输入电压2.5V,最大输出电压2.5V;通道分离度75dB;电源电压范围+(8~18)V。

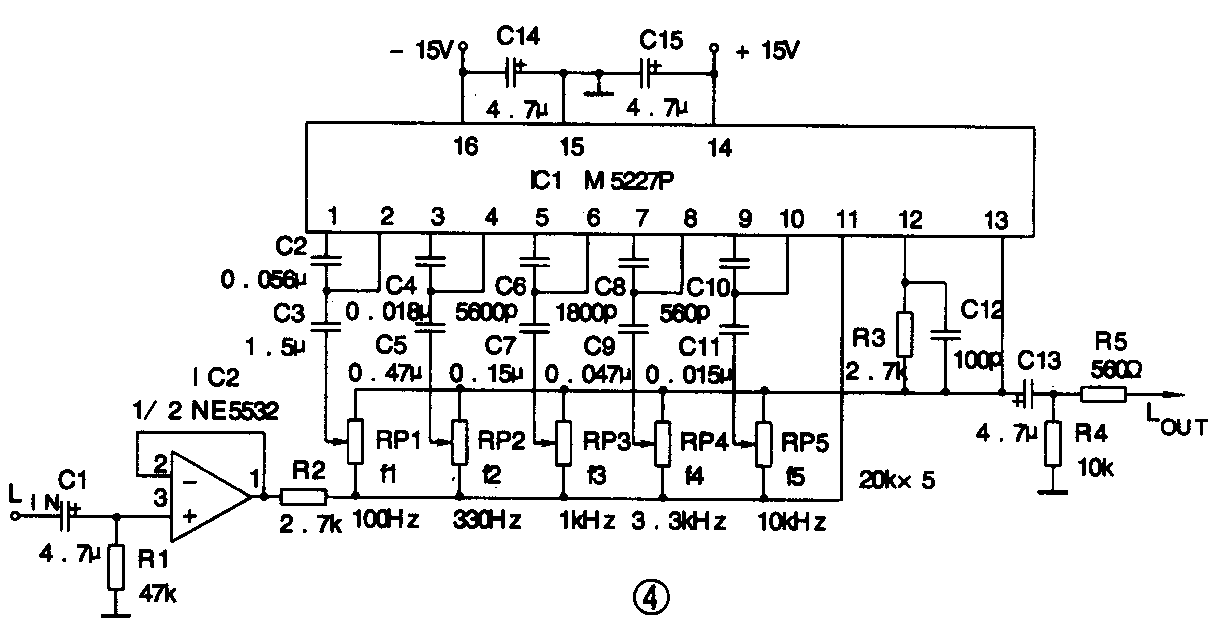
4.频率均衡电路
图4为五段图示式频率均衡电路,采用两块五频段专用均衡集成块M5227P可组成立体声均衡器,图中示出了L声道电路,R声道电路与之完全相同。由于采用了专用集成块,所以电路结构简单、无需调试。工作稳定性高、指标一致性好,并具有失真小、噪声低、输出电压大的特点。电容C2~Cll决定各频率点频率,应选用高品质电容器,改变其容量,可改变均衡频率。本电路设计均衡频率为:f1=100Hz,f2=330Hz,f3=1kHz,f4=3.3kHz,f5=l0kHz,各频率点控制范围±12dB,最大输出电压9.5V。IC2为电压跟随器,起隔离缓冲作用,也可选用其它型号的优质单或双运放,如NE5534、TL082等。

5.动态降噪电路
图5为用于音频系统的立体声动态降噪电路,其核心IC1采用专用动态降噪集成电路LMl894,具有适用范围宽、外围元件少、瞬态响应好、失真度低、降噪效果明显的优点。动态降噪系统是非互补性的,它不需要编码源,即不需要在信号录制时进行预处理,适用于所有磁带放音系统和FM广播接收系统等。动态降噪电路实质是一个可变带宽低通滤波器,它根据信号电平的大小,在l~30kHz的范围内自动调节频带带宽,从而达到降噪目的。电路输入阻抗26kΩ,电压增益0dB,最小带宽965Hz,最大带宽34kHz,有效降噪效果l0dB,通道分离度70dB,电源电压范围+(4.5~18)V。实际使用中,该电路应置于音调和音量控制电路之前。R1、R2是灵敏度电阻,用以调整噪声阈值,实际调试时,可放送一盘空白磁带,调整R1、R2,使磁带本底噪音刚被衰减至不明显即可。应注意,R1+R2的总阻值应为1kΩ,调整时,可先用1kΩ电位器代替R1和R2,调好后再换成固定电阻。

6.重低音电路
图6为双声道重低音模块TWH32构成的重低音电路,电路简洁,效果明显,将其插入到功放音量电位器之前,可使低于150Hz的低音得到大幅度提升。RP1、RP2分别为左、右声道低音增益调节电位器,改变RPl、RP2,即改变了电路对重低音的增益,阻值越小,增益越大,对重低音提升越强,最大提升量lldB(50Hz)。电源电压范围+(l5~40)V。输入、输出端在电路内部均已接有隔直流电容,使用中不必再加。

7.卡拉OK混响电路
图7是采用M6583lP构成的卡拉OK数字式混响电路。数字式混响器解决了模拟式混响器无法兼顾频响与延时时间的矛盾。与采用BBD器件的模拟式混响器相比,数字式混响器具有频响宽、失真小、噪声低、混响延时长的特点,使卡拉OK演唱效果更好。M65831P是新一代数码混响集成电路,内部包含有48kbit的静态存储器,可存储200ms的数字化音频信号,无需外接存储器,使用方便,并提高了可靠性,具有更好的信噪比和更小的失真度。M6583lP内部还包含输入低通滤波器、输出低通滤波器、A/D及D/A转换器、运放、时钟晶振和控制电路。信号自第23脚输入,从第13脚输出。输出信号一路经C13、R10送往后续电路;另一路经R5、RP1、C4反馈入输入端,形成混响效果。RP1是混响效果调节电位器。第4、5、6、7脚为延时时间控制端,对其进行二进制编码可改变延时时间,本电路设计为150ms左右。

8.卡拉OK消歌声电路
图8是用于卡拉OK的消歌声电路,其主要功能是消除立体声音源中的歌声而保留伴奏音乐,并将演唱者的歌声与伴奏音乐混合后送往音频放大电路。由于采用专用集成电路CXA1642,使得电路简单,制作容易,效果较好。电源电压范围+(1.8~10)V。

9.环绕声处理电路
图9为采用专用声效处理集成块C189lA构成的环绕声处理电路,它可将普通的立体声信号处理成新的左声道、右声道和环绕音三路输出信号;对于单声道信号,可产生模拟立体声效果。S为效果选择开关,该电路可以选择四种音色效果,即:模拟立体声、电影院效果、音乐厅效果、原音。RPl为效果调节电位器,调节RP1,可以改变模拟效果,实际使用中可根据各自喜好调节到适当位置。IC2为7805集成稳压块,为电路提供调节所需的+5V参考电压。该电路一般插入在前置放大器与功放之间,环绕音输出另增一功放。

10.变调电路
图10为用于卡拉OK的数字式变调电路,可将伴奏音乐信号升调4级或降调4级。变调电路的核心器件是数码变调集成电路M65847SP,具有变调范围宽、变调后音色基本不变、噪声低、频响宽的特点。音乐信号一路经R1、C5通滤彼器后从第22脚输入,进行变调处理;另一路经C2、R2、C3\R3、C4和第20、19脚内部电路组成的高通滤波器后,将音乐信号中的高音成分送到第16脚混合器中,与经变调处理的中、低频音乐信号混合,得到较为接近原音乐信号音色的变调音乐信号,由第15脚输出。S1、S2分别为升、降调控制按钮。发光二极管VD6、VD7分别为升、降调显示;VD1~VD4显示l~4级变调(升或降,需看VD6、VD7);VD5显示不变调状态。(门宏)
