感应式自动门铃无需在门外安装门铃按钮,而是依靠人体感应来触发,当门外来客时,门铃会自动发出“叮咚”的响声,通知主人开门。
工作原理
图1是感应式自动门铃的电路图。它主要由热释电式红外探测头BH9402和“叮咚”门铃声集成电路KD-253B组成。热释电式红外探测头是一种被动式红外检测器件,能以非接触方式检测出人体发出的红外辐射,将其转化为电信号输出,同时它能有效地抑制人体辐射波长以外的红外光和可见光的干扰。BH9402的内部结构如图2所示,它包括:热释电红外传感器、高输入阻抗运算放大器、双向鉴幅器、状态控制器、延迟时间定时器、封锁时间定时器和参考电源电路等。除热释电红外传感器外,其余主要电路均包含在一块BISS0001数模混合集成电路内。


“叮咚”门铃声集成电路KD-253B是专为门铃设计的,触发一次,可发出两声带余音的“叮咚”声,且余音长短和节奏快慢均可调节,有类似于金属碰击声之听感,它还能有效地防止因日光灯、电钻等干扰造成的误触发。
当有客人来到门前时,热释电传感器将检测到的人体辐射红外线转变为电信号,送入BISS0001进行两级放大、双向鉴幅等处理后,由其2脚输出高电平V0信号,触发KD-253B发出“叮咚”门铃声。
制作与调试
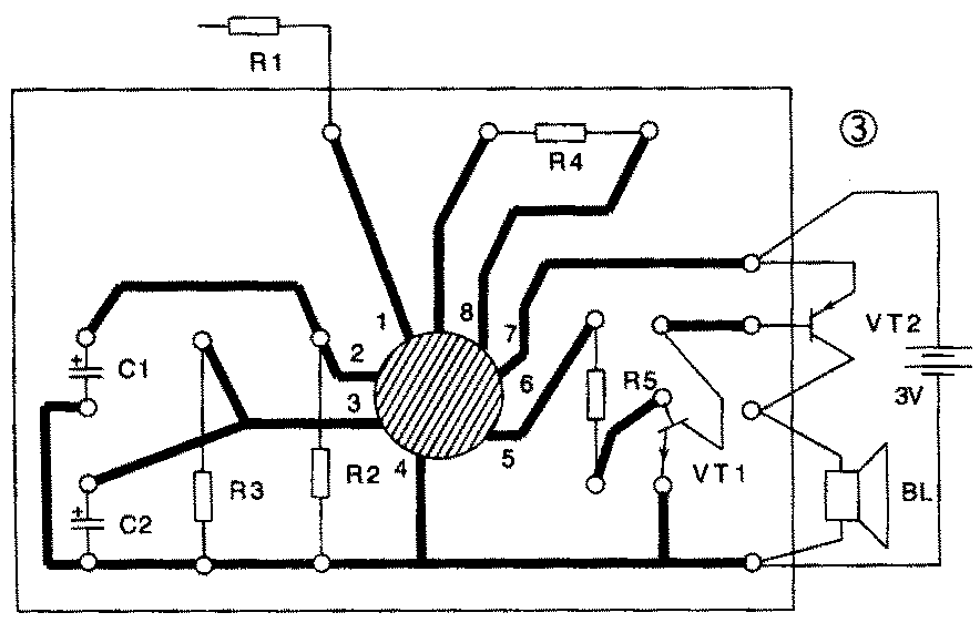
IC1选用热释电式红外探测头BH9402,IC2选用门铃声集成电路KD—253B,其余元件如图1所示。KD-253B为小印板软封装(如图3所示),其外围元件均可直接焊入,因此,无需另制电路板。

整机焊接完毕并检查无误后,即可接通电源进行调试:(1)先暂将IC2的1脚与R1断开,直接接+3V,此时扬声器应发出“叮咚”声。(2)调节R4,使“叮咚”声的节奏快慢适当。(3)调节R2、R3,使“叮咚”余音的长短符合自己的要求。(4)IC2的1脚恢复与R1相连接,人体接近IC1时,门铃应发声;人体远离IC1时,停止发声。至此,整机调试结束。
安装时,可将本门铃固定于门内约1.5m高度处,在门上开一小孔,使红外探测头BH9402的探测面对准小孔,以便通过小孔检测门外人体的红外辐射。也可将红外探测头BH9402固定在门外,其信号线和电源线接入门内与整机相连接。为避免门前常有行人经过而造成误触发,可将红外探测头的安装位置提高到1.8m以上(即超过人体高度),这时客人需在门外举一下手才能触发门铃发声。 (门宏)