(沙占友)随着数字万用表的日益普及,维修工作愈显重要。本文以国内较为流行的DT890系列产品为例,介绍3\(\frac{1}{2}\)位数字万用表常见故障的检修方法,这对其它型号数字万用表的检修也有参考价值。
DT890系列是3\(\frac{1}{2}\)位多功能数字万用表,主要有6种型号:DT890、DT890A、DT890B、DT890C、DT890C+和DT890D。它们在电路设计、芯片配置、性能指标、量程设置上互有差异,排在后面的型号,性能一般化于前者。
一、A/D转换器故障检修
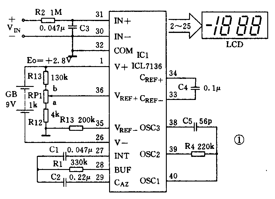
DT890、DT890A的A/D转换电路如图1所示。为降低仪表功耗,延长电池使用寿命,采用ICL7136型A/D转换器,其典型功耗仅为7106的1/18。基本量程设计为200mV。模拟输入端的高频滤波器由R2、C3构成,可滤除自外界引入的高频干扰。由R13、RP1、R12组成基准电压分压电路。RP1的调整电压范围是83.0mV~104.0mV,仔细调整多圈电位器RP1,使基准电压V\(_{REF+}\)=100.0mV。R1、C1分别为积分电阻与积分电容。C2是自动调零电容,C4是基准电容。时钟振荡器的外围元件是R4、C5。当R4=220kΩ、C5=56pF时,时钟频率f0≈40kHz,仪表测量速率约为2.5次/s。

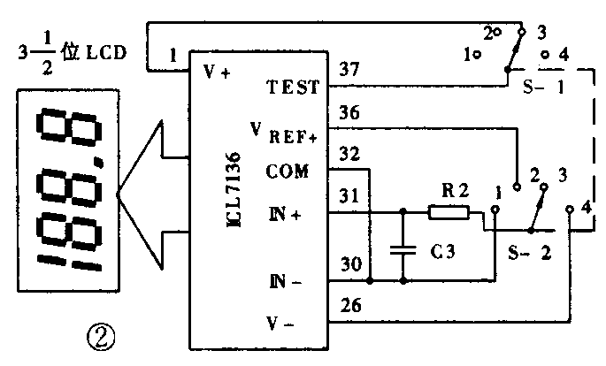
开机后无任何显示,应首先检查电源线路。常见故障有:9V叠层电池的插头接触不良或有锈斑,电源开关接触不良或引线断开,电池电量严重不足,电源滤波电容C20(33μF)严重漏电,IC1(ICL7136)损坏。A/D转换器是数字万用表的心脏,它一旦损坏后仪表即无法工作。对7136(或7106)进行功能检查,可判定A/D转换器的质量好坏。检查电路如图2所示,检查步骤如下:(1)检查零输入时的显示值。开关S(S-1、S-2拨至1挡,将7136的IN\(_{+}\)、IN-短接,使输入电压为零,仪表应显示“00.0”。(2)检查比例读数。S拨至2挡,将IN+与基准电压正端V\(_{REF}\)+短接,用基准电压代替输入电压,即VIN=V\(_{REF}\)=100.0mV,仪表应显示“100.0”。此步骤称作比例读数检查,它表示当VIN/V\(_{RER}\)=1时仪表的显示值。(3)检查液晶显示器全亮笔段。S拨至3挡,把测试端TEST与正电源端V+短接,使内部数字电路停止工作,仪表应显示“1888”,此时小数点消隐。此步检查时间应尽量短,以免影响液晶显示LCD的寿命。(4)检查负号显示及溢出显示。S拨至4挡,将IN\(_{+}\)与负电源端V-短接,使V\(_{IN}\)<0且|VIN|>200mV。仪表应显示-1(仅千位亮,其余位消隐)。

亦可在工作时用另一只数字万用表测量ICL7136的V+与COM之间的电压值,应为2.8±0.4V,第26脚对32脚电压应为-6.2±0.4V,第36脚对35脚(V\(_{REF}\)-)的电压应为100.0mV。若电压值均不正常,说明IC1已损坏,需要换ICL7136,亦可用7106代替。积分电阻与积分电容是关键外围元件,R1须用金属膜电阻;C1采用涤纶电容,有条件者可换成介质损耗小的聚丙烯电容。液晶显示器的常见故障是严重衰老,表面呈黑色,电极断裂,此时需要更换。若只是个别引线断裂,可用4H铅笔芯在LCD侧面断脚处涂几次,利用导电的石墨线将断脚接通。
二、DCV、DCA挡故障检修
1.DCV挡故障检修
DC890系列产品的DCV挡电路基本相同,以DT890C型为例,电路如图3所示。直流电压共设5挡:200mV、2V、20V、200V、1000V。SG是火花放电器,从输入端引入的浪涌电压可经过SG的火花间隙放电,实现过压保护。分压器由精密网络电阻R\(_{NA1}\)~RNA5构成,分压器总阻值为10MΩ。利用分压器可将1000V以下的直流电压衰减成200mV以下,供基本表测量用。在DT890、890A、890B、890C+和890D中,改由精密金属膜电阻构成分压器;而DT930F+中则使用一片总阻值9.999MΩ的精密网络电阻和一只100Ω金属膜电阻串联成分压器;除DT890C外,均省去SG。

DCV挡的常见故障包括:(1)量程转换开关触点磨损或簧片错位,造成输入电路不通而无法测量。可用尖嘴镊子修复簧片,并用无水酒精棉球擦净触点上的污垢。(2)分压电阻被烧断导致不能测量。更换分压电阻时必须注意,对3\(\frac{1}{2}\)位仪表应选误差为±0.5%的精密金属膜电阻,41;2位仪表则选±(0.1%~0.2%)的精密金属膜电阻,功率为0.5W即可。选配分压电阻时它们的阻值偏差应尽量保持一致(均为正或均为负)。(3)各挡测量误差明显增大,且按一定比例超差。通常是基准电压发生变化。调试时最好用一块4\(\frac{1}{2}\)位数字电压表监测,调整RP1使V\(_{REF}\)=100.0mV(对于DT930F系列则是1.0000V)。调好后用石腊封固RP1,防止受震动后触头移位。(4)仅个别挡误差增大时,只需更换相应的分压电阻。
2.DCA挡故障检修
DT890C的直流电流共设6挡,10A挡专用一个输入插孔,电路如图4所示。DCA挡的故障损坏率较高,大多是误测220V交流电压而造成的。常见故障有:(1)2A(有些表为0.2A)保险管烧毁,应当用相同规格的保险管更换。(2)过压保护用双向限幅二极管1N5400×2(DT890B中采用1N4001×2)损坏。(3)分流电阻烧毁。更换时需注意,900Ω、90Ω、9Ω电阻应采用1/4W、误差为±0.5%的金属膜电阻,0.9Ω、0.09Ω电阻可用自制的线绕电阻,0.01Ω电阻必须用φ1.0~φ1.5的锰铜丝电阻,后者可将10A挡扩展到20A,不能用粗铜丝代替锰铜丝,因为铜的电阻温度系数大,测大电流时发热后阻值会改变,使读数不准。DT890A、DT890B等只有5个电流挡,未设置2A挡。(未完待续)
