近年来,便携式电子产品发展神速,因此可充电的镍镉电池用量猛增。镍镉电池既怕过充又怕过放,因为过充、过放都会损害电池,影响使用寿命。镍镉电池的额定电压为1.2V,电池充足时可达1.4~1.45V,在放电时电压下降,但在1.2V时可长期放电,终止放电电压是1V,即到1V时应及时进行充电,其放电曲线如图1所示。

目前不少便携式电子产品还没有电池低电压指示电路,给用户带来了不便。这里介绍一种电路十分简单、耗电极省的低电压指示电路。
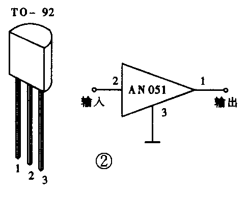
电压检测器AN051
AN051是通用电压检测器IC,是一种TO-92封装的三端器件,如图2所示。该器件根据不同的检测电压有不同的型号而形成系列。常用的检测电压有2.1V、2.95V、3.25V、4V、4.75V、5V等等。该器件输入电压大于检测电压时,其输出为高电平;当输入电压低于检测电压时,其输出为低电平。另外,该器件具有以下特点:耗电极省,工作电流仅为2.6μA(典型值);具有一定的滞后特性,其滞后电压为0.05×V\(_{DD}\);最大的输入电压为10V;工作温度范围为-20℃~+70℃;温度系数为±0.59mV/℃。

电池低电压检测电路
电池低电压检测电路是利用AN051的特性组成的,如图3所示。当电池电压低于设定的检测电压时,1脚输出低电平,VD点亮,表示电池应充电了。图中R为限流电阻。常用的镍镉电池数为2~5节。相应的检测电压及限流电阻R值如附表所示。这种电路在电池电压正常时,耗电约2μA,在电池低于检测电压时,耗电小于3mA。


此电路除用于镍镉电池作电池低电压指示外,也适用其它电池(如酸铅电池、碱性电池等)作电池低电压指示用。不同检测电压的AN051用AN051-×××表示,×××表示检测电压。例如检测电压为4.75V,则该器件为AN051-4.75。(方佩敏)