利用泡沫塑料和一些电子元器件,可以制作一个漂亮有趣的电子生日蛋糕。电子生日蛋糕中间有一支红蜡烛(红色发光二极管),当你对它吹气时,它会熄灭,同时“祝你生日快乐”的乐曲响起,并伴有五彩闪光,令人陶醉。
电路原理

图1是电子生日蛋糕电路图。IC1是音乐集成电路,用以产生“祝你生日快乐”的乐曲,并利用其触发极Vi作为整个电路的触发端。射随器VT1的作用是提高IC1的带负载能力。在VT1负载电阻R3上并联一滤波电容C1,其作用是将IC1输出的交流信号变为直流信号来控制后续电路。IC2-1、IC2-2和IC2-3、IC2-4分别构成两个门控多谐振荡器,当控制端(IC2-1的13脚、IC2-3的1脚)为低电平时,电路停振;当控制端为高电平时,电路起振,振荡周期T≈2.2R6·C2(或T≈2.2R10·C3),用以控制发光二极管VD2~VD11闪烁发光。
当IC1未被触发时,V\(_{0}\)=0,射随器负载电阻R3上电压UR3=0,一方面使VT2截止,发光二极管VD1(代表红蜡烛)亮;另一方面使两个门控多谐振荡器停振,VT3、VT4均截止,发光二极管VD2~VD11均不亮。当向红蜡烛吹气时,风动开关S1闭合,触发IC1,接在其输出端的压电蜂鸣片B发出“祝你生日快乐”的乐曲。输出信号经VT1射随、C1滤波后,在R3上形成一直流电压U\(_{R3}\)≈3V,一方面使VT2导通,VD1熄灭;另一方面使两个门控多谐振荡器起振,分别通过开关驱动管VT3、VT4使发光二极管VD2~VD11闪亮。由于两个门控多谐振荡器的振荡周期不一样,T1≈2.2R6·C2=247.5ms,T2≈2R10·C3=330ms,VD2~VD6与VD7~VD11又间隔安排,所以给人以群星闪烁的美感。当“祝你生日快乐”的乐曲演奏完毕时,V0=0,使VD2~VD11熄灭,而VD1亮,回到初始状态,这时可再次吹气触发IC1工作。
元器件选择
IC1选用KD9300系列“祝你生日快乐”音乐集成电路,它为小印板软封装,引脚见图2(a)。IC2选用CD4011,引脚如图2(b)。VT1~VT4选用S9014,或其它I\(_{CM}\)≥100mANPN硅管,β≥60即可。VD1选用φ10mm的大型红色发光二极管(代表红蜡烛),VD2~VD11可根据各自爱好选用各色发光二极管。B为压电陶瓷蜂鸣片,使用时应装上助声腔。S1是风动开关,可参见图3自制。


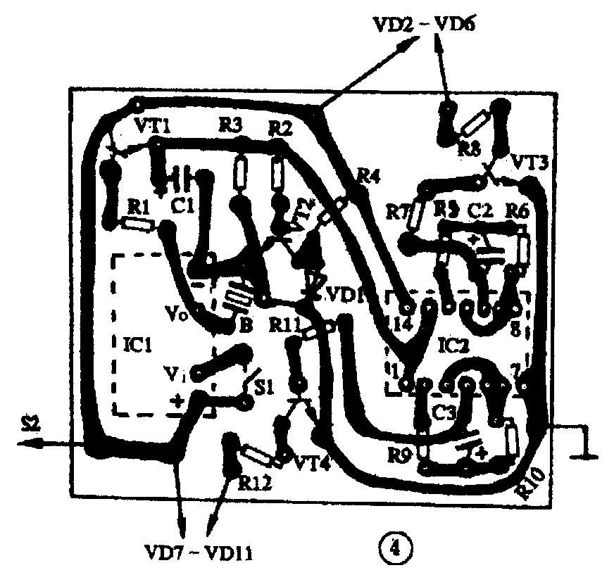
制作与调试

按图4制一电路板。风动开关S1结构如图3(a)所示,悬挂在支架上并粘有纸风叶的铜丝下端穿于铜丝环中,注意要四面悬空不与铜丝环相碰。制一红纸筒,上端固定VD1,中间开几个小孔以便可以吹动风叶,将其套在S1外面,这便是红蜡烛,如图3(b)所示。
用包装箱中的白色泡沫塑料制成蛋糕形状,将其底部挖空,以便安放电路板、电池等。红蜡烛固定在蛋糕上面的中间位置,VD2~VD6与VD7~VD11两组彩色发光二极管相间排成一圈固定在蛋糕四周,用导线将发光二极管、风动开关等连接好,将电路板、电池等放入蛋糕底部空槽中,再用一块泡沫塑料板盖住即可。电源开关S2可从侧面或底部伸出。完成后的电子生日蛋糕如题图所示。(门宏)
