在CMOS集成电路中,触发器电路是一种通用性很强的电路。按其电路特点可以有以下几种类型:1.D触发器;2.JK触发器;3.锁存触发器;4.施密特触发器。
下面我们以D触发器及施密特触发器为重点,谈谈触发器的主要特点及其典型应用电路。
D触发器 常用的D触发器是CD4O13,它是一个双D触发器,即它是一个在16脚的管壳中封装着两个D触发器,详见常用CMOS触发器电路功能及引脚排列表。为了正确地使用D触发器,必须熟悉它的逻辑功能,即应该了解它的逻辑真值表(见附表)。

从表中可知,CD4013的两个输出端Q和Q-通常是互为反相的,其输出状态受到数据端D、置位端S、复位端R和时钟脉冲CP极性4个条件的控制。正因为有这些特性,才使得我们能够设计不同形式的电路,灵活地来达到控制其输出状态的目的。乍一看来,逻辑真值表似乎使人眼花缭乱。但仔细分析一下,便可以看出,表1的六种输出状态可以概括为三种类型的功能:
l).前三种状态——数据传输及锁定功能。这时,R和S端应该接0电位(地)。当数据端的逻辑电位为0时,只要等到时钟脉冲的前沿(上升沿)一来到,CD4013的输出端Q就会变成0。当时钟脉冲的后沿(下降沿)来到时,便呈现锁定状态。此后,即使数据端上的逻辑电位为任何值,Q都保持0电位状态。
同样,当数据端上加着逻辑电位1时,时钟脉冲一来,Q端便变成1,时钟脉冲退走以后,Q=1的这个状态便继续保持下来。
2).状态四和五——置位/复位功能。通常叫RS触发功能。此时不管时钟脉冲加与不加,也不管D端的数据是甚么状态,只要S端为1而R端为0,则Q端必然为1,而当S=O,R=1时,Q便成为0。即S端和R端此时起着置位与复位的功能。
3).最后一种状态——当S和R都等于1时,不论时钟脉冲和D端的数据是甚么状态,CD4O13的两个输出端Q和Q-都处于逻辑1状态。这是一种不常使用的状态。但可以用来判断电路的连接是否有故障存在,因为通常是不会给S和R同时加上高电位的。
下面我们列举D触发器的几种典型电路,来说明它的用法。

图1是一个最简单的RS触发器电路,它是用双D触发器CD4013的一半构成的。A1和A2是两个按钮开关,触按一下A1,S得到+电位,CD4013的状态变成Q=1,Q-=0(请参看表1的逻辑关系),并将这种状态保持下去,直到按了A2为止。当按下按钮开关A2时,R得到+电位,于是CD4013转换为Q-=1,而Q=0。这个简单的RS触发器的最大特点是,它能消除机械开关的抖动,形成可靠的‘无毛刺’开关转换,同时它不需要一直保持机械开关的接触,这在设计电子控制电路时非常有用。因为它只需要电路给出一个瞬间的脉冲信号就能产生反应。

图2是用双D触发器构成的分频器电路。由于把D触发器的数据端D和Q-端连在一起,所以每当一个时钟脉冲来到时,D端的电位都必然要0,1,0,1,0,1……地反复交替,而其输出端的状态则是来一个脉冲变0,下一个脉冲变1。换句话说,就是每加入两个时钟信号,输出端就产生一个脉冲——把输入脉冲的频率减低了一倍,因此就成为一个分频器。图中把两个同样的分频器串联起来,因此从第二个分频器输出的脉冲,其频率就变成输入信号的1/4倍,即这个电路是一个二级分配器,它可以同时给出二分频和四分频的结果。

图3是用D触发器设计的单稳态触发电路。线路的特点是把Q端的电位状态通过RC延时网络和复位端R相连接,D端接+电位,S端接地。电路在没有触发信号时,R端的电位肯定是0,否则R端的高电位将迫使电路复位,其结果仍是Q=0,R=0。当触发信号加在时钟端CP时,Q将变成高电位,不过,当触发脉冲离去后,Q端的电压并不能持续保持高电位,因为Q端的高电位要通过电阻R2给电容C充电,同时也就使R端的电位不断升高。当R上的电压达到了能使D触发器复位的电平时,Q端的电位就下跌到0。此时,电容C又通过R及Q点进行放电。由此可见,单稳电路的主要作用是展宽窄脉冲,或使输入脉冲得到整形并产生延时效果。这对设计某些定时控制的应用电路是很有用的。例如延时开关,定时报警器等。
因为单稳触发器有着广泛的用途,所以有专用的单稳电路成品,如CD4O98,CD14528等。这些电路使用简单而其精密度较高,只要外加一个电阻和一个电容就能构成应用电路。图4是用单稳电路CD4O98构成的多谐振荡器,其特点是所形成的脉冲序列的占空比可以自由设定,这可以用选择Rx1、Cx1和Rx2 Cx2的数值大小的方法来决定。另外,CD4098设有两个触发端:脉冲上沿触发端(+TR)和下沿触发端(-TR)。当使用上沿触发端时,Q-端应该接在-TR上,而当使用下沿触发端时,Q端应该与+TR端相连接,才能使电路正常工作。

施密特触发器 是一种结构简单的触发器,常用的型号是CD40106。严格地讲,它是一种脉冲整形电路,它能把输入的起伏信号变成方波或矩形波脉冲,不过,也可以用它设计出多种简单实用的电子线路。
我们先来介绍施密特触发器的工作特点。CD40106中含有6个相同的施密特触发器,每个施密特触发器只有一个输入端和一个输出端。当在输入端加上一个脉冲或任何有变化的信号时,输出端就产生一个脉冲输出。而且如果给输入端提供一个偏置电压,还可以改变输出波形的脉宽和与输入信号间的延迟时间。这些特点就使得施密特触发器可以被设计成多种应用电路。

图5是用CD4O106六个触发器中的一个构成的脉冲整形电路,它的目的是把输入端来的“不规范”的波形整理成上下沿都很陡的方脉冲,以便除去包含在输入波形中的毛刺和切去幅度不足的部分。这个电路在信号净化中用得很多,例如光脉冲变换,到会人数计数,药丸计数,开门次数计数等等。

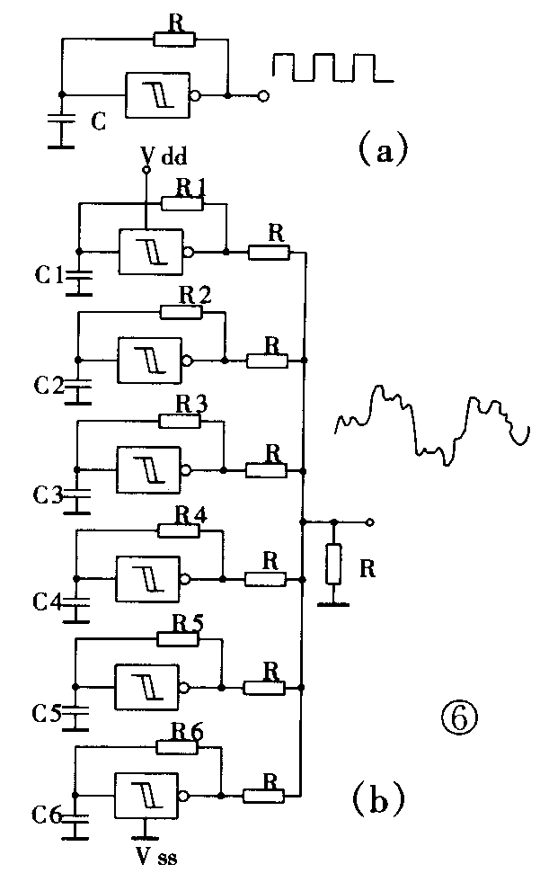
图6是用CD40106设计的随机波形发生器。它由6个频率不同的振荡器组成,每一个振荡器都有着同样的电路结构,只是所选用的电阻和电容的数值不同。从图中可以看出,每一个振荡器只需要两个外接元件。其振荡原理十分简单(见图6a):当输出端为高电位时,C通过R被施密特触发器输出的高电位充电,当电位上升到CD40106的触发电平时,输出端就转为低电平,于是C又通过R放电。放电到某一低电平时,触发器的输出端又变为高电平,于是产生持续不断的振荡过程。图6中,由于6个振荡器的频率各不相同,所以互相叠加的结果就形成了长时间不规则的输出波形。这个电路在设计模拟自然界随机的声光现象的电路时特别有用。
以上我们用简单的应用电路介绍了基本的触发器的工作方式。限于篇幅,对其它的一些触发器,不能一一举例说明。为了使读者在有机会时也能够使用其它的触发器电路来设计应用电路,下面简单说明一下某些触发器的功能特点。
CD4027——双JK触发器。它比双D触发器多了两个控制端:J和K,因此有连成更多的电路方式的可能,即可以连接成D触发器,也可以连接成RS触发器。不过在使用时一定要参考它的逻辑真值表,才能正确使用。
CD4042——4D锁存触发器。它里面封装着4个D触发器,可以把每个输入端的数据在时钟脉冲来到时给以锁定,并传送到输出端。为了能够选用时钟脉冲的上沿或下沿来工作,CD4042还设有一个极性控制端P。当P=0时,时钟脉冲的上沿起数据锁存作用,下沿起数据传输作用(即把输入数据传送到Q端和Q-端);当P=l时,则情况相反。
CD4O43——或非型RS触发器。它的内部包含4个RS触发器,可以锁存并传输数据。不同的是,它有一个公共的使能端EN。仅当使能端上加着逻辑电平1时,所有4个触发器才能工作,而当EN=0时,CD4043的输出端全部与外界绝缘,即成为高阻状态。所以,CD4043是一种三态器件。
CD4043——与非型RS触发器它和CD4043有着同样的作用,不过是用与非门电路构成的。也是一种三态器件。 CD4093——由与非门构成的施密特触发器。可以像普通与非门那样工作,也可以连接成施密特触发器来使用,此时,只要把与非门的一个输入端和Vdd相连,另一个输入端就可以接受输入信号,产生有延迟的方波输出。施密特触发器能够作的事情它都可以作,但它又比普通施密特触发器多了一个功能:可以用另一个输入端来控制触发器的工作与否。为此只要把另一个输入端接上控制信号即可,当控制信号为1时触发器才工作。例如用CD4093构成的多谐振荡器,就可以受某种信号的控制而用振荡的有无来反映控制信号的电位状态。也可以用一组编码脉冲去控制振荡器,使产生脉码调制输出。
CD40174——6D触发器。包含6个D触发器,有一个公共复0端和一个公共时钟端,来对6个触发器进行同步控制。像双D触发器一样,当时钟脉冲的上沿来到时传输数据,而当脉冲下沿来到时保持数据。(田进勤)