[编者按]本文除介绍一些基本电路的原理外,通过自己动手制作调试一台高、中频信号发生器,可加深对基础知识的理解,了解元、器件的性能,掌握磁性天线的绕制方法,熟悉信号发生器的调试过程。
信号发生器是一种常用电子仪器,拥有一台高、中频信号发生器,将会为您在调试、检修收音机等工作中提供极大的方便。本文介绍的高、中频信号发生器,电路简单,调试容易,工作可靠,频率稳定,使用方便,特别适合广大业余爱好者自制。其主要技术指标如下:①频率范围:450~1800kHz,包括:465kHz中频;535~1605kHz中波。②调制形式:调幅。③调制频率:800Hz。④输出方式:无线辐射。
一、电路原理
图1是高、中频信号发生器的方框图,图2是电路图。从图中可以看出,信号发生器由音频振荡电路、高频振荡电路、调制电路、电源等几部分组成。


(1)音频振荡电路:
晶体三极管VT1、音频变压器T、电容C1~C3、电阻R1~R3组成音频振荡电路。我们知道,一个振荡电路要正常工作,必须同时满足以下两个条件:①相位条件,即反馈到输入端的反馈电压U·f必须与原来的输入电压U·i同相(正反馈);②振幅条件,即反馈电压U·f必须与原输入电压U·i大小相等。下面我们具体分析一下图2中音频振荡电路是如何满足这两个条件的。
电路中,电容C2、C3、C8容量很大,对于交流信号来说相当于短路,电阻R3阻值较大,可视为开路,因此,我们可以画出音频振荡电路的交流等效图(图3a、b),可见,这是一个共基极电感三点式振荡器,它具有容易起振、振荡频率较稳定的特点。

电感三点式振荡器是利用自耦变压器把输出电压U·o反馈到输入端的、设晶体三极管VT1基极输入电压U·i初相用为0°,经VT1放大后,在其集电极产生与U·i反相(相差180°)的输出电压U·o,并在L、C1谐振回路中产生环流I·(图3b)。由于回路谐振时感抗XL等于容抗XC1,而XL=XL1+XL2,XL1<XC1,所以,C1、L1支路的电抗呈容抗性质,在C1、Ll支路内产生的回路电路I·超前输出电压U·o90°;I·在L1上产生的压降(即U·f)又超前I·90°,实现了反馈电压U·f与输入电压U·i同相,其矢量图见图3c。
R1、R2、R3是偏置电阻,为VT1提供合适的直流工作点,使VT1工作在放大区,具有一定的电压放大倍数,以保证反馈电压U·f在数值上与输入电压U·i相等,满足了振荡的振幅条件。
电感三点式振荡器振荡频率f由L、C1谐振回路决定,f=1/(2π\(\sqrt{LC1}\))(Hz)。在图2电路中,L是音频变压器T的初级线圈,电感量约为395mHz,振荡频率f=1/(2π395×10\(^{-}\)3×0.1×10-6=800Hz。振荡电压由音频变压器T的次级输出。
(2)高频振荡电路:
高频振荡电路由晶体三极管VT2、磁性天线W、电容C5~C7、电阻R5~R7组成,这是一个共基极变压器耦合振荡器,其正反馈是通过反馈线圈L2来实现的,它具有容易起振、输出振荡电压较大、调节频率方便的特点。
按照上节分析电感三点式振荡器的方法,我们可以画出变压器耦合振荡器的交流等效图(图4a、b)。设晶体三极管VT2基极输入电压U·i的初相角为0°,放大后经VT2集电极输出电压U·o则为180°(与U·i反相)。耦合变压器初级L1与次级L2的同名端如图4b所示,①端与③端同名,②端与④端同名,当L1上电压为①正②负时,耦合至L2的电压则为③正④负。由于L2的④端接VT2的基极而将③端接发射极,相对基极而言,L2上电压(即反馈电压U·f)与L1上电压(即输出电压U·o)相位相差180°,而与输入电压U·i同相,实现了正反馈,满足了振荡的相位条件。图4c是其矢量图。

R5、R6、R7是VT2的直流偏置电阻,为VT2建立合适的静态工作点,以保证振荡振幅条件。
变压器耦合振荡器的振荡频率由L1、C6组成的谐振回路决定,f=1/(2π\(\sqrt{L1C6}\))(Hz)。由于C6是可变电容器,因此转动C6就可以方便地改变振荡频率。振荡频率f的变化率与电容C6变化率的平方根成正比,图2电路中,C6为12~360P可变电容顺,其变化率△C=360/12=30,相应的频率变化率△f=△C≈5.5,完全可以满足覆盖450~180kHz频段(△f'=1800/450=4)的要求。
(3)调制原理:
未经调制的高频信号,被收音机接收并检波后,输出的是一直流,听不到任何声音。因此,在高、中频信号发生器中,必须用音频信号对高频进行调制,才能凭听觉识别收音机接收到的高、中频信号的情况。
把音频信号加到高频信号上去的过程叫做调制。无线电广播中的调制方式通常有两种:①调幅,高频信号的振幅随音频信号作相应的变化;②调频,高频信号的频率随音频信号作相应的变化(图5)。

因为几乎所有的中波广播都是调幅制的,所以我们要做的这个高、中频信号发生器也是调幅制的。请参看图1、图2,晶体三极管VT1等组成的音频振荡电路,产生800Hz的音频信号,由音频变压器T次级输出,经R4、C4耦合至VT2基极,使VT2基极电位随音频信号而变化。基极电位的变化,改变了VT2的瞬时工作点,使VT2的放大倍数也随音频信号而变化。由于VT2是高频振荡管,其放大倍数的变化必然使振荡幅度也产生相应的变化,最终使得高频信号的振幅随音频信号作相应的变化,实现了调幅。这时,信号发生器输出的就是被800Hz音频调制的高、中频调幅波,由磁性天线W直接辐射输出。在这里,VT2既是高频振荡元件,又是调制元件。R4是音频振荡信号输出限流电阻。
二、制作
(1)元器件选用:①晶体三极管VT1、VT2选用3DG6或其它f\(_{T}\)≥100MHz的NPN型硅高频管,要求β=40~100。②音频变压器T选用晶体管收音机用推挽输入变压器,将原次级作为初级、原初级作为次级。③可变电容器C6选用360P单连;也可将小型密封双连两连并联起来代用(图6)。④电阻全部选用小型碳膜或金属膜电阻。⑤C1、C5、C7、C9选用瓷片或聚脂电容;C2~C4以及C8选用耐压≥16V的小型电解电容器。⑥开关S可用任何小型或微型开关。⑦为缩小体积,电源采用9V层叠电池;电池扣可从为旧层叠电池中拆出,但需注意引线不能接错(图7)。


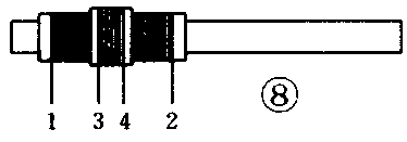
(2)绕制磁性天线:磁棒选用Ф10mm、长100mm左右的,用塑料或牛皮纸在磁棒上做一个可以来回滑动的骨架,用多股纱包线(也可用漆包线代)在骨架上密绕70圈作为L1,将两端线头固定好,开头为①端,结尾为②端。用宽15mm左右的牛皮纸条在Ll上绕l~2圈,然后在其上用同样的线接同样的方向密绕15圈作为L2,其开头为③端,结尾为④端(图8)。

(3)制作电路板:准备一块7×10.5cm\(^{2}\)的敷铜板,按图9刻制成印刷电路板,并打好各种安装孔。

(4)焊接与装配:对照图10按以下步骤进行:①将晶体三极管、电阻、电容直接焊在电路板铜箔面(偏置电阻R1与R5暂时不要焊入)。②将磁性天线、可变电容器、音频变压器、开关一一固定到电路板上,并将其引线焊入相应的位置。③将电池扣引线焊入电路板。④对照图2电路图认真进行一次校核,确认安装无误后便可通电调试了。

三、调试
(1)调整VT2静态工作点:①用一细导线将C6短路。②用100k电位器与5.1k电阻串联后焊入R5位置。③安上电池,打开电源开关。④用万用表“10V-”档测量R7上的电压,转动100k电位器,使R7上电压为0.5V,这时VT2集电极电流I\(_{C2}\)=0.5mA。⑤关闭电源开关,焊下100k电位器与5.1k电阻的串联体(注意不可再转动电位器轴),用万用表“R×1k”档测出串联体的总阻值,这就是R5的阻值,取一阻值相同或相近的电位焊入电路板即可。⑥拆除短路C6的细导线。
(2)调整VT1静态工作点:①将C1短路。②将100k电位器与5.1k电阻的串联体焊入R1位置。③打开电源开关。④调整100k电位器,使R3上电压为1V,这时VT1集电极电流I\(_{c1}\)=1mA。⑤关闭电源开关,焊下100k电位器与5.1k电阻的串联体,测出其阻值,用一阻值相同或相近的电阻焊入电路板。⑥拆除C1的短路线。
(3)检测电路是否起振:用万用表测量R3或R7上的电压,当短路C1或C6时,万用表指示应略变小,否则说明电路未起振。电路不起振的原因主要有:①音频变压器T或磁性天线W的引出线头接错;②可变电容器C6碰片;③晶体三极管VT1或VT2不良;④阻容元件有损坏。音频电路起振后,用耳机接在音频变压器T次级,应能听到“嘟——”的声音。
(4)校准高、中频频率刻度:将电路板放入机壳,在可变电容C6的轴上装上带指示箭头的旋扭,就可以进行频率度的校准工作了。下面介绍两种校准方法:
①用频率计校准:用一硬导线绕3~5圈后放在信号发生器磁棒旁边作为接收天线,硬导线的两端接频率计输入端(图11)。打开电源开关,转动C6,振荡频率应能覆盖450~1800kHz范围,如低端频率偏高,可将磁性天线线圈向磁棒中间移动;如高端频率偏低,则将天线线圈向磁棒顶端移动。频率覆盖符合要求后,用蜡将天线线圈位置固定住,并根据频率计的指示画出465kHz以及535~1605kHz中各频率刻度。

②没有频率计时,可按下述方法校准:找一台频率刻度准确的中、高档超外差中波收音机,打开电源开关,调谐旋钮调到1600kHz附近,放在信号发生器旁边接收信号。然后打开信号发生器电源开关,将可变电容C6旋出3~5°,来回移动天线线圈在磁棒上的位置(图12),直至收音机中发出清晰的800Hz“嘟——”声。这时,转动收音机的调谐旋钮,收到的“嘟——”声应不变,说明信号发生器发出的是465kHz中频,未经变频而直接窜入了收音机的中放级。当收音机调到930kHz时,“嘟——”声应变大,因为收音机接收到了465kHz的二次谐波。465kHz校准后,用蜡固定好天线线圈位置,并画好刻度。再逐渐旋出C6,并根据收音机接收到“嘟——”声时的频率指示,画出535~1605kHz各频率刻度。图13是整机外形图。


四、使用
我们制作的这个高、中频信号发生器,是用无线辐射方式输出信号的,因此使用极为方便。使用中可以用改变信号发生器与收音机的相对位置和距离的方法来调节信号强弱,当信号发生器与收音机两者的磁性天线互相平行时信号较强,互相垂直时信号较弱;当距离近时信号较强,距离远时信号较弱。(门宏)