(元秀华)目前,卫星电视节目内容不断丰富,但多数卫星电视信号采用NTSC制传输,如我国中央电视台第4套节目通过“亚洲一号”卫星也是以NTSC制式传输。而很多地面卫星接收站是按PAL制电视信号设计,我国广大家庭拥有的电视机大都只能接收PAL制电视信号。因此,须将NTSC制卫星电视信号转换成PAL制电视信号才能供广大用户收看。本文介绍一种将NTSC制电信号转换为PAL制电视信号的制式转换器。该转换器电路简单,制做容易,如调试得当,可获得满意效果。
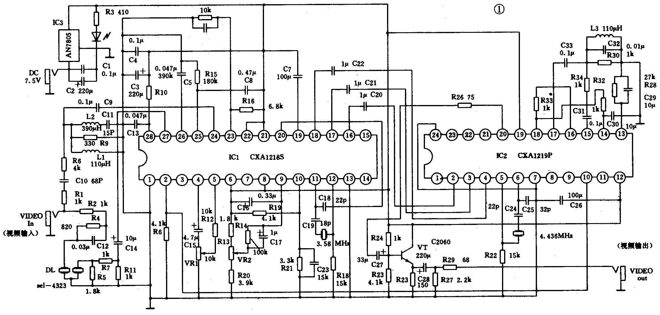
转换器采用两片中规模集成电路,见图1。IC1实现对NTSC制视频信号的解码以及将NTSC制转换为PAL制信号;IC2则对IC1输出的色差信号进行编码,使其成为PAL制复合视频信号。图1中三极管VT用作缓冲,IC3为三端稳压器。电路的工作原理如下:

NTSC制视频信号从CK1输入,一路经R1、C10、R9及由L1、R8和L2、C9组成的陷波器分离出色度信号(C信号),送至IC1的;另一路通过R2、DL等元件分离出亮度(Y)信号,经C14送至IC1的视频输入端。Y信号经IC1内部电路放大、箝位、再由内部缓冲器输出;而C信号则和Y信号一起经IC1内部电路处理,解调并转换为PAL制色差信号,分别由脚和脚输出R-Y、B-Y色差信号。IC1的脚和脚外接3.58MHz晶振构成压控振荡器,提供解码及转换用基准信号。②脚输出同步信号;④脚和⑤脚为自动消色和色同步延迟调整;⑨脚为自动相位控制调整;⑩脚为彩色调整;分别为自动色度控制、消隐脉冲和同步分离的时间常数调整,均接成固定元件方式,不需调整。IC1的⑥脚、⑧脚及为电源电压端。
从IC1的、及输出的R-Y、B-Y色差信号及Y信号分别经C20、C21及C22送至IC2的②、③与④脚,经IC2内部箝位后,与⑤脚⑥脚及外接4.43MHz晶振产生的副载波及⑩脚输入的同步信号一起送至IC2内部调制,由脚输出色度信号,脚输出亮度信号,再分别送入IC2的脚和进行混频,最后由输出复合视频信号,送至三极管VT缓冲后输出。图1中C31、R34、L3、C32及R30组成的4.43MHz带通滤波器。由CK2输出的视频信号可直接送主PAL制电视接收机的视频输入端,也可经射频调制器调制后送至电视机的天线输入端口(见图2)可根据需要设定。射频调制器种类较多,此外不再赘述。
