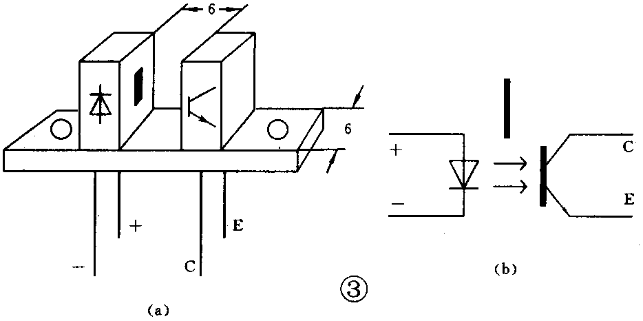
本文介绍三种红外线收发器件,其共同特点是发射头和接收头共集一体,依靠近距离反射或遮断光路产生控制信号,达到各种应用目的。这三种器件分别是TLP947型反射式微型发射接收头(见图1)、超微型反射式发射接收头(见图2)及通用红外线光电开关(见图3)。图中同时画出了它们的外形、引脚排列、及代表符号。



结构特点
1.TLP947有4个引脚。其中红外线发射二极管及接收三极管是可以分别接入具体设计的电路去应用的。这给设计上带来的灵活性较大,便于设计特殊应用电路。其发射窗和接收窗安装在塑料封壳的顶部,其间被不透光的挡片隔开,使只有当距外壳顶部不远的空间有某种反光物体靠近时,发射头射出的红外光才能被反射到接收头上而起作用。所以使用该器件时一定要注意安装方位。
2.超微型红外发射接收头有3个引脚。从图2的符号中可以看出,该器件中发射二极管的负极和接收三极管的发射极(E)是在器件内部接妥后单线引出的。这给使用上带来方便,因为一般应用中这两个极总是都要接地的。超微型收发头的光作用面处于器件的正面,即图2(a)中箭头所指的那个面,使用时应该注意。
3.通用红外光电开关不是反射式结构,而是把发射头和接收头相对安置,使得从发射头射来的红外线总能直接射到接收头上,只有当两者中间有不透光的物体停留或经过遮断光路时,接收头才改变其状态,从而使被控电路动作。由于通用红外开关已设计成整体形式,便于进行规范性安装和牢固定位,所以适用于较精密的位移检测及控制。
上述三种光电头在各种检测装置上安装十分方便,见图4,其中(a)和(b)是转速计信号检测,如转盘开孔的,适用上述第三种光电头;转盘上有黑白条纹的,适用第一或第二种反射式光电头。当每一个孔或每一行白纹经过,光电头输出一个开关信号。图4(c)是平衡指示器检测装置,其原理与图4(a)(b)相同,当杠杆平衡时,光电头受遮挡(或受光反射),电路将输出电信号。图4(d)是物体计数探测装置。

各种检测装置中光电头所产生的电信号需要经过整形、放大后才能驱动执行机构,如指示灯、报警器、继电器等。
几种典型应用电路
一、转速计电路
见图5。光电头输出的检测信号,经过缓冲器或触发器加以整形后才送至频率计。

二、声光报警器
见图6。光电头受光遮挡后产生信号,经触发器驱动声光讯响电路,指示灯亮,扬声器发出报警声。上述电路中发射部分采用简单的直流供电,扰干扰能力差,光电头应安装在遮光盒内,以避免外界光源干扰。

三、采用专用集成电路的光电控制电路
见图7。发射部分由NE555提供约为20kHz的方波脉冲给发射管,而CX20106具有鉴频功能,即当鉴别出收到的电信号是包含有20kHz的脉冲时,它能驱动执行机构工作。这样能排除外界光的干扰。此电路适用在要求较高的设备上工作。

四.过零型交流光电开关
见图8。电路的核心是过零型触发集成电路TWH9205。此光电开关可直接使用220V供电,能保证可控硅在过零时才触发或关断,其驱动能力特别强,用户可根据负载功率不同,选用3A~200A的双向可控硅。平时,接收管受光照时(或被反射时)双向可控硅在过零时导通,直接驱动交流设备;当接收管被遮挡(或无反射物时)可控硅在过零处关断。

一体化光电头的使用面很广,在录像机磁带头尾检测电路、影印机、电动打字机、传真机限位电路、冲床安全保护电路、电子称、电脑记忆装置中得到广泛应用。由于这种光电头体积小、能检测小至1mm的物体,因此特别适用小体积物体(如药丸之类)的自动检测和精度要求较高的限位装置上应用,这里就不一一介绍。(田进勤 蔡凡弟)