当您一声令下,这辆声控坦克便会立即出动,边行进边搜索,炮塔旋转,炮声隆隆,火光闪闪,遇到障碍物会自动转向或后退。搜索完毕后,它将静悄悄地隐蔽待命,等待您第二次下令……。声控坦克不象有线遥控那样拖着一条长长的尾巴,也不象无线遥控那样复杂,您只需在数米外发声(口令或击掌等声响)即可操纵,因此,特别适合作婴幼儿的玩具——孩子一叫,坦克立即出动。
电路工作原理
控制电路原理框图如图1所示,当您发出口令后,声音信号由声电转换器件接收并转变为相应的电信号,经音频放大器放大,触发单稳态触发器翻转为暂稳态。单稳态触发器输出信号经射极跟随器电流放大后,使电子开关导通,直流电机转动,坦克开动;同时,单稳态触发器输出信号还反馈控制音频放大器,使其在坦克开动过程中不工作,有效防止杂声干扰。

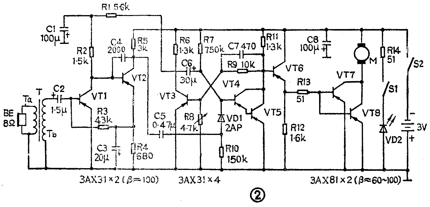
图2是电路图。声音信号由8Ω耳塞机BE接收并转变为电信号,由变压器T进行阻抗变换(由8Ω低阻变换为高阻,以与晶体管输入阻抗相匹配)并升压后,经C2耦合至VT1、VT2进行放大。晶体管VT1、VT2组成直接耦合双管音频放大器,其特点是:①电压增益高,②工作点稳定度高,③无须调整偏流,④电路简单。VT1的基极偏流电源不是取自电源电压,而是通过R3取自VT2的发射极电压。这就构成了二级直流负反馈,使整个电路工作点更加稳定。该电路一经设计完毕,两管工作点即已固定,因此无须调整偏流。本音频放大器工作点设计为Ic1≈0.4mA,Ic2≈0.6mA。

VT3、VT4、VT5等构成单稳态触发器,其中VT4、VT5接成达林顿复合管,目的是提高基极输入阻抗和放大倍数,使基极电阻R7可取较大阻值,以满足延时(即输出脉宽tu)的要求。稳态时,VT3截止,VT4,VT5导通,C6上充满电为左负右正。音频放大器输出信号经C5、R10微分、VD1隔离二极管削去负脉冲后,正脉冲加至VT4基极,使VT4、VT5截止,Vc4≈-3V,Vb3≈-3V,VT3导通。电路翻转为暂稳态。这时,C6经R7、电源GB、VT3放电并反方向充电,当C6右端电位达到VT4导通阀值时,VT4、VT5导通,Vc4≈0V,Vb3≈0V,VT3截止,电路翻转回复为稳态,直至下一触发脉冲到来。VT3、VT4集电极分别输出反相方波,暂态输出脉宽(即延时时间)tu≈0.7R7·C6,本电路中,tu≈15秒。稳态时,VT4集电极为0电位,射随器VT6发射极也为0电位,电子开关VT7、VT8截止,电机不工作;暂态时,VT4集电极≈-3V,经VT6,R13使VT7、VT8导通,电机工作。电子开关采用VT7与VT8两管并联,使最大工作电流和最大功率均增加为2倍,阻抗下降为1/2,以满足电机工作需要。
再说一下单稳态触发器输出信号反馈控制音频放大器的问题。如果没有这个反馈,音频放大器始终处于工作状态,当单稳态触发器回复稳态、电子开关刚关闭的瞬间,由于惯性坦克并不能瞬间停止不动,而其运动过程中不断发出声响(枪炮声)和产生机械震动,这些声响和震动被耳塞机BE拾取经音频放大器放大后,又将立即触发单稳态触发器翻转,电子开关导通,结果是造成坦克始终停不下来。为此,将音频放大器第一管VT1的集电极供电电路经R1改接到单稳态触发器VT3管的集电极,而不是直接接负电源。当单稳态触发器处于稳态时,VT3截止,VT3集电极电位≈-3V,VT1正常工作。当处于暂稳态时,VT3导通,VT3集电极为0V,VT1截止不工作。当由暂稳态回复为稳态的瞬间,VT3集电极由0V变为-3V,经R1给C1充电,C1负端电位开始由0V缓慢向-3V变化,其时间常数τ≈R1C1,VT1因无足够的集电极电压仍不工作,保证坦克能稳定停下; 经过一定时间后,C1充满电,C1负端电位≈-3V,VT1开始正常工作,这时,声响信号才得以放大通过去触发单稳态触发器。
机械部分改制
选购一辆具有回转前轮的玩具坦克,这种坦克前进中遇到阻挡会自动转向或后退。如果是以发条为动力的,则将发条拆除,装入一玩具直流电机,采用蜗杆蜗轮减速,制法如图3。如果是电动的,则省去这一步改装。在炮管顶端装上红色发光二极管VD2,其引线通过两个弹性簧片与安装于炮塔下面的圆形电路板接触(图4),这就是断续开关S1,当炮塔旋转时,S1时通时断,VD2闪亮。利用原有的机械发声装置作为枪炮声。


元器件选择、安装及调试
为了充分利用3V电源电压,晶体管均选用3AX型锗管,VT、VT2选用3AX31,β≈100;VT3~VT6选用3AX31,VT7、VT8选用3AX81,均β=60~100。VD1为2AP或2AK型二极管。BE是普通8Ω耳塞机。T用晶体管收音机输出变压器代用,将其初、欢级倒置,即:原次级作为Ta;原初级作为Tb,中心抽头悬空不用。M是3V直流玩具电机。
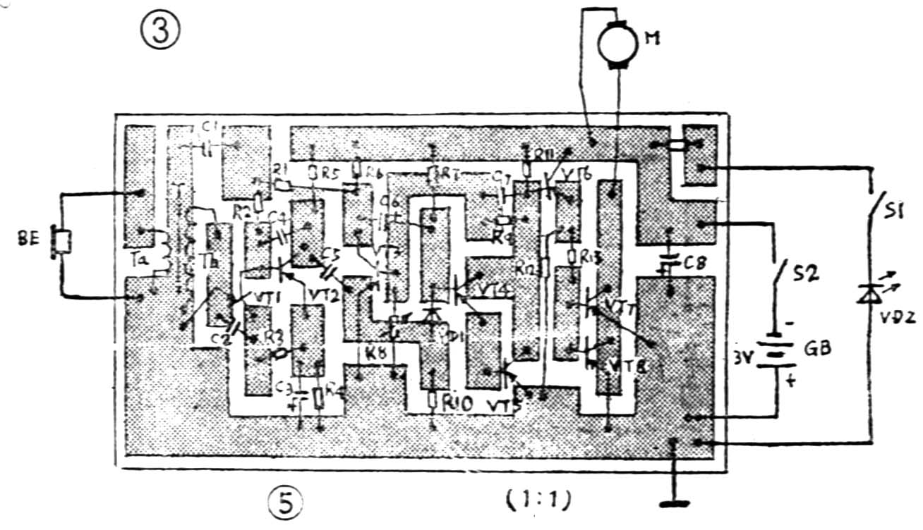
印刷电路板如图5,元件安装完毕后,将其固定在坦克内空隙处。作拾音器的8Ω耳塞机置于坦克内顶部,口向上,这样可接受四面来声,无方向性。

R8是一可调电阻,它的阻值决定了整个控制电路的灵敏度,R8阻值增大,则灵敏度提高;R8阻值减小,则灵敏度降低。(门宏)