如何正确迅速地识别晶体管的极性和管脚,初学者往往缺乏经验。本文介绍的自动判测仪,能够判断晶体管的极性,即该管是NPN型还是PNP型;能够自动识别并指示出晶体管的b、c、e三个管脚;能够测量晶体管的电流放大倍数β值。它是广大初学者的好帮手。
电路原理
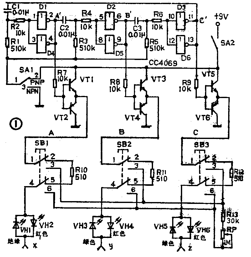
图1是自动判测仪的电路图。上半部分是旋转电源。设置旋转电源的目的是为了实现检测晶体管无论怎样插入管座,都能自动判别并指示b、c。e极。先接通SA2,当SA1置于“PNP”档时,A、B、C三点电位为“两负一正”并不断变化排列方式;当SA1置于“NPN”档时,出现“两正一负”的旋转电位。旋转电源变化频率约50~100Hz。D1、D2、D3分别与D4、D5、D6并联,以提高驱动能力;C1R1、C2R3、C3R5组成三组微分电路;R2、R4、R6是保护电阻,防止CMOS非门因过流而损坏;晶体管VT1与VT2、VT3与VT4、VT5与VT6组成三对互补射随器,进一步提高了旋转电源A、B、C三端的电流驱动能力;SA1是导电极性选择开关,兼指示被测管极性;SA2是电源开关。图1下半部分是判测电路。R10、R11、R12是限流电阻;VH1与VH2、VH3与VH4、VH5与VH6是三对显示管脚的发光二极管,每对由红色和绿色二个发光管反向并联组成;按钮SB1、SB2、SB3和电阻R13是判别c、e极用的;电位器RP是测β值用的;x、y、z组成被测管插座。工作时,旋转电源三个输出端输出的脉冲串分别经按钮SB1、SB2、SB3、限流电阻R10、R11、R12和三个发光二极管对加至被测管的三个管脚,完成自动判测。

元器件选择、制作和调试
晶体管VT1、VT3、VT5选用3DK型,VT2,VT4、VT6选用3CK型,要求各管β值基本相同且β>40。发光二极管选用方形的,VH1、VH3、VH5为绿色,VH2、VH4、VH6为红色。
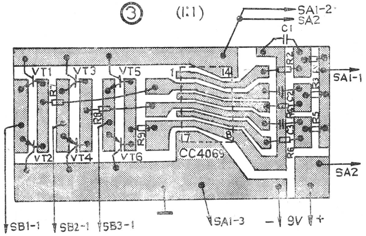
自动判测仪面板及外形如图2,印刷电路板见图3。元器件直接焊在铜箔面,免去打孔。发光二极管和开关、按钮、电位器安装在面板上,R1~R13直接焊在按钮或电位器上。焊接CMOS集成电路时间不易过久,且电烙铁应接地线,或将电烙铁电源插头暂时拔下,利用余热焊接,以防损坏电路。


元器件焊接安装完毕,检查无误后,便可接通电源进行调试。步骤和方法如下:
①检查旋转电源电路是否起振。用一耳机一端接地,另一端经10~30k电阻和10uF电容器分别去触磁A、B、C三端,应能听到50~100Hz的声响,否则电路未起振。如电路不起振,可适当增减C1、C2、C3中的一到两个电容值,或者增减R1、R3、R5中的一到两个电阻值,即可解决。
②调整发光二极管亮度。插入被测管,如发光二极管亮度不足,可减小R10、R11、R12。差别出则增大R13;如c、c极发光管全灭,则减小R13。
③绘制β值刻度。可用一些已知β值的晶体管实测校准。
使用方法步骤
①准备:将β旋钮回归零位,打开电源。
②判别被测管极性:将被测管插入x、y、z插座(三个管脚任意插入),拨动SA1开关,使一管脚亮红(或绿)色发光管,另二管脚红、绿发光管都亮,此时SA1所指示即为该被测管的导电极性(NPN或PNP型)。
③判别b、c、e极:亮一个红色(NPN管)或者绿色(PNP管)发光管的管脚是基极b;按下插座b极下面的按钮(此时b极发光管灭),另两个管脚中:对于NPN型管,亮红色发光管的是集电极c,亮绿色发光管的是发射极e;对于PNP管则正好相反,即亮绿色发光管的是c极,亮红色发光管的是e极。
④测β值:继续按住b极下面的按钮,旋转电位器,至c极发光管刚刚熄灭(或仅剩一个光点,可根据习惯自定,并在此基础上标出β刻度值),此时电位器旋钮所指示即为该被测管的β值。
⑤如果出现不符合上述第②③④点的情况,则该被测管是坏管。(门宏)