早期生产的电子管黑白电视机,大部分只有5个接收频道。随着我国电视事业的发展,电视广播的发射频道已超过了5个。怎样才能使只有5个接收频道的电视机,如上海104、111型,北京牌820、823型等等,也能收看6~12频道内的电视节目呢?
为解决这个问题,本刊曾在1974年介绍过附加频道转换器。现在再介绍对高频头本身加以简单改装,使其能接收6~12频道的电视节目的方法。下面按高频头所用转换开关结构的不同,分别介绍如下:
鼓形开关高频头的改装
上面提到的几种电视机,它们的高频头使用鼓形转换开关,有的只有5个频道线圈,有的在6~8的位置上装有接收调频广播用的线圈,9~12位置空闲。我们充分利用这些空闲位置,加装相应的电感线圈,增加接收频道。
首先将高频头拆下。注意:有的电视机高频头后面装有电源转换开关。拆卸高频头时,先要拆下电源转换开关,不要焊下引线,要将螺丝拧下,拆下后再把开关组装起来,记住各自的相应位置,并将其绝缘起来,留在电视机内。然后取出高频头,拆去下盖和侧盖。用螺丝刀拨开弹片,取下准备改绕的线圈架(见图1)。再根据需要接收的频道重新绕制线圈,装在线圈架上。6~12各频道线圈参数见表1。


现以改装成接收第8频道电视信号为例介绍具体改制方法。先按照表1所列第8频道各线圈参数重绕各个线圈。可找一个电位器杆(直径约6毫米),做骨架,绕制L\(_{2}\)、L3、L\(_{4}\)、L5各线圈,其中L\(_{2}\)L3要反向绕制。再用一般红蓝铅笔杆(直径约8毫米)做骨架绕制L\(_{1}\)线圈。然后将L1套在L\(_{2}\)上,仍按照原来各线圈头焊接的位置,将线圈焊接在线圈架上。由于调整用的铜心较短,线圈要靠近铜心,所以线圈引线头要留长些。各线圈焊接好后,安装到鼓形开关上。将其余用不着的各线圈架拆下来,把高频头暂放在机外,再把八脚接线插头插入机内插座上,接好天线,等到有电视广播时,便可进行调整。打开电源开关进行调整时,要先将音量、对比度控制旋钮开到最大,微调旋钮调到中间位置,再用竹镊拨动本振线圈L5的线匝间距,使得能收到微弱的伴音或图象信号。然后用一只手持竹镊将线圈L\(_{3}\)、L4相邻的各2圈捏到一起,使其耦合紧些,用另一只手持螺丝刀拨动L\(_{3}\)、L4的外端,这样可以调出较强的图象信号。然后再调线圈L\(_{2}\)或铜心,使收到的图象信号更强。若调不出图象和伴音,说明本振未起振,可能是因为高频头内电子管衰老或线圈接触点氧化、尘土太多,接触电阻增大所致、应进行清理、更换元件。有的还要对电路进行简单改动,例如820型机的高频头(图2),可将本振级电子管板极上连接的电容C12(10p)进行短路,以加强其反馈,使本振起振后,再进行调整。

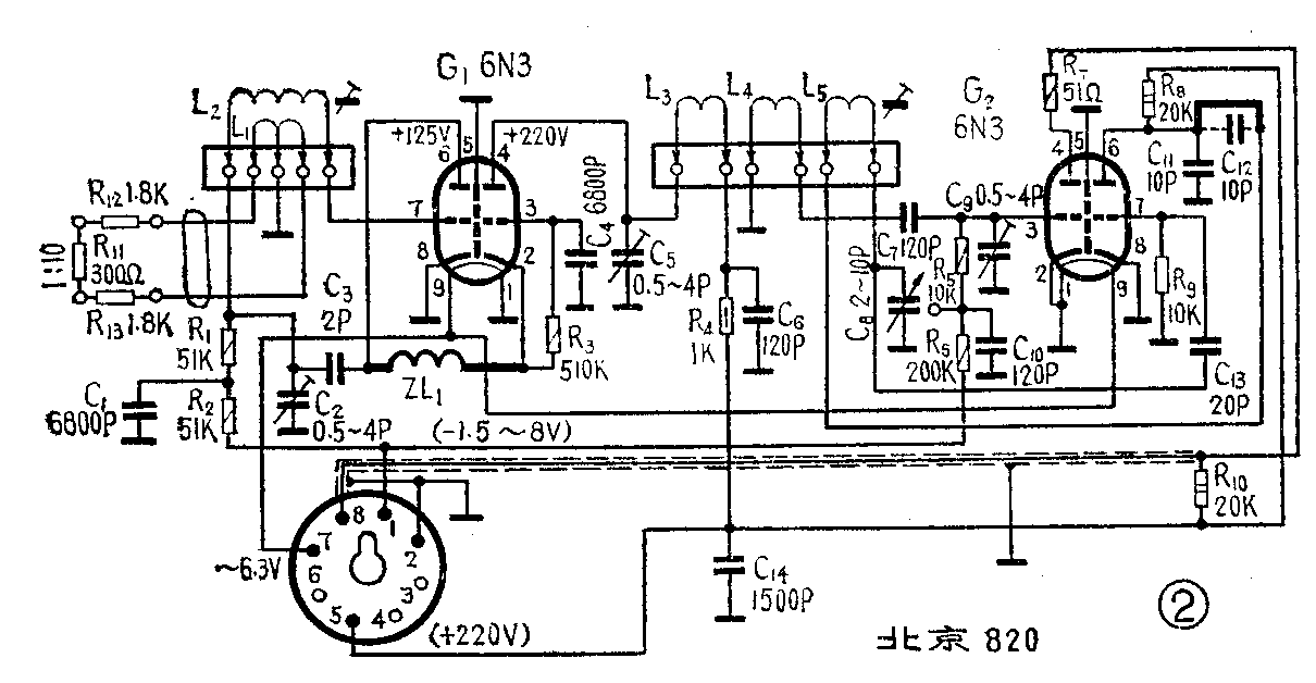
上述改装方法只适合离电视发射台比较近或出厂年限不长的电视机。因在这种情况下,原高频头1~5频道的增益可达30~40分贝,改装后在6~12频道的增益能达到15~20分贝。想再提高增益,就需改高放部分的阻流圈ZL\(_{1}\),因为原ZL1与电子管极间电容形成的谐振回路的谐振频率约100兆赫,要使6~12频道的增益提高到20~30分贝,需使谐振频率移到150~170兆赫。因而ZL\(_{1}\)的圈数需减少到5~6圈。对于上海104、111型,北京823型电视机,除了改ZL1外,还需改本振线路。因要使本振工作在200~258兆赫,若不改动,其分布电容太大,屏、栅极间反馈耦合系数太低,就不会振荡。这几种高频头需改的部分见图3,粗实线表示改的部位,虚线表示拆除的部分。改装方法如下:

1.由(G\(_{1}\))板极(4脚)用导线直接接到开关接触点处(不要拆原来线路),其作用是减少电容C5和到开关接点的分布电感。
2.将本振管(G\(_{2}\))板极(6脚)上接的C12短路,C\(_{11}\)改为5p或再串联一只10p电容(C11),C\(_{8}\)到开关之间串一只15~20p电容C8'。
改装后,一般来说对原有的5个频道特性不会有影响,若有影响,只要微调线圈内铜心即可。
圆盘式开关高频头的改装
北京牌825-1型机高频头开关,是采用圆盘式波段开关。各频道线圈相互串联。在第1频道,使各频道线圈全部串联。转向高频道,开关将各线圈段逐次短路,以转换频道。改装方法如下:
把高频头的各调谐回路线圈L\(_{2}\)~L5在第5频道使用的部分(L\(_{2}\)-5~L5-5)拆出,分别与各自在第4频道使用的线圈串联以后再焊接到原来第4频道线圈占用的接点上(见图4)。这样就给要增加的频道线圈(如第8频道)腾出位置。将与本振电子管(G\(_{2}\)-1)板极(6)连接的电容C18拆除,再将C\(_{15}\)接开关一端的导线,换成直径为0.9毫米的镀银丝,并绕Ω形一圈作连线,这一圈为第8频道本振线圈。将与C15连接的R\(_{1}\)0(3.3K)换成30K电阻。高放板极与混频栅极之间的双调谐耦合回路线圈L3用直径0.9毫米的漆包线按原绕向绕制一个3.5圈的线圈与原线圈串联后焊到腾空的接点上(原第5频道位置)。L\(_{4}\)用直径0.9毫米线,按原绕向绕3圈,也同样焊到空出的接点上。

在第4频道的L\(_{3}\)、L4之间,加接1p左右电容,它是用直径0.2毫米,长40毫米单股塑料线拧3圈做成。再把ZL\(_{1}\)改为6圈,以提高增益。然后将高放管Gl-2的板极(4)上连接的两只串联的C\(_{6}\)、C21拆除。
在输入调谐回路线圈L\(_{2}\)空出的接点上(原为第5频道占用),焊一个用直径0.8毫米按原绕向绕6圈而成的线圈。然后用一只7p电容一端焊接在G1-2管的栅极(3),另一头焊在C\(_{2}\)和L1的接点上,以加强第8频道的输入耦合。新增加线圈的直径和绕向均同原有线圈一样。
调整方法:在有电视广播时,将第8频道使用的天线接到电视机1∶1的天线插扎上。将高频头插头插入机内,接通电源,对比度开到最大,调整微调钮是否可收到伴音或图象,然后用竹镊拨动L\(_{2}\)、L3、L\(_{4}\)各线圈间距,反复调整使能收到满意的图象和伴音为止。
为使接收高频道的信号效果更好,天线是重要的一环。距电视台近的地区(2公里以内),可用原低频道的天线,收高频道信号。稍远些的地区(8公里以内),就需专用的天线,图5是一简易8频道天线,有效范围可达15公里。制作时,先钉一个十字形木架。然后将按图做好的4块铜箔板,固定在木架上,再把直径0.8~1毫米的3根铜线焊在铜箔板各点上。将75欧(或300欧)馈线焊在木架顶端半月形铜箔板上并沿木架的一侧引下(见图5)即可。(刘瑞堂)
