(2)高频特性要好,功率增益要大。大家知道,共射电路的β是随着频率增大而等比例下降的,即频率f乘β等于一常数,如图4所示。这个常数就是特征频率f\(_{T}\)。由于β=1时,f=fT,所以也可说,f\(_{T}\)是指β减至1时的频率。另外,必须指出,每个晶体管在不同的静态工作条件下,fT值是不同的,如图5所示。

对于高频道的高频放大管的f\(_{T}\)要求在500MHz以上,否则高频道增益会太小。使高低频道增益相差太多。
除了f\(_{T}\)外,还要求管子的集电结电容Cc小。因为在一般共射极放大电路中,此电容是跨接在输出端(集电极)与输入端(基极)之间,成为晶体管高频工作时的一条内反馈途径。它会起到如下的不良影响:首先是带来负反馈。其次,总负载不是纯电阻,则在某些频率上可能转成正反馈,引起电路不稳定,以致产生自激振荡。此外,C\(_{c}\)会使放大器的输入阻抗Zsr受负载阻抗Z\(_{fz}\)的影响,或反过来输出阻抗Zsc受信号源内阻Z\(_{x}\)的影响。于是,调节负载回路(即改变Zfz)时Z\(_{sr}\)也跟着改变,而使放大器的输入回路失谐。在重新调谐输入回路(即改变Zx)时,又会影响Z\(_{sc}\),而使放大器输出端失配,结果是调整起来十分麻烦。
(3)高放管通常应具有正向AGC特性,也即当AGC电压使集电极工作电流增大时,β应减小。β随着I\(_{c}\)增大而下降的特性要比普通高频管显著。
2.双调谐回路
双调谐回路有下述特点:当耦合较松,其耦合系数K小于1时,其频率特性是单峰的,输出辐度也小。
当初次级耦合加紧,至耦合系数K=1时,输出电压增至最大,但曲线仍为单峰。如果再加紧耦合,频率特性曲线会变成双峰,且两峰之外侧很陡。所以K=1时的耦合叫临界耦合。
如耦合继续加紧,双峰间的凹谷将随之变深。不同耦合系数K时的频率特性如图6所示。

通常高放级输出双调谐回路的频率特性要求如图7那样的形状。在调试时,最好用扫频仪监测(例如BT3),同时改变两线圈的耦合度和线圈的自感量(使线圈伸长或缩短),以达到要求的技术指标。
3.中和电路

为消除高放管内部反馈,一般在高放级中加有中和电路。所谓中和就是给基极人为地加一个反馈电压,使这个电压和内反馈电压相位相反,大小相等。为了便于分析,可将图3的中和电路画成图8那样的等效电路。此电路实为一电桥,故只要电桥平衡,b、e两点(即高放管输入端)和C、N两点(高放管输出端)就互不影响。平衡的条件是C\(_{N}\)·C3=C\(_{c}\)·C4,即C\(_{N}\)=C4C\(_{3}\)·Cc。所以,只要选取适当的C\(_{N}\)值,即可满足平衡条件。CN一般为数微微法,在实践中调试决定,且以高频道为准。这样,在低频道时会稍有过中和。故附带可平均高、低频道的增益。
近年来,由于高频管的C\(_{c}\)可做得很小,所以有些电视机中就不用中和电路。
4.AGC特性
由于晶体管工作动态范围小,如果输入信号电平太高,就易使管子过载而失真。所以高放级和中放级都加有自动增益控制电路(AGC),使在末级中放输入端电平,在天线中信号强弱在一定范围内变化时,都能基本上保持不变。同时,为了充分发挥高放级的作用,使在弱信号时AGC不起作用,即一般常采用延迟式AGC。这样的电路可以不减低信噪比。
一般,整机要求有60~70分贝左右的AGC作用量,分配给中放40分贝左右,高效20多分贝左右。因此,高放管必须有30来分贝的增益变化量。在这个范围内,当I\(_{c}\)变化时,不应显著地引起频率特性的明显变化。
四、本机振荡器
超外差式电路的基本特点是将接收到的高频信号进行变频,都变成一个固定的中频。要进行变频,就必须有一个混知器和本机振荡器。这两种任务可以在一个管子内完成,也可用两个管子分别担任。在电视机中则多由两管分别工作。这样便于使混频管和本机振荡管各自工作于最合适的状态。

图9(a)是一般共基电容三点式振荡器的基本电路。它的交流等效电路如图9(b)。由图可知,反馈量的大小决定于C\(_{F}\)与CE的比值。只要反馈足够强,电路便会产生自激振荡。据分析,这电路的起振条件是β≥\(\frac{C}{_{E}}\)CF。在谐振回路的品质因数Q很大的情况下,振荡频率f\(_{0}\)≈1/2π\(\sqrt{L}\)CEC\(_{F}\);CE+C\(_{F}\)(未考虑管子的结电容及布线电容等因素)。
在一般12频道的电视接收机里,要求本振频率达84~250兆赫左右,故C\(_{E}\)、CF不能用得较大,从而使晶体管的结电容将会影响频率稳定度。这是因为结电容会随电压、温度等改变。

为了克服这一缺点,目前多用改进型的电容三点振荡电路(克拉泼电路),其交流等效电路如图10。此电路的特点是在电感支路中串入一个小电容。显而易见,在这个电路中的频率为f\(_{0}\)≈1/2π\(\sqrt{L}\)(\(\frac{1}{1/C+1/C}\)E+1/C\(_{F}\))。如取C《CE及C\(_{F}\),则可简化成f0≈1/2πLC,就是说振荡频率基本上取决于L及C,而C\(_{F}\)、CE对频率关系不大。因之C\(_{E}\)、CF可选很大些,使晶体管结电容的影响相对减小。另外,C\(_{F}\)、CE可只根据振幅条件来选取,而不考虑频率。这种电路的频率漂移量可做在±200KHz以内,基本可满足本机振荡的要求。

实用改进型电容三点振荡电路如图11所示。振荡管的要求与高放管差不多,但在噪声方面可比高放管降低要求。具体地说,f\(_{T}\)>500MHz,β=20~150。工作状态通常在保证振荡波形好的前提下,Ic小一点,一般取I\(_{c}\)=1.5~4mA。图11中的电感由L及L′并联而成,L是主线圈,L′是用以微调的,其中可调磁心在面板上有调节钮。调节L′磁心在低频道可使本振频率变动±3兆赫;在高频道可改变±1.5兆赫。
图中的CM为输出耦合电容,为了不使振荡器负载过重,采用松耦合,故CM值用得较小,约2PF左右。
本振频率的稳定度是高频头的一项指标,一般规定漂移量Δf应在±200KHz之内。若用相对值\(\frac{Δf}{f}\)\(_{0}\)来衡量的话,在第12频道上为200×10\(^{8}\);250.5×106≈8×10\(^{-}\)4
为了保证获得足够的频率稳定度,除元器件、工艺、电路等附合要求外,还要保证供电电压的稳定。有些电视机中还采用自动频率微调电路(AFT),提高频率稳定度,并可省去手动微调机构。
五、混濒器
混频器的任务,如上所述,是将高频电视信号转变成特定的中频。变频的结果并不应改变信号的包络形状和调制系数,只是频率变了,幅度也有所提高(见图12)。图中U\(_{sr1}\)是接收到的高频信号电压,Usr2是本机振荡电压,U\(_{sc}\)是混频器输出的中频电压。

对混频器的要求,大致有三点:(1)较高的混频效率和中频增益——合起来说就是变频功率增益(即中频信号输出功率和输入高频信号功率之比);(2)要保证所需的通频带;(3)信杂比高。
混频级可以是共基电路,也可用共射电路,高频信号和本振信号可以分别从基极和发射极注入,或同时注入基极。图13是上述几种方式的示意图。

不论哪种形式,中频信号u\(_{i}\)都从集电极输出。这几种电路的优缺点如下:
图13(a)、(c)的电路中,所需本振电压较小,但高放输出和本机振荡会相互影响。例如当调节高放和混频的耦合回路时,会影响本振频率。相反,改变本振回路参量时,也会影响耦合回路的特性。
图(b)、(d)的电路中,高频信号和本振间相互干扰小,但需要较高的本振电压。
实践中常用的是图(a)和图(c)两种。为了减小信号和本振间的相互干扰,本振耦合电容较小(一般约2PF)。图(a)的共射电路由于功率增益高,用得较广泛。
实用的混频器电路如图14。L\(_{3}\)、C3、C\(_{4}\) 组成π形输出回路。混频三极管的作用是利用发射结的非线性进行混频,使产生差频或和频;再利用三极管的放大功能,将差频(或和频)进行放大。为了使混频作用显著,应利用非线性显著之处,故Ic小。但为了使混频管能对中频信号有较大的放大能力,I\(_{c}\)应稍大一些。不过混频管的主要作用是混频,故应以照顾混频为主,适当照顾放大,一般Ic取1—2毫安,U\(_{ce}\)约8~10伏。

混频器的输出电路主要是完成下述两种任务:(1)保证有良好的选择性和带宽;(2)与中放的阻抗相匹配。由于结构上的原因高频头与中放一般都离得较远,故多用75Ω电缆连接。考虑到这两个任务,混频器输出多采用双回路耦合回路。
衡量混频器性能的一个重要指标是变频增益K\(_{p}\),而变频增益的大小是与本振注入电压Uo及管子的I\(_{e}\)(或Ic)有关,它们的大致关系如图15所示。一般的增益可达10dB以上。

另外,混频管的噪声系数也要注意,且它也与I\(_{e}\)、Uo有关,其最佳值大体上与获得最大K\(_{p}\)时相差不多。
六、频道转换机构
由于转换频道时要同时转换好多接点,且要保证接线最短,故其结构要特加考虑,一般常见的有转鼓型和转盘型两种。电子管式的多用转鼓式,晶体管的多用转盘式。图16是这两种结构的示意图。

在转鼓式中,各线圈都放在“鼓”中;在转盘式中各线圈放在各转盘上。第四片上装输入回路;第三片上装高放——混频耦合回路初级线圈,第二片上装次级线圈;第一片上装本振线圈。由于各段线圈都或多或少地为若干个频道所公用,且各线圈相互都很靠近,相互都有牵连。所以在调试时总是从高频道调起,然后由高到低顺序调整。若先调低频道,在调高频道时会破坏低频道的调谐。
为了防止干扰和本振源外泄,高频头往往作成一个单独单元且加以屏蔽。
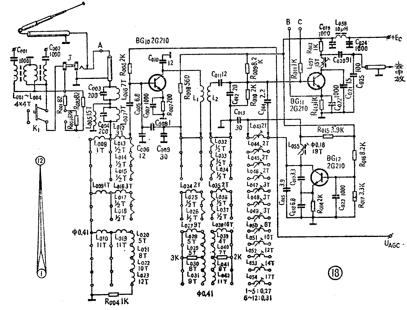
七、高频头实例
图18是一个高频头实例,它的原理前面都已介绍了,这里仅补充两点。

1.宽频带阻抗变换器
为能适应75Ω的和300Ω的天线,一般高频头中多装有300∶75Ω的阻抗变换器。变换器的磁心是用椭圆形双孔磁心,在每个孔中双线并绕两个线圈,共四个线圈,如图18中的L\(_{0}\)01~004,每组线圈4~5匝。
在宽带阻抗变换器之后本机还接有一个π型电阻衰减器(图18中的R\(_{0}\)01~003)用以适应不同场强的信号。在接入时使信号衰减10倍(有的20倍),用K1来控制。
2.中频吸收回路

为了抑制中频干扰,在高频头输入电路中常接入中频吸收回路。常见的中频吸收回路有两种,如图17。图a是串联谐振式,图b是并联谐振式,它们都调谐在欲吸收的中频频率上。在实际电路中为了增加吸收效果,往往采用较复杂的电路,例如本机采用的是T型高通滤波器,它们由L\(_{0}\)06、L007、C\(_{0}\)03、C004及L\(_{0}\)05组成。它只让最低频道信号及其以上的信号通过,而将中频干扰信号、短波广播干扰信号、高频电热等干扰都抑止了,故提高抗干扰能力。(电视接收技术讲座编写组)