无电源变压器的供电电路有好多种,这里介绍的,是一种使电源和行扫描相结合的电路。这种电路简单,对元器件的要求不太高,调试容易。它目前虽尚未被大量采用,但经进一步完善后,在普及型电视机中将有很强的生命力。
电路原理
在常规的行扫描电路(图1a)中,行扫描和显象管高压的功率消耗,是在行扫正程后期,由电源通过行输出管供给电流的。在行扫正程后期行输出管导通,电源电压几乎直接加至行偏转线圈L\(_{y}\)及高压变压器初级(L1)的两端。此两电感中的电流就呈锯齿形增加(即形成行扫正程后期)。增加的电流转换为磁能贮存起来。在行扫结束,行输出管截止时,因储存磁能的惯性,电流突变时必然由自感产生一反向电动势,磁能又转变为电能,使逆程电容(C\(_{r}\))充电,于是与一般的并联L、C回路一样,在Ly、C\(_{r}\)中将产生自由振荡,形成逆程。振荡进行至半周后,由于阻尼二极管导通,自由振荡就继续不下去,而被迫又变成锯齿波,形成行扫正程前段。这种电路早为大家所熟悉。由于这种供电是在行正程进行,故电压较低,适合于低压供电。

如果我们把图1a中的电源E\(_{b}\)去掉,而如图1b那样,由L1两端供给U\(_{B}\),且使开关K只在行逆程时闭合,也就是说,使在逆程期间由UB供给能量,这时,L\(_{1}\)、Ly两端的反压较高,故要求U\(_{B}\)较高,宜于高压供电。
图2是此种电路的原理图,这里以晶体管BG\(_{2}\)来完成图1b中的同步开关K的任务。从图2可看出,其行输出部分完全和一般电路相同。在这电路中,若在电容CL两端另外馈入低压电源,扫描及高压电路完全可以正常工作。故在L\(_{1}\)及L2中都会感应出电压,只要两线圈的极性接得合适,BG\(_{2}\)将与行逆程同步导通,从而由UB周期地获得能量的目的。如果这时再切断C\(_{L}\)两端的低压供电,电路就能正常工作下去,同时还可以在CL两端得到低压电源,以供给整机其它部分。

为了使大部分电路与市电电网隔离,可改为图3那样的电路。在这电路中,只要适当调整L\(_{1}\)和L2的圈数,就可适应不同供电电压的要求。

实际电路
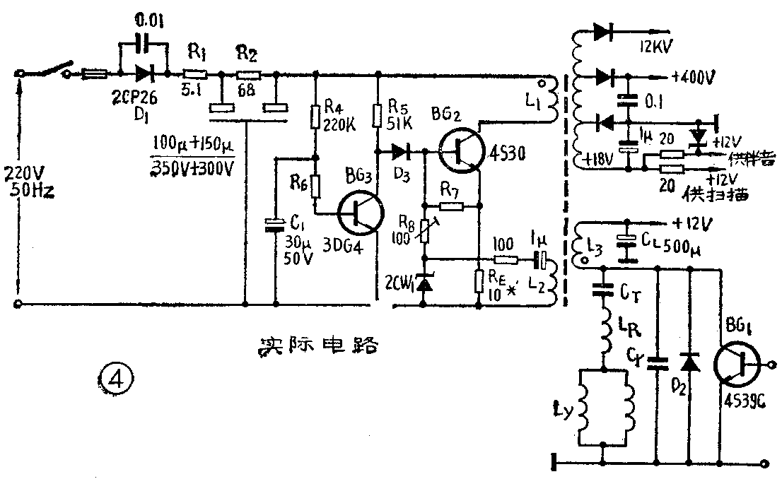
根据上述基本电路,最后可演变成如图4那样的实用电路。在这电路里增加了启动电路。启动的原理是:启动电阻R\(_{5}\)在电源接通瞬间,给BG2一个正向基流I\(_{b}\),BG2导通,同时由于L\(_{1}\)、L2的正反馈作用,使BG\(_{2}\)起振。这时在L3中会感应出电动势,经阻尼管D\(_{2}\)整流,对电容CL充电。此电源即作为整机其它低压电源。当该电压上升至一定值时,行振荡管开始正常工作。这时BG\(_{2}\)将被行振强迫同步,变成只能在逆程时BG2才导通,正程时则截止。这样就完成了由自激状态过渡到与行振同步的启动过程。
为降低BG\(_{2}\)的功耗,提高电源效率,在启动后应该将由R5供给的电流旁路。加BG\(_{3}\)电路的目的就在于此。在BG3导通后这部分电流就被旁路。但是BG\(_{3}\)在启动时不能让它立刻导通,因此在其偏置电路中接有一个容量较大的电容C1。

图4中在BG2的偏置电路里接有稳岸管2CW1的目的,是使BG\(_{2}\)的Ic接近一定值。因此,流过线圈L\(_{1}\)的电流将是恒定的,不受电网电压波动的影响,达到稳压的作用。这种电路,虽具有稳压特性,但其内阻较大,故在负载变化时将引起输出电压起伏。在电视机中负载经常变化的有伴音功放、亮度变化和场扫描的50HZ的周期波动。尤其是乙类放大的功放,影响较大,故应采取简单并联稳压电路加以克服。
如要更进一步降低伴音对图象的影响,也可以采用图5的方式对伴音供电。

通过实验,这种电路的可靠性还是较好的。它能经得起各种高压打火,负载短路等冲击。由于行输出管和开关供电管BG\(_{2}\)交替地工作,当输出短路时就不会出现逆程反峰电压,使逆程供电的开关管处于截止状态。这时低压电源得不到补充,其电压将随短路时间加长而下降,当降至一定程度后行振即停振,故逆程供电的开关管将保持截止状态,直至切断电源再进行启动。
开关管BG\(_{2}\)的功耗主要发生于导通期间,这时它的压降UCE取决于电网经整流后的直流高压U\(_{B}\)和L1上的反峰电压U\(_{LR}\)加BG2恒流电阻R\(_{E}\)上压降URE之差,即U\(_{CE通}\)=UB-(U\(_{LR}\)+URE)。
如要适应电压波动较大的电网,就必须减少L\(_{1}\)的圈数,以降低ULR值。这样,在正常电压使用时,开关管上的功耗就要加大。这点和一般晶体管串联式稳压电源中稳压范围和调整管功耗间的矛盾是一样的。在31厘米电视机中,当UB值选取为250V时,电网220V交流电压的变化对12伏直流电压及高压的影响如表一所示。

行输出(高压)变压器的参数
在一般低压供电电路中,如设计不当,高压就不容易上去,它与三次调谐性能等有关。换成逆程供电局调谐问题虽也还得考虑,但由于在逆程中增加了BG\(_{2}\)在这期间的能量注入,使高压的调整率和更高电压获得较为有利。
31厘米电视机改成逆程供电后,整机电源都通过行输出变压器供给,虽然行输出变压器的负载功率有所增加,但在用90°偏转角显象管的机子中采用U-12磁心还是可以的。变压器的初、次级圈数考虑到三次调谐性能,首先应确定L\(_{3}\)的电感量和圈数。L3的圈数可参照低压供电时的数据并适当减少些,可取32匝左右(基本上按12V供电时的数据)。如行反峰电压按96伏算,则逆程间每匝电压为96V/32=3V。然后根据设计要求的最低电源电压值,算出L\(_{1}\)圈数。例如最低电压如设计在180V,则整流滤波后的最低直流供电电压UB为U\(_{B}\)=180×1.4=250V。如取BG1发射极电阻上的降压U\(_{RE}\)为10V,则L1的圈数=(U\(^{B}\)-U\(_{RE}\))/3=(250-10)/3=80匝。
反馈线圈L\(_{2}\)的圈数直接影响启动时的自激振荡和稳压特性。这是因为L2输出的电压,虽然经2CW1限幅,其顶部高度虽可保持不变,但不同电压脉冲经限幅后,其前后沿的斜率是不同的,如图6a及b所示。图a表示电压较高时的情况,这时电压变化对限幅后的波形基本不变。图b表示电压较低时的情况,可看出,电压的变化将显著地影响限幅后波形,从而影响输出的平均电压。这将使开关管BG\(_{2}\)的偏压也随电源波动而变化,因而降低了稳压特性。L2的电压一般选取55伏左右,故其圈数应为55/3≈18匝。

高压线圈的圈数,由于有三次调谐等因数,并不完全决定于匝数比。根据实验,在31厘米机中可选Ф0.07高强度漆包线平绕,每层30匝,共绕2400匝,就可获得在最大束电流时(亮度最大时)有11KV;在最小束电流时有12KV的高压。如圈数增加,高压能升至15KV。
其它各部分的电压可以按匝数比来计算,绕适当圈数来获得。但为了减小直流磁化,所以在极性上应考虑正、负两方面都有负载。在负极性方向取电压时,应为正极性时的1/8左右。
对开关管的技术要求
1.耐压 电网电压如按220V±10%考虑,整流后的最高直流电压为300~335V左右。因此要求开关管BG\(_{2}\)能承受此电压,并要求留有一定余量。但晶体管的耐压极限参数有不同的表示方式,如BVCBO、BV\(_{CEO}\)、BVCER等,其中BV\(_{REO}\)与BVCBO相差很大,BV\(_{CBO}\)有的管子可比BVCEO大一倍以上。如要按BV\(_{CEO}\)选管,会使整机成本提高。在实际电路中管子的B、E极间都并有一定电阻REB(例如图4中的R\(_{7}\),一般选为200~100Ω左右),故选管条件可取BVCER。大家知道,随着R\(_{EB}\)值的减小,BVCER将向BV\(_{CBO}\)靠近。表二所列是4S30和3DD50随REB值变化的BV\(_{CER}\)值。接上REB不但能提高管子的耐压能力,且能降低管子的关断时间,这对利用频率特性较差的管子有利。

2.最大电流 由于电路处于恒流状态,流过BG\(_{2}\)的电流由稳压管的电压UDR和发射极电阻R\(_{E}\)决定,所以ICm=β(U\(_{DR}\)-UBE)/R\(_{E}\)=1~1.3A。
3.饱和降压 由于导通时最大I\(_{c}\)不大,因此对饱和降压要求不严。
4.最大功耗 在电网电压正常时BG\(_{2}\)平均功耗仅十余瓦,但为了可靠,建议用PCm=50W的,并要求二次击穿性能达到V\(_{ce}\)=100V,Ic≥1A,t=5ms。(北京电子管厂技术应用组)