电视机的扫描电路主要是供给显象管的偏转线圈一个与发送端同步的锯齿波形电流,在偏转线圈中产生偏转磁场,造成电子射线在显象管屏幕上做均匀地扫描运动,以扫描出光栅来。对扫描电路的要求,一是要提供足够幅度的锯齿形电流,以形成屏幕上足够的光栅尺寸,为此要注意电路的功率和效率。再就是要有良好的锯齿波形,以得到直线性扫描。直线性扫描指的是电子射线在扫描屏幕时,其运动速度是恒定的。这就要求锯齿电流在正程T\(_{1}\)中随时间直线性地增长,见图1丙,至于逆程T2中倒不重要,因为逆程不显示图象。这些是扫描电路的重要指标,必须努力实现。

场偏转线圈上的电流与电压
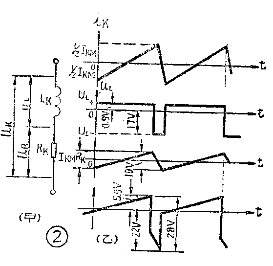
为了在偏转线圈中形成锯齿形电流,必须把偏转线圈做为一个电路元件,研究它的特点,从而对其供给电路提出要求来。偏转线圈是用高强度漆包铜线绕的(图1甲),必然有电感和电阻,同时匝间存在着分布电容,因此它可以由图1乙的等效电路代表。由于偏转线圈一般只有几百圈,所以分布电容比较小,一般只有几十Pf,又因场扫描的频率很低(只有50赫),分布电容的作用可以忽略,于是偏转线圈可用图2甲的等效电路来表示。

对于这样一个由电感L\(_{k}\)和电阻Rk串联的电路,应该加上什么样的电压,才能在其中形成锯齿形电流呢?首先,要在电阻R\(_{k}\)中形成锯齿形电流,只要在其两端加锯齿形电压就行了,因为电阻不能改变电压与电流变化的形状。但对于电感Lk就不同了。如果从某一瞬间在电感两端加上一个恒定的电压,由于电感中会产生感应反电势抵抗电流的增加,电感中的电流只能随时间逐渐均匀增长,也就是直线性增长,这正符合形成锯齿形电流的要求。因此在场扫描正程必须在L\(_{k}\)两端加一个恒定电压Ul+使偏转线圈中的电流直线性增长。同理,在场扫描逆程要加一个恒定电压U\(_{l}\)-,使电流逐渐下降到零。这样一来,每一扫描周期就要求在Lk两端加一脉冲形电压了,见图2乙。结果,在L\(_{k}\)与Rk上的合成电压就是一个锯齿脉冲波。也可以反过来理解,即如果在偏转线圈中流过一个锯齿形电流,它两端产生的电压是锯齿脉冲波。由于晶体管是电流放大器件,这样理解有现实意义。
我们来计算一下它们的数值,例如一个典型的场偏转线圈,其电感L\(_{k}\)=41mb,电阻Rk=25Ω,要求锯齿电流幅度I\(_{km}\)为0.4A,场扫描周期T为20ms(毫秒),正程T1 为19ms,逆程T\(_{2}\)为1ms,这时电阻Rk上锯齿电压的最大幅度为
U\(_{R}\)=IkmR\(_{k}\)=0.4A×25Ω=10V
正程期间L\(_{k}\)上的正电压为
U\(_{l+}\)=Lk\(\frac{I}{_{km}}\)T1=41×10\(^{-3}\)h×0.4A;19×10-3s≈0.9V
逆程期间 L\(_{k}\)上的负电压为
U\(_{1}\)-=-Lk\(\frac{I}{_{km}}\)T2=-41×10\(^{-3}\)h×0.4A;10-3s≈-17V
这样它们的总和就如图2上所注的数值,是场扫描电路所必需供给的。
场扫描电路的特点与组成
场偏转线圈要求供给的既有电流也有电压,其本身具有电阻成份,因此场扫描电路必需能供给一定的功率。一个比较典型的场扫描电路如囹3,图中BG\(_{24}\)(3DA1A)是工作在甲类的小功率放大器,叫做场扫描输出级。它放大输入的锯齿形电流,输出足够幅度的锯齿形电流和锯齿脉冲形电压,通过隔直流电容C315(1000μf)耦合给场偏转线圈。BG\(_{24}\)的集电极供电则是经过把流圈L301,这种电路安排叫扼流圈耦合式输出电路。
为什么不把偏转线圈直接串接在功率放大管的集电极呢?这样做有两个缺点;一是集电极电路的直流成分会流过编转线圈,造成一个恒定的偏转磁场;引起扫描光栅大大偏离屏幕中心,这就还需要另用一个反方向的磁场将光栅调回来;另外偏转线圈的电阻分量R\(_{k}\)比较大,如果直接串接在功率放大管的集电极电路中,其上的直流电压降较大,势必要求采用较高的电源电压才能给出所需的电流,所以效率比较低。基于这两个原因,在中、小型屏幕的晶体管电视机中多采用扼流圈耦合式输出电路。此时功率放大管集电极输出的锯齿形电流通过隔直流电容耦合给偏转线圈,就取悄了直流分量,偏转线圈中的锯齿形电流是正负对称的,象图1中所要求的那样,造成电子射线的扫描也是以屏幕中心为中点,上下对称的。并且扼流圈是密绕在闭合磁路的铁心上,可以做得电感较大而电阻较小,从而可能采取较低的电源电压来供出所需的电流,提高了效率。例如所举的典型电路中,扼流圈用中柱宽12mm的硅钢片叠厚18mm,用直径0.29mm的高强度漆包线,密绕1000圈,其电阻Rc约21Ω,而电感L\(_{c}\)约450mh。而偏转线圈电阻Rk为25Ω,电感L\(_{k}\)为41mh,Ic比L\(_{k}\)大10倍,电阻却小了,从而提高了效率。例如采用优质硅钢片或坡莫合金片,以及较粗的漆包线绕制等,Rc可能做得小到R\(_{k}\)的几分之一。
但由于采用了扼流圈,对偏转线圈有一定的分流作用。会影响输出锯齿形电流的直线性,所以这里采用了反馈电路来改善输出锯齿形电流的直线性。
由于晶体管基本上是一个电流放大器件,末级功率放大器的基极要求输入一个一定幅度的锯齿形电流,而为了形成这个电流又需要一定幅度的锯齿形电压,所以说末级功率放大器需要一定的输入功率。例如末级功率管的电流放大系数β为50,则要求输入的锯齿形电流幅度为
I\(_{bm}\)=Ikmβ=0.4A;50=8mA
这样大的电流如果由BG\(_{22}\)(3BX31C)组成的锯齿波发生器直接供给是比较勉强的,会影响所生锯齿波的直线性。所以介于末级功率放大器与前级锯齿波发生器之间加一级由BG23组成的推动级,便可保证末级有比较充足的输入功率,并能隔离输出级对前级直线性及工作稳定性的影响。
BG\(_{22}\)和它的电路组成间歇振荡器,能自激振荡也能受外来信号同步,利用它的开关作用给集电极的RC电路充放电,就能形成锯齿形电压。这样由锯齿波发生器、推动放大器和末级功率放大器就组成了场扫描电路,电路中主要点的波形已注在图上,下面对这些电路分别说明。
场扫描输出级的工作状态
场扫描输出级的任务是在一定的输入下,供给偏转线圈以足够幅度的、线性良好的锯齿形电流,其幅度为I\(_{km}\),根据前面的数字Ikm为0.4A。由于是工作在甲类放大状态,集电极电流i\(_{c}\)必然是在一个最小值(I0)的基础上逐渐增长的锯齿形,如图4。晶体管起始i\(_{c}\)有一段非线性厉害,为了保证输出电流的直线性应该避开这一段,使ic在一定的基础上增长,所以在选管时应选其集电极峰值电流I\(_{cm}\)超过Ikm一些。例如在I\(_{km}\)为0.4A时应选Icm为0.5A的低频功率晶体管,这里选3DA1A其I\(_{cm}\)为0.5A。锯齿形电流的平均值为幅度的一半,对于甲类放大,大致上就是工作点电流。这里考虑到起始的集电极电流应选比Ikm/2大些的数值,例如0.22A。这些只是估算的方法和数字,在实际电路中靠调整偏流电阻W\(_{3}\)05来得到足够的锯齿形电流幅度和满意的锯齿波直线性。

集电极电压应该是锯齿脉冲波,也必需在一定电压值的基础上变化。当i\(_{c}\)达最大值时,晶体管管压降最小,达到饱和点,即uc接近于零,如图4所示,此时的管压降为饱和压降U\(_{ces}\)。在逆程中uc为一个大的正脉冲(对PNP型管为负脉冲),选管时必须注意,根据上面的计算,整个锯齿脉冲坡的幅度为28V,U\(_{ces}\)约1V。但要考虑实际中,特别是在调整时,逆程时间T2可能较小或I\(_{km}\)较大,使脉冲电压增加较多,应选晶体管的集电极耐压BVceo尽量大些,这里选3DA1A的BV\(_{ceo}\)为50V是适宜的。
晶体管的集电极耐压是个薄弱环节,即使做了上述的考虑,还应在输出管的集电极加接保护电路,见图3中的D\(_{12}\)和R327、C\(_{314}\)。在电路正常工作情况下,集电极的正脉冲到来时,通过二极管D12给电容C\(_{314}\)充电,脉冲过后C314通过电阻R\(_{327}\)缓慢放电,使C314上的电压基本上保持正脉冲的峰值。若有突然情况发生,例如开关电源的瞬间或遇到干扰脉冲使输出管突然截止时,集电极可能产生异常高的峰值电压,这个电压会通过D\(_{12}\)给C314再充电,从而大大降低其幅度,避免超过正常值的集电极峰压,保护了输出管。但是必需指出,这种保护电路只对偶然出现的过高峰压起作用,如果过高峰压连续出现,则电容C\(_{314}\)上的电压也充得较高了,还会使输出管击穿。

我们再来考虑供电电源电压的选择。由图3可知,电源E\(_{c}\)分别降于扼流圈、输出管及发射极串接电阻R3(R\(_{325}\))上。象偏转线圈一样,扼流圈也可以等效于一个电感Lc和电阻R\(_{c}\)的串联。直流电流仅在其电阻Rc上产生电压降。电源电压E\(_{c}\)的任务,首先是保证偏转线圈中有足够的锯齿电流幅度,为此在扫描正程中Lk两端的电压U\(_{L}\)+必须保证,它是由耦合电容C耦合过去的。在扫描正程中它是个常数,相当于一个直流电压降。其次在电阻Rc及R\(_{e}\)上必有直流电压降Ic(R\(_{c}\)+Re),I\(_{c}\)是ic的平均值,约为I\(_{km}\)的一半。最后再考虑输出管的管压降平均值,由图4上uc的波形可知约为1/2I\(_{km}\)Rk+U\(_{ces}\),所以
E\(_{c}\)=Lk\(\frac{I}{_{km}}\)T1+1;2(R\(_{c}\)+Re)I\(_{km}\)+\(\frac{1}{2}\)IkmR\(_{k}\)+Uces
式中 U\(_{ces}\)一般小于1V,Re取为3Ω,将前述实际数据代入上式得:
E\(_{c}\)= 0.9V+\(\frac{1}{2}\)(21Ω+3Ω)×0.4A+1;2×0.4A×25Ω+1V=11.7V
考虑一定的裕量,将电源电压E\(_{c}\)取为标准值12V。
电源消耗的功率:
P\(_{0}\)=EcI\(_{c}\)=Ec×\(\frac{I}{_{km}}\)2=12V×0.2A=2.4瓦
实际的数值要稍大些,因i\(_{c}\)的平均值比Ikm2大些。
还可以大致估计一下输出管集电极最大损耗,这是在输出级无信号输入时,即完全没有功率输出时所发生的。实际工作中,若锯齿波发生器停止工作就会有这种情况。这时的输出管集电极损耗即输出管的直流压降与直流工作点的集电极电流(即近似集电极电流平均值)的乘积。
P\(_{c}\)=[Ec-\(\frac{I}{_{km}}\)2(Rc+R\(_{e}\))]Ikm;2
=[12V-0.2A(21Ω+3Ω)]×0.2A=1.44瓦
这也是选择输出管的一个指标。3DA1A加散热片后集电极允许最大耗散功率P\(_{cm}\)可达7.5瓦。
输出锯齿形电流幅度I\(_{km}\)的调整可以改变Re,它能影响本级电流负反馈的深度,改变输出级的增益来改变I\(_{km}\);也可以改变激励锯齿波的幅度,象图3那样。
扼流圈对场扫描输出级的影响
上面谈到,采用扼流圈耦合式输出电路能避免在偏转线圈中流过直流电流,并且效率较高,这是有利的一面。但“事物都是一分为二的”。它不利的一面是扼流圈对偏转线圈有分流作用,从图3可看出,输出管的交流负载是由扼流圈与偏转线圈并联构成的,即输出管输出的电流有一部分被扼流圈分流掉了。当然扼流圈的阻抗愈大,即绕的留数愈多,分流作用愈小.但实际上做得太大不经济,并且圈数太多了R\(_{c}\)就大了反而失去了效率较高的优点。所以它的分流作用不能忽略。我们来研究它的影响。
既然要求在偏转线圈中通过直线性的锯齿电流,那末加在偏转线圈两端的电压就必然是锯齿脉冲形的。这个锯齿脉冲电压同时也加到了扼流圈两端,它在扼流圈中会造成什么样的电流呢?我们着重看看扫描正程的情况:在正程中扼流圈两端的电压是随时间直线往增长的。我们已经知道,在电感中由于感应反电势的作用,当两端加上固定电压时,其中的电流只能是随时间直线性增长的。那么现在在电感两端加上了随时间直线性增长的电压,其中的电流自然就会增长得愈来愈快了。这一扼流圈中随时间变化愈来愈快的电流与偏转线圈中随时间直线性增长的电流之和,就形成了如图4虚线所示的集电极电流波形,它随时间增长得较快,叫做抛物线形电流。至于逆程情况也相同,不过逆程的彼形并不重要,这里不多说了。
从上面的分析可以得出一个明确的结论:当存在着扼流圈的分流作用时,如果要保证偏转线圈中流过锯齿形电流,则要求输出管给出的集电极电流却是抛物线形的。反过来说,如果不能保证输出管集电极电流为抛物线形的,也就不能保证流过偏转线圈的电流波形是良好的锯齿形。例如当输出管集电极电流波形为良好的锯齿时,为了供给扼流圈一个上翘的抛物线形电流,偏转线圈中的锯齿形电流就必然有向下翘的趋势(这样两者才能合成良好的锯齿形电流),从而导致场扫描的非线性。一般对放大器的要求,总是希望放大器输出到负载上的波形重复放大器输入的波形。才叫做没有失真。现在输出管的基极若输入一个锯齿形电流,反而不能保证输出到偏转线圈中的电流为锯齿形的,因此输出级有了失真,这个失真是扼流围的分流作用引起的。
这种失真的性质,从放大器频率响应特性的角度来看,一个锯齿波可以看作是由不同频率的分量组成的,它的正程中部是线性增长的部分,由于随时间变化较慢,相当于组成锯齿波的低频分量。而锯齿波的尖角部分由于随时间变化得较快,就相当于组成锯齿波的高频分量。扼流圈对低频分量的阻抗小,对高频分量的阻抗大,因此扼流圈对低频分量的分流作用比对高频分量的分流作用要大,而引起了低频失真,这种低频失真表现在电流波形上就是形成抛物线形电流。所以,我们可以认为由于扼流圈对偏转线圈的并联分流作用,损失了输出到偏转线圈电流中的低频分量,而使锯齿形电流产生了失真。这样凡是在放大器中减小或校正低频失真的方法,原则上在这里都能用来校正场扫描的非线性失真。
显然,扼流圈的电感愈小分流作用愈大,使输出的锯齿形电流非线性愈厉害,也就是低频失真愈大。这种失真太大了难于校正,所以扼流圈的电感不能太小,一般选扼流圈的电感为偏转线圈电感的6到10倍。(待续)(电视接收技术讲座编写组)