编者按:这是一架用两个电子管装成的直流收音机,性能良好,结构小巧精致,在本届全国无线电工程制作评比中曾获得一等奖。
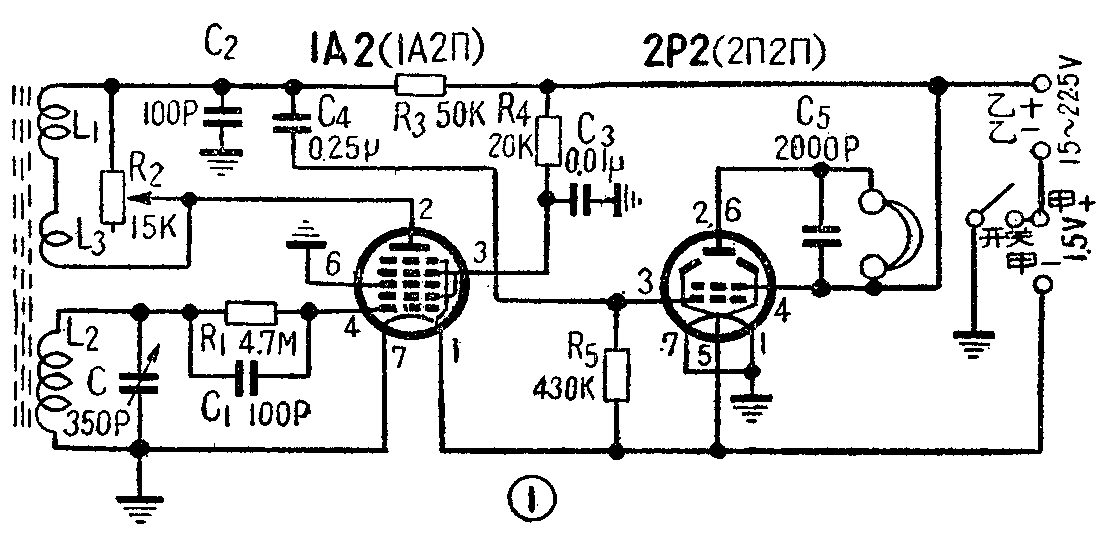
本机线路见图1。用电子管1A2(1A2Π)作检波和放大。放大后的高频信号经过再生线圈送回输入回路。再生大小用电位器R\(_{2}\)控制。本机设计为固定式再生,电位器采用小型的,在装机时将它的旋轴用螺丝起子调到合适的位置,以后使用中不需要再调动。

检波后的低频信号,被1A2管放大后,通过交连电容器C\(_{4}\)送入2P2作末级功率放大,最后由耳机放出声音来。
磁性天线用直径10毫米、长100毫米的磁性瓷棒,上面用七股0.07毫米直径漆包线或丝包线绕25~30圈作L\(_{1}\),用同号线绕50~60圈作L2,再用同号线绕10圈左右作L\(_{3}\);L1、L\(_{3}\)两线圈串联,分绕在磁棒两头,作为再生圈。
全机装在一个小塑料菜盒内。里面用一块夹布胶木板作底板,底板正、反面零件的布置情况见图2。在调谐电容器C的旁边有一个簧片,用作甲电电源的开关。当电容器动片稍稍转出一些,就压住簧片,使甲电池通地成通路;再继续转动动片直到全部转出,总能把簧片压住,因此电源一直接通,保持收音机工作。当不需要收听时,只要把动片全部转进去,就和簧片脱开,切断甲电电源。

为了缩小体积和工作可靠,本机电子管没有用管座,直接把零件焊在管脚上,焊接时速度要快,以免电子管受损。
耳机采用直流电阻2000欧的电磁式耳塞机。
本机用15块迭层式干电池,以取得22.5伏电压供作乙电电源。(黄恒生)