几种常用话筒简介
1.动圈式话筒 目前应用比较广泛的是动圈式话筒(图1甲)。它的构造与动圈式扬声器相似(图1乙)。利用一片弹性良好的膜片来接受声波。膜片上连有一个音圈,伸进永久磁铁构成的磁场中。当在话筒前面讲话时,膜片随声波作相应的振动,音圈便在磁场中前后移动,割切磁力线,结果线圈两端就产生了音频电压。音圈的总阻约为10~20欧。话筒壳内都装有一个升压用的变压器,初级配合话筒阻抗,次极总阻设计有两种:一种是200~600欧,称低阻抗式;另一种是10千欧左右,称为高阻抗式。一般直接或用不长的线和放大器连接时,可用高阻抗式的。如用长达20米以上的电缆作话筒线,则必须选用低阻抗式的,并需选用1:1或1:3的匹配变压器(装在前级放大器附近)。话筒电路接法如图1(丙)。

2.炭精式话筒 图2乙表示这种话筒的构造。在绝缘的支架板中放着一个不大的铜质凹盘,盘里装着细小的炭精粒,上面用一块韧性的薄铜片作为膜片,固定在绝缘支架上封住盘口;在膜片和凹盘间接上一个电压,就能使它工作。因为炭精本身是有电阻的,两端接上电压后就有电流通过。所通过的电流的大小,由炭精的电阻来决定。当声波向里压时,炭精粒接触紧密,它的电阻减小,通过的电流就大;向外复原时,炭精粒接触放松,电阻增大,通过的电流便减小。这样,声波就变成了音频电流。炭精式话筒的输出电压较大,约有0.1~0.3伏,但由于机械结构的限制,失真很大,杂音也极大,只在30~3000赫左右频率范围内有较好效果,因此一般可以用于讲话扩音,不适宜用于高质量的录音。常见的炭精话筒都是以一面敞开来接受声波,故称作“单方向性”的。也有的为了减小失真,装有双面膜片,从两面接受声波,被称为“双方向性”的。话筒外形见图2(甲)。图2(丙)(丁)分别为这种话筒用电池和乙电供电时的连接电路。电路中话筒变压器初级总阻约50~100欧;次级约10千欧;最大输出电压能高到5伏左右。工作电压为3~6伏(电池)。

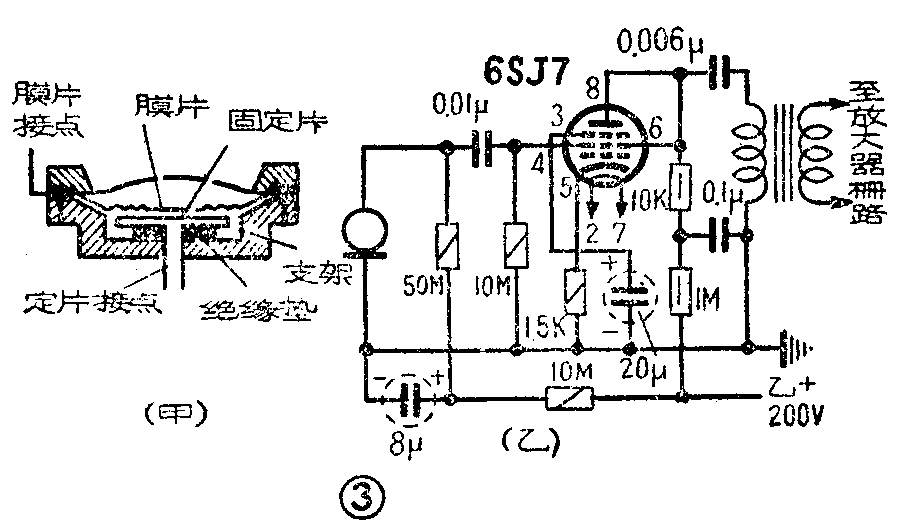
3.电容式话筒 这是以电容器充电、放电作用而工作的。它以一片金属片,固定在支架的底部(图3甲),上面是一片具有弹性的金属片作为膜片,中间以空气为介质。两片之间接有直流电压时,电容器即充电。此时如果膜片受声波推动,电容量就变化,于是充电电流也跟着变化。图3(乙)是这种话筒的连接电路。

电容式话筒因本身电容量很小,约50微微法,所以充电电流的变化也很小,最大输出只有0.001伏。采用这种话筒,要求有较多级数的放大。在使用时为了减小传送电缆对它的电容量的影响,一般都和一级放大器单独装置在一起。电容式话筒虽然输出电压较小,但它具有很平滑的频率响应曲线(30~15000赫);失真也较小;可惜使用不便,维修困难。
4.晶体话筒 晶体话筒有两种构造。直接受声波激励的叫做“声电池”式;用膜片来推动晶体的叫做“膜片”式。所用晶体多数是用类似酒石酸钾钠的罗氏盐,溶解结晶而成。声电池式是将二片结晶体镶装在塑胶框架的两端,形成单层装置(图4乙下图),再将许多单层装置叠成多层结构(图4乙上图),成为话筒心子,然后在心子外面罩上一只长形罩子。罩子四周有敞开的窗孔,声波从各方面来都能进入话筒,所以这种话筒是没有方向性的。“膜片”式是将一块晶体,固定在支架上(图4丙),晶体的一端连有一个传声触针。触针的另一端装有一片薄金属的膜片。当声波推动膜片时,使触针产生机械振动,传到晶体上,声波强时,晶体上压力增加,输出电压也增大,反之则小。晶体话筒是属于高阻抗式,因而可以直接接入电子管栅路(图4丁)。一般使用晶体式话筒的录音机需换用动圈式话筒时,如果都是采取高阻接法,是可以直接换用的。晶体话筒不宜在高热环境使用,一般不谊高于40℃。

5.速率式话筒 速率式话筒也称“铝带”式话筒(图5甲)。它是利用一条有着沟槽的铝带,装置在强大的磁场内,两端固定在支架上(图5乙)。利用声波到达铝带前面和后面的时间不同,造成铝带两面压力不同,这个压力差就形成铝带的摆动,截割了磁力线,而产生出相应的音频电流。压力愈大,则铝带的振动幅度愈大,话筒的输出也大。声波从两侧面来时,输出电压很小,故这种话筒是双方向性的。在性能上比一般的动圈式话筒要好得多,只是由于机械结构上的限制,铝带不能做得很长,因之总阻很低,输出电压因此较小,大约是0.0001伏,故铝带式话筒中也装有一个升压变压器。经升压变压器后的总阻也分高、低两种,高阻式约在10千欧以下;低阻式为50~250欧。电路接法和动圈式相同。

话筒的选用
话筒质量的好坏,主要由它的灵敏度和逼真度来区别,如是一般性的使用,可以从以下几项要求进行选择:
(1)音质要好。要有比较平直的频率响应特性由线。通常扩音用话筒,可选择有50~8000赫频率范围的;用于磁带录音。应选择30~10000赫频率范围的。
(2)灵敏度高。要求在尽可能大的输出电压。一般扩音可以使用动圈话筒,其输出约为—60分贝,相当于0.001伏(开路输出);用作磁带录音,可以选择输出在—50分贝以上,即相当于0.003伏(开路输出)的。
(3)失真小。话筒都有一定程度的失真。选择时要求愈小愈好,一般应不大于3%。
(4)结构牢固耐用。
关于话筒型式的选择,应该根据具体的使用情况来决定。例如一般性大会广播或录音,可以使用动圈式话筒。室内录音,录制乐曲等,最好采用晶体话筒或高质量的动圈式话筒。在戏台等大型场合下,可以使用速率式(铝带)话筒,或者是采用高质量的动圈话筒。如果是在周围环境吵杂,或者回响效应显著的地方,为了减少不必要的杂音,可选择用单方向性话筒,不宜使用速率式话筒。附表列出了各种型式话筒的一些主要特性,供作参考。

话筒的使用
使用话筒应注意以下几项要点:
(1)声源离话筒的距离要适当。距离过远,将增加回响,造成声音发浮、模糊、不真实的感觉。距离太近又会使低音加重,出现隆隆的不悦耳的音调,造成失真。使用动圈或晶体式话筒,可以放在离声源近一些的地方,以减少反射声能,保持声音清晰。一般说话时,最适当的距离是离开话筒1尺左右。使用速率式铝带话筒,最好离开声源1~2尺以外,但最适当的位置,还必须根据声源的强度大小、周围环境、回声等来决定。

(2)使用任何型式的话筒,声源尽可能要正对着话筒中心(图6),不要超出话筒的有效角度,因为方向愈偏,高音下降就愈严重,特别是压力式话筒更为显著。
(3)使用高总阻式话筒,输出线不能太长,一般都采用5米左右的单心电缆。使用过长的输送线,因导线中存在静态分布电容,会使高频特性降低。尤其是晶体话筒,本身具有类似电容性的内部阻抗,如果输送线过长,会使导线的电阻和静电容增加,造成输出电压的降低,一般不应超过7米左右。
(4)话筒使用中,一般都刁损向话筒吹气或用手指弹击话筒来试音,这些都是有损话筒的动作。尤其是晶体话筒最怕振动,铝带式话筒最怕风吹。动圈话筒结构上虽然比较坚固,但由于动作部分仅有近0.5毫米的磁极空隙,因此也应避免震动或跌落地上。

为了保证录音或扩音有良好效果,我们必须重视话筒的安放位置。而话筒的位置要根据声源音量和音色的特点,并考虑到话筒的特性,结合具体音响条件和实际经验来安排。下面谈谈几种具体布置的例子作为参考:(1)单人讲话或独唱。可以使用动圈话筒或晶体话筒。话筒的布置高度,应与讲话者的口部等高。距离讲话者口部约1~1.5尺(图7)。如果话音较强,可以适当地远离;反之则适当靠近。一般不宜使扩音器音量过大。演唱声中如果伴有过强的咝音(一般女声较多),可以将话筒偏转一些。偏转角度的大小,以咝音消失为止。如果演唱时还有伴奏,应将伴奏乐器安排在演唱者左边或右边的稍后地位,距离1尺左右;当伴奏是一种声响强大的乐器时,那么它离开话筒应当更远一些;这样才能使伴奏声与演唱声的声响适当均衡。如果是人数较多(十人左右)的一种小型集体节目,例如小合唱,小型音乐演奏等,可以采用晶体话筒,或高品质的动圈话筒。这时布置话筒必须使表演的声音,都位于话筒的有效角度内(图8甲),表演人员排列区域要尽量缩小,弱的在前,强的在后。大型集体节目如大合唱或大、中型音乐演奏和戏剧等,其特点是人数多、音响范围宽广,在这种情况下布置话筒,必须了解节目的性质和要求的音响效果。话筒应选用灵敏度高、输出大,并且具有较大的声波接受角度。如果是大型交响乐演奏,所用话筒还应具有宽而平的音频响应特性。话筒能接受声波的角度愈大,话筒就更可放得接近声源。根据现场的情况,也可以使用吊式话筒。话筒的高度要与声源的平均高度等高(图8乙),让全体表演者的声音都被包括在话筒的有效角度内。如果节目中有领唱或领奏者,那么可以考虑另行安置一个供领唱用的话筒。 (毛瑞年)
