(潘钟)要把低压直流电变成高压直流电可以应用旋转变流机或振动子变流器。在汽车收音机里,振动子变流器把6伏或12伏直流电升压到200伏,供给电子管屏极和帘栅极使用。振动子是机电式断续器,它有不少缺点。近年由于晶体三极管的广泛应用,出现了一种晶体管升压装置(晶体管变流器)。这种升压装置没有机械接触点,效率很高,工作稳定可靠,噪音小。只要用几伏的电池,就能产生几十伏到几千伏的直流高压,可以用在阴极射线示波器以及一些需要高直流电压、小电流的设备中。又由于它体积小巧,在移动式元线电设备中,也很适宜。

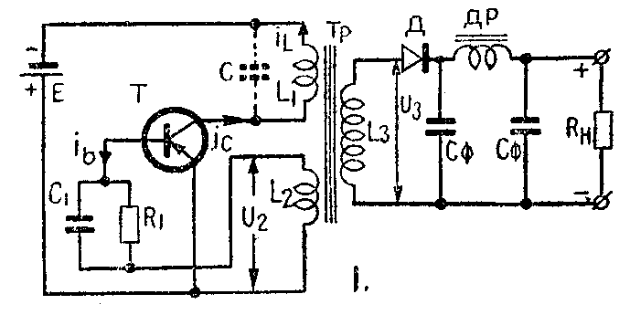
图1所示为晶体管升压装置的原理线路。其中T是晶体三极管,T\(_{p}\)是变压器,L1是集电极绕组,L\(_{2}\)是基极绕组,L3是升压绕组。在这种线路中,由于L\(_{1}\)和L2之间的强正反馈作用,能产生几百赫到几千赫的脉冲振荡(间歇振荡),把脉冲振荡升压、整流、滤波以后,就得到直流高压。

在研究图1的工作原理之前,让我们先看一种有升压作用的简单线路 (图2)。合上K,在电感线圈L中的电流i\(_{L}\)直线性地增加,在线圈附近建立磁场,磁场储藏着能量。打开K,电池、线圈间的电流回路被切断,磁场所储存能量在L-C(这里C包括线圈分布电容、安装电容等)回路中产生振荡,出现交流电压。如果磁场储存能量越大,电流iL的变化越快,也就是说振荡频率越高,则产生的交流电压也越高。振荡电压可以比电池电压E高好多倍。经过整流滤波后,就可以得到直流高压。
在实际应用中,开关K是用晶体三极管的发射极和集电极来代替,也就是图1的电路。我们知道,控制晶体三极管基极电流i\(_{b}\)就能改变集电极电流ic,就象控制电子管栅极电压e\(_{g}\)就能改变屏极电流ia一样。当基极电流足够时,晶体三极管发射极和集电极之间直流电阻就很小,很似图2的K接通。所以图1中的晶体三极管在一定程度上可以看作是一个理想开关。现假设开始加入集电极电压时,晶体三极管集电极和发射极间接通,电流i\(_{L}\),直线性地增加。集电极与发射极间直流压降很小,,电源电压E差不多全部加在绕组L1之上。变压器T\(_{p}\)中的磁通随着电流iL而增加,在绕组L\(_{2}\)和L3中产生感应电压U\(_{2}\)和U3,感应电压与绕组圈数成正比,设绕组L\(_{1}\)、L2和L\(_{3}\)分别有n1、n\(_{2}\)和n3圈,则它们的关系是:
U\(_{2}\)=En2n\(_{1}\),
U\(_{3}\)=En3n\(_{1}\)。
变压器绕组的极性是这样连接的,即当电流i\(_{L}\)线性增加时,感应电压U3的方向,使晶体二极管Д不通,而U\(_{2}\)的方向却使晶体三极管基极和发射极间打通,使基极有足够的电流,以保证发射极和集电极间电流畅通。基极一发射极回路中接有限流电阻R1。因为基极和发射极间直流电阻很小,基极电流可以认为是:
i\(_{b}\)=U2R\(_{1}\)=En2;n\(_{1}\)R1
在如图1所示的共发射极连接中,集电极电流i\(_{c}\)与基极电流ib之间存在着关系:
i\(_{C}\)=βib
其中β是共发射极的电流放大系数。在线路中,随着i\(_{c}\)的增加,所需要的ib也增加。但i\(_{b}\)到达上面公式所表示的数值后,即不再增加了,因此iL的增加在到达一定程度后即趋于缓慢,i\(_{L}\)的变化减慢,感应电压U2就变小,供给基极的电流就变小,i\(_{c}\)也就变小。这样相互影响的结果,就导致集电极电流迅速截止,晶体三极管突然断开。这时,L1磁场所储存能量产生振荡,这个振荡电压的幅度要比E大若干倍。但只是它的第一个振荡脉冲电压(它的方向和晶体三极管通流时的电压方向相反),通过变压器升压后由整流器输出,而当振荡电压改变到另一个方向的时候,感应电压U\(_{2}\)的极性又使得基极电流重新产生,因而又产生了集电极电流,使晶体三极管再度打开,这样就完成了一个振荡周期。由于上述作用的结果,在绕组中就出现周期性的脉冲振荡。L3把脉冲振荡升压,再经整流滤波以后,得到直流电,供负载R\(_{H}\)使用。
晶体管升压器的效率,可用供给负载电阻R\(_{H}\)的功率与电池E所消耗功率的比值来表示。如果在图1线路中,除了RH之外,都不消耗功率,那么效率就是100%。但是,晶体三极管、变压器等都是要消耗功率的。首先,在晶体三极管接通时,集电极和发射极间电压降有0.4~0.8伏,电压降与通过电流的乘积就是消耗在集电极和发射极间的功率。为了减少功率损耗,宜选用压降很小的晶体三极管(如П\(_{3}\)型、П4型晶体三极管)。其次,基极回路绕组和电阻R\(_{1}\)也要消耗5~6%的总功率。在开关通断转换时,也消耗部分功率,转换时间越长,消耗功率也越大。为了加速转换,在限流电阻R1上经常并上0.05~1.0微法的电容C\(_{1}\)。如果不计整流二极管及滤波扼流圈的损失,升压器效率可达70%到90%。

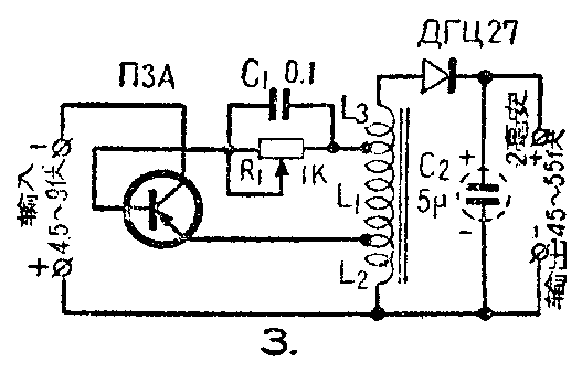
图3是一个小型的晶体管升压器线路,输入电压为4.5~9伏,输出直流电压为45到55伏。线路中采用一个自耦变压器,其中L\(_{1}\)(30圈)是基极回路绕组,L2(100图)是发射极回路绕组,而L\(_{3}\)(180圈)与L1及L\(_{2}\)串联组成升压绕组,均用0.25毫米漆包线绕制。变压器的铁心是直径30毫米的环形铁氧体(μ=1000)。

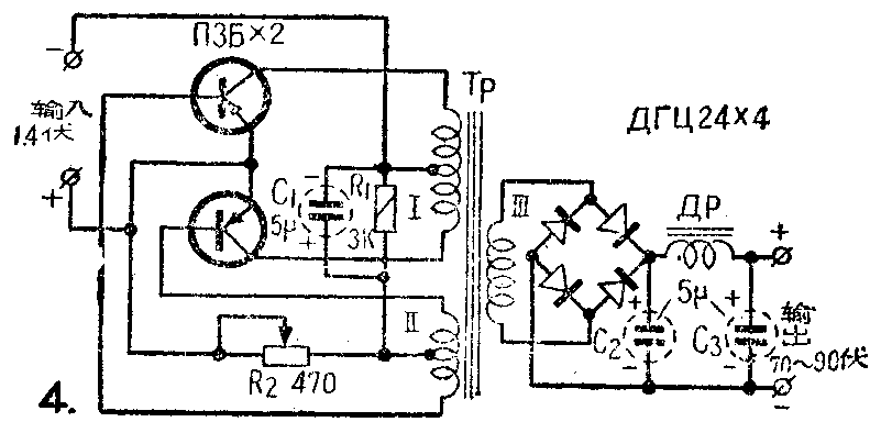
图4是一个推挽式的晶体管升压装置,可以在负载电流10到20毫安情况下供给70到90伏直流电压,可以供给直流超外差式收音机使用。为了使工作稳定可靠,由R\(_{1}\)和R2分压取得直流负偏压供给晶体三极管基极。当输入电压为1.4伏时,变压器绕组Ⅰ用0.35毫米线绕2×33圈,绕组Ⅱ用0.15毫米线绕2×15圈,绕组Ⅲ用0.12毫米线绕2600圈;输入电压为6伏时,绕组Ⅰ不变,绕组Ⅱ用同号线绕2×10圈,绕组Ⅲ用同号线绕540圈。扼流圈Д\(_{p}\)用Ш-16型铁心,用0.2毫米线绕300圈。