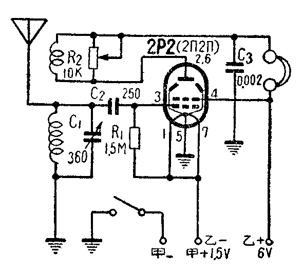
做一架旅行式收音机首先要求体积小、不要装长的天、地线,因此就要设法减小乙电池的体积,也就是要降低乙电电压,同时还必须采用专门的电路,使得电子管屏压降低后仍能保证正常的工作效果。这里介绍的一种低乙电单管机电路就可以达到上述目的。它是用2P2(2П2П)管作再生检波,2P2的灯丝中心抽头接地,灯丝一端和栅漏电阻接在甲\(_{+}\)上,使控制栅极对地来说略带正性,能帮助屏极吸收电子,使屏极电流增大,从而提高灵敏度,以致把屏压降低到6伏仍可工作。调谐电容器C1用固体介质的小单连可变电容器。R\(_{2}\)是一个10千欧电位器,用来控制再生。C3是高频旁路电容器,可以在0.01微法到0.005微法之间任意选择。这个电容器的电容量大一些,高频被旁路得多一些,低音听起来比较丰富;电容量小一些则声音尖一些。
线圈用市售336型迭绕式再生线圈。天线线圈不用,只要调谐线圈和再生圈。将调谐线圈的一头接天线,另一头接地,这样省去了天线线圈,体积可小一些,同时,信号直接加在谐振回路里,减少了天线线圈的损耗,也有助于声音的提高,但选择性将比较差一些。
全机可装在一个肥皂盒大小的盒里。安装焊接时,把零件固定在一小块塑料板或夹布胶木板上,然后装进盒内,体积应尽量小,以便于携带。
电池用五号的小电池(钢笔电池)。甲电1.5伏;乙电6伏,用四节串联组成。(黄懋广)
