用两个晶体三极管和一个晶体二极管装收音机,从线路型式上来说可以有好几种装法。和电子管收音机一样,晶体管两管机有O-V-2和1-V-1两种基本型式。O-V-2式就是一级检波,二级低放。1-V-1就是一级高放,一板检波,一级低放(符号中的V代表检波;V前面的数字表示高频放大级数;V后面的数字表示低频放大级数)。除这两种基本型式以外,还有一些由此衍生出来的其它电路。
1-V-1型两管机由于有一级高放,全机的灵敏度较高,但音量不如O-V-2型两管机,所以适合在离电台远的地区使用。
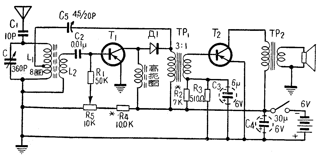
本文介绍一种1-V-1两管机电路,供试制参考(见图1)。它是用二极管检波,前后分别加一级高放和一级低放而成。高频放大管的集电极回路是不调谐的,主要考虑使调谐简单,容易装好。检波后的高频分量通过一个4.5/20微微法的半可变电容器,重新送回输入电路,以产生再生,提高全机灵敏度和选择性。但再生电路调不好会发生啸叫,影响附近的其它收音机收听,如在近大电台地区,可以不装;而在边远地区加上再生,对全机灵敏度大有好处,可以一试。

磁性天线是用直径10厘米的磁棒,从一踹开始,用7股0.07毫米的漆包线绞合成的纱包线绕58圈作为L\(_{1}\),并在近地端第8圈处抽一头;再用同样的线在L1旁边绕5圈作为L\(_{2}\)。L1的始端接C\(_{1}\),末端接地;L2的始端接地,末端接C\(_{2}\)。
音量控制是利用控制T\(_{1}\)的基极偏流来改变。高频扼流圈用2~4.5毫亨的。
变压器的绕制方法如下:输入变压器TP1圈数比为3:1,铁心用华北无线电器材厂出品的小型低频变压器改绕,初级用42号漆包线绕3000圈,次级用40号漆包线绕1000圈。输出变压器用同样的铁心,初级用40号线绕1300圈,次级用30号线绕85圈。扬声器用音圈阻抗为3.5欧的5寸恒磁扬声器。如用别的音圈阻抗的扬声器,圈数比需适当改变。如果没有这种铁心,也可以用普通电子管收音机用的小型输出变压器改绕,圈数同上。也可以用华北无线电器材厂出品E—30铁淦氧磁心绕制,效果也很好。
装的时候,注意两个变压器最好互相垂直,远离磁性天线,以免发生偶合产生啸叫。电容C\(_{4}\)容量要足,漏电要小,不然当电压降低时会发生难听的怪叫,影响收听。
晶体管T\(_{1}\)必须用高频管,可采用П401或ZK306型。П6Г也勉强能用。П6A、П6B不宜作高放。最好不用。
晶体管T\(_{1}\)的集电极电流调到1~2毫安,调时可改变R4(先用一电位器代替)使串于集电极电路中的电流表至所需值为止(R\(_{5}\)放在图上右端)。
高放级的电流不能调得太大,否则晶体管的输入阻抗会大量减小而影响选择性,发生串台现象。
调整低放级时,可改变R\(_{2}\),使该级集电极电路中的毫安表指示到2毫安左右。
本机各项零件的安装和布线请参看本刊以前各期介绍自行设计。
本机天线只需拖一根1~2米长尾线,在北京可以收听各大电台的播音。(镜西)