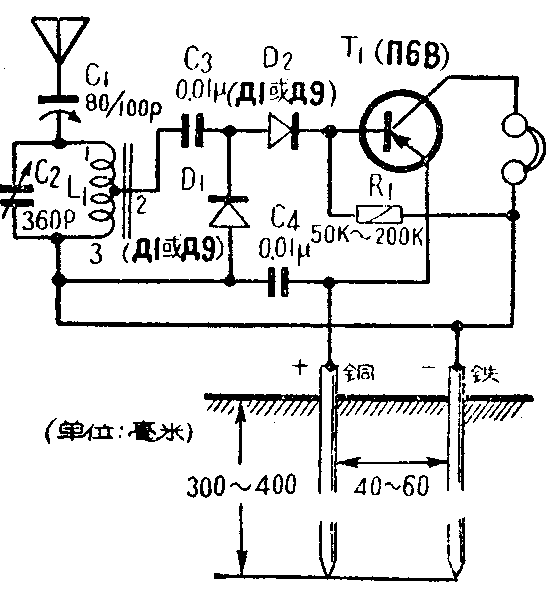
苏联“无线电”月刊今年第7期介绍了一种新颖的利用大地做电池的晶体管单管机。图1就是参考该文并稍加改动的一种线路。由天线接收的信号经过偶合电容器C\(_{1}\)输入到调谐回路L1L\(_{2}\)上选出需要的高频信号;再经过二极管D1D\(_{2}\)作倍压检波。检波后的音频信号送入T1加以放大。调谐线圈L\(_{1}\)是用0.15~0.25毫米直径的纱包线(或漆包线)绕在直径10毫米、长70毫米的M4型磁棒上;1~2,2~3两段各绕25匝。耳机可用1000~4000欧的耳机或耳塞机。晶体管T1的是由铜棒、铁棒和潮湿的土壤形成的一个“地”电池供电。铜棒和铁棒或多股纽绞金属绳的直径约需3~5毫米,也可以用锌、铝等其他两种不同金属棒代替。插入土内部分的长度约一市尺,棒间距离40~60毫米(或1.5~2市寸)。棒上引线应焊牢。最好经常在这个“电池”上浇一点盐水,这样可以获得1伏左右的电压。由于电极材料消耗很慢,故不需加装电源开关。R\(_{1}\)阻值对音量影响很大,必须适当选择。在北京地区利用一根长4~5米的室内天线就可以清楚地收听北京的5个电台。如果改用较长的室外天线,收音机甚至能够带动一只舌簧扬声器。(何理路编译)
