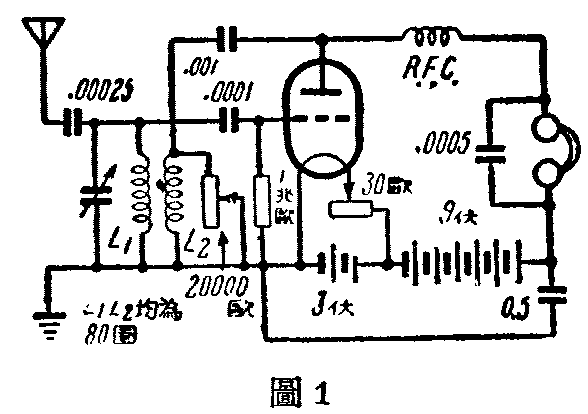
人民邮电出版社出版的小丛书“旅行收音机”介绍了一部收音机的线路图,需用苏联电子管CB-242两只,市上买不着,许多读者来信问有无代用管或改装办法。最近上海电信局收信台季连生同志利用一只30电子管,按照“旅行收音机”一书所登载的线路进行改装,最初用线路如图1。

他试绕了三种线圈。有蛛网板式的、平绕式的和叠绕式的,都不够好。最后改用普通三回路线圈(现成市售的),方获得成功。天地线都很简陋(天线为室内天线)。收音效果在安静的环境,距四十余华里的上海各电台听得很清楚,线路如图2。

由于单管机试装成功,如果使用良好的天地线及加装低放部分的话(如图3),音量—定要响得多。
