根据国务院三月二十九日发布的“关于在农业、畜牧业、渔业生产合作社重点建立收音站的指示”,全国将一次建立一万个收音站。
本刊上一期已经介绍了这一万个收音站中用得比较多的一种541型收音机,现在再介绍另一种355型直流五灯中短波收音机。
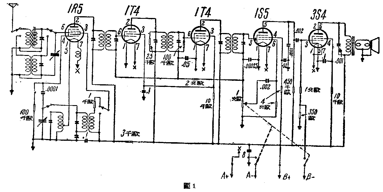
355型收音机是上海人民广播器材厂的出品,和541型机一样,也是专供没有交流电源的地区用的。它的技术规格如下:
1、电源:甲电1.5伏干电池(或用2伏蓄电池串联3.6欧左右的电阻);乙电用90伏干电或蓄电池。
2、消耗电力:甲电0.15安;乙电0.02安。
3、输出电力:最大0.25瓦。
4、收听范围:中波段550-1600千周(545-187公尺);短波段5.5-18.5兆周(54.5-16公尺)。
5、中间频率:465千周。
6、电子管:变频管-1R5T(或1R5、 X17、 DK91)一只;中频放大管-1T4T(或1T4、W17、DF91)两只(两级);第二检波兼自动音量控制和第一低放管——1S5T(或1S5、ZD17、DAF91)一只;强放管3S4T(或3S4、N17、DL92)一只。
外差式收音机的灵敏度,主要决定于中周级,调谐回路的数量和共Q值,355型收音机的中波段调谐线圈是用的铁粉心线圈(图1),Q值较高,所以灵敏度也相当高。此外,它的振荡回路中波段和短波段不同(图中波段开关位于中波段),在中波段,振荡栅G\(_{1}\)(4)经振荡线圈和接振荡屏G2(3)的回授线圈作电感耦合,产生振荡,由于频率低,振荡回路的Q较高,不易受外来信号电压的影响,使振荡不稳定。但是在短波段,为了防止可能的振荡不稳现象,所以改用三点式振荡回路(振荡屏G\(_{2}\)经电容器C1接地),振荡线圈抽头接阴极,两端分别接G\(_{1}\)和G2。(经一0.1电容器),所以振荡屏流的变化会引起振荡栅压的变化,产生振荡。由于G\(_{2}\)接地,有屏蔽作用,因此振荡电流受G1上信号电压的影响小,振荡比较稳定。

信号进入收音机到检波以前,共经过高放和两级中放的七个调谐回路,所以选择性极高,又为了防止振鸣和改善音质起见,在第二中周变压器初级、次级上各并联有25千欧和100千欧电阻一只,使通过的中频频带较宽,高低音的响应较好。经1S5检波后的整流电压,直流成分用作自动音量控制,控制着两级中放管的栅偏压。交流成分在1兆欧电位器(音量控制器)上产生电压降,经0.002微法交连电容器输入G\(_{1}\),从屏极输出完成第一低放,再经电阻交连输入3S4的栅极(3),完成强放,推动扬声器。
1R5灯丝(7)串联一高频扼流圈,是使振荡线圈抽头处的高频电压不是在零电位。G\(_{1}\)和地间的100千欧电阻是栅漏电阻。G1和调谐电容器串联的0.0001微法电容器是振荡栅输入交连电容器。G\(_{2}\)和回授线圈串联的是降压电阻,使回授不致过强。1T4和1S5栅回路的0.05和0.00025微法的电容器是低频傍路电容器,但1S5的0.00025微法傍路电容器对音频的容抗是相当大的。3S4栅回路内的350欧电阻,是供给栅偏压用的,和输出变压器并联的0.001微法电容器,可以使低音发音较好。

图2图3分别为底板上零件的排列图和外形。
使用方法和天地线架设和541型机相同。(本刊编写)