一般收音机的最大输出达3瓦左右,可是有200毫瓦的输出,声音就够宏亮了。所以我们在收听时往往只把音量控制开到三分之一左右。输出达3瓦的电力放大管的屏流很大,消耗电力多,在目前购买还相当困难。实际上可以用输出约300毫瓦的几种电子管来代替(如下表,或其他放大因数不太高的三极管):

例如6J5的电力输出达350毫瓦,比较通常用电池的强力放大管3S4等的输出还要大(3S4输出为270毫瓦)。
用了这些电子管代替后,因屏流小,耗电省,收音机可以较长时间使用,电源变压器也不易发热。
关于输出变压器的问题,例如原来6F6的负荷总阻是7,000欧,上面所介绍的几种电子管的负荷总阻都是10千欧,我们把原来配6F6等电子管的输出变压器的次级拆去些圈数或抽几个头,试接在扬声器的音圈上,就能得到满意的偶配。如果把初级阻抗7,000欧的输出变压器不经改制就用,也勉强可以,不过发音略有失真。
我们可以用的自然还不止这几种电子管,例如双两极三极复合管6V7-G、85、55等的三极管部分,屏压在250伏时,负荷阻抗为20千欧,电力输出也都可达350毫瓦。一般中放大因数三极管的屏阻rp均约为7千欧至10千欧,屏极负荷阻抗约等于rp+\(\frac{rp}{5}\),我们查电子管特性表后,就很容易选用适当的变压器。
6SN7-GT是双三极复合管,若把两组三极部分并联起来使用,电力输出可增一倍,栅极推动电压还是5伏,阴极偏压电阻改为500欧,屏极负荷阻抗减为5,000欧,相当于6V6管的负荷,原来强放管是6V6的,输出变压器不改就合用。
普通电动扬声器的励磁线圈,主要是靠强放级屏流产生励磁作用的,现在屏流小了,我们可以在整流后的高压输出端并联一适当的泄放电阻,增加少量的励磁电流,扬声器就可以满意地工作。不然,用永磁扬声器更方便,目前国产的永磁扬声器售价既廉,品质也好,可以采用。
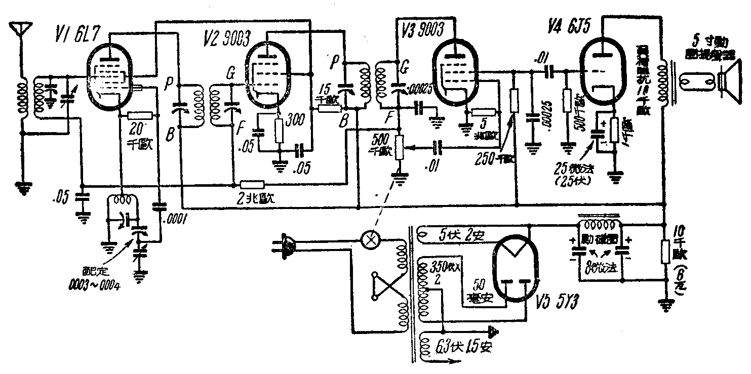
下面介绍作者改装好的一部用6J5做强力放大管的五灯交流超外差式收音机的回路图。(武竞)
