电流与电压的测量
在直流和交流市电(50周)的回路内,测量电流和雷压的指针式电表,通常用安培表、毫安表或微安表测量电流,用电压表测量电压(有时也使用电子管电压表)。
测量电流与电压的技术
测量电流时,应将电表(安培表或毫安表)串联在回路内(图7.a),让被测量的电流完全流过电表。

如果回路内有几个并联分路,希望测量那一公路电流,就把电表串联在那一分路内。
电表的内阻,就是电表两端间的电阻,它和被测量回路内的电阻比较起来,应该很小。否则,测量的结果误差很大。因为电表接入回路后,回路的总电阻就增加,这时测得的电流就比没有接上电表时流过的电流要小。
测量电压时,把电压表并联在回路上,跨接在电压表两端的一段回路间的电压就可断定(图7.б)。其实,电表在有电流通过时,指针才会发生偏转,所以,电压表和电流表一样,也可以测量电流。但由于电流强度和电表两端的电压成正比,所以它的刻度可以直接按照电压分度。只有静电表例外,因为静电表内没有电流通过,它的指针是靠静电荷作用才发生偏转的。
电压表的内阻应当大大超过(在十倍以上)和它并联的回路间的电阻。否则,把它接入测量的回路时,该回路间的总电阻就要显著减低,以致这段回路上的电压降也相应地减低,这样使电压表测得的电压比没有接上电压表时存在的实际电压小,结果误差很大。要避免这种误差,可在测量的回路内另外串联一只阻值较大的电阻。例如,测量无线电机内电子管工作状态时,通常在各极回路内接入高阻值的电阻后进行。
扩大电表的测量范围
同一只电表,可以测量超过电表指针偏转到满度的电流或电压。例如,用1亳安的亳安表可以测量10、100毫安甚至更大的电流;用5伏的电压表也可以测量250伏以上的电压等等。
要扩大测量电流的范围,可和电表并联分流器——电阻(图8.a),此时,流过电表的电流,只是总电流的一部分。

分流器电阻的选择,要看电表的内阻和须要扩大到何种新的测量范围而定。当该分流器装上时,已知流过电表的那一部分电流,就可以用相当倍数乘以电表度数,或采用同一分度,求得被测量电流的数值。
分流器电阻的值量,可按下列公式计算:
R\(_{ш}\)=Rпp\(\frac{I}{_{пp}}\)Iи3M-I\(_{пp}\)。
式中I\(_{и3M}\)是电表加装分流器后,能测得的电流最大值,Iпp是电表未接分流器前指针偏转到满度的电流值(I\(_{и3M}\)和Iпp应当用同一单位:安或毫安)。
举例:R\(_{пp}\)=10欧;Iпp=10毫安;I\(_{и3M}\)=50毫安。
R\(_{ш}\)=10×\(\frac{10}{50-10}\)=2.5欧。
如分流器用几个不同值量的电阻和转换开关组成时,就可以成为好几种刻度的多范围毫安表。例如10、50、100和200毫安范围。那末按照上面的公式,分流器的电阻,应当是2.5、1.1和0.53欧(图8.б)。
这种多范围电流表和被称为万用电表的毫安表的回路,除上面所说的以外,尚可接成其他几种回路(图8、в)。
要扩大测量电压的范围,只要和电表串联一只附加电阻R\(_{д}\)(图9.a),靠这电阻上的电压降,降低了电表本身两端间的电压。附加电阻的数值可根据下式计算。

R\(_{д}\)=Rпp(\(\frac{U}{_{и3и}}\)U0-1)。
式中U\(_{и3и}\)是电表接上附加电阻后,能测量的最大电压伏数,U0是电表未接上附加电阻以前能测量的最大电压伏数。
举例:R\(_{пp}\)=500欧;U0=2伏;U\(_{и3и}\)=100伏。
R\(_{д}\)=500(\(\frac{100}{2}\)-1)=24,500欧。
图9.б和в,为多范围电压表的回路图。
电压表的内阻就是电表本身的电阻(即电表线圈的阻力)和附加电阻的总和。它对测量的准确性影响很大。因此,通常根据刻度一伏占有的内阻R'大小,来评定电压表的好坏。例如:采用50伏和250伏范围刻度的电表,如R'=10O欧/伏,则50伏刻度上,其内阻就是100×50=5,000欧,250伏刻度范围内,内阻为100×250=26,000欧(当然,在刻度内,不论指针指在任何度数上,其内阻始终一样)。
通常所用的电工电压表的内阻约100—200欧,但在无线电电工上应用的电压表,内阻必须更高,一般不能小于1000欧/伏。优等的电压表达5,000、10,000,甚至20,000欧/伏。
电压表的内阻要看所用电表的灵敏度而定,对指针偏转满度来说,灵敏度愈大,则I\(_{пp}\)电流愈小。已知Iпp(单位毫安),就可以根据公式断定刻度1伏电压的内阻大小。
要使电压表能有20,000欧/伏,电表的灵敏度必须达到50微安,即0.05毫安。
测量无线电机内电子管的工作状态
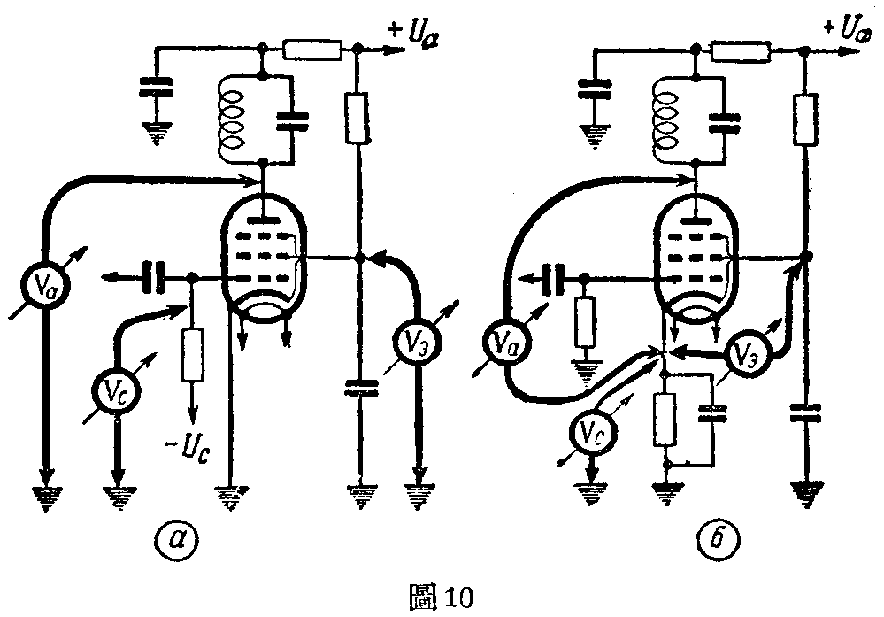
测量电子管电极上的电压,即测定阴极和相当的电极间的电压的时候,如果电子极的阴极接地,电压表应根据图10.a的接法,如果电子管采用自偏压的,则根据偏压的,则根据图10.б的接法。在这种情况下,必须使用内阻高的电压表。

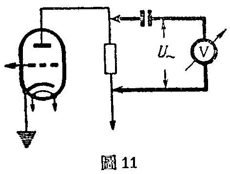
如果测量回路内分段上的交流电压时,而这回路内同时又有直流成分,那末交流电压表要串联一较大的电容器,然后接入(图11)。电容器的容量约从0.1到几个微法,决定于测量电压的频率。频率愈低,容量愈大。

测量电子管各极回路内的电流,有两种方法。(一)把毫安表串联到回路里(图12.a)。如回路内有交流成分,可用电容器使它分流。(二)用雷压表测量回路内串联电阻的电压降(图12.б),再按欧姆定律(I=V;R)算出电流,结果相当正确。如电压用伏表示,电阻用千欧表示,则求得电流的单位,就是毫安。(续完)((苏联)B·烈比庭)(房兆濂译自苏联“无线电”1954年第2期)
