判断障碍原因愈准确,修复也就愈快,对还没有把握的同志们,我在这里介绍一些个人的修理经验。
我想就收音机有了故障后,所表现出来的下列几种现象来谈:
1.完全无声。2.声音微弱。3.杂音人,声音不稳。 4.失真、交流声、啸叫声。
完全无声
原来工作正常的收音机,若完全无声,一定是电子管或有某些零件损坏,一般说,应当先注意那些有高压存在或通过大电流的零件,因为它们最容易损坏。
检查一部完全无声的收音机,在接电源之前,如果有仪器,最好先拔去其他电子管,只留下整流管,并在滤波输出端接一约5—10万欧2—4瓦特的电阻避免滤波电容器,因电压过高而打穿,然后接上电源试验灯丝电压是否正常。要确定是正常后,方插上电子管,取下临时加上的电阻,再进行正式检查,这样可以避免损坏电子管。
加上电源后,首先要确定的是高、低压是否正常,如果有仪器,可以先量一量高压,没有仪器可以采用火花测验法,应用这个方法的时候,要注意动作小心迅速,拿一把有绝缘柄的起子,将它的铁柄同时接触整流管高压输出端2和收音机的底板(图1),应当听见“拍”的迸发火花的声音,如果没有火花,就说明故障可能是高压输出端2到底板间有短路,如滤波电容器C\(_{2}\)可能已经打穿。若是火花不大,“拍”声很轻,就可能是滤波电容器C1被打穿,因高压经过扼流圈L后,才被C\(_{1}\)短路,输出端和底板间还有很小的电压,所以火花不大,碰着上面任何一种现象时,可剪去C1或C\(_{2}\)一端的结线再试,就能决定它们已否损坏。

滤波电容器损坏的另一现象是:整流管玻璃泡极烫,有蓝光闪动,屏极发红,但注意不要看得过久,否则整流管长时间过荷很容易损毁。
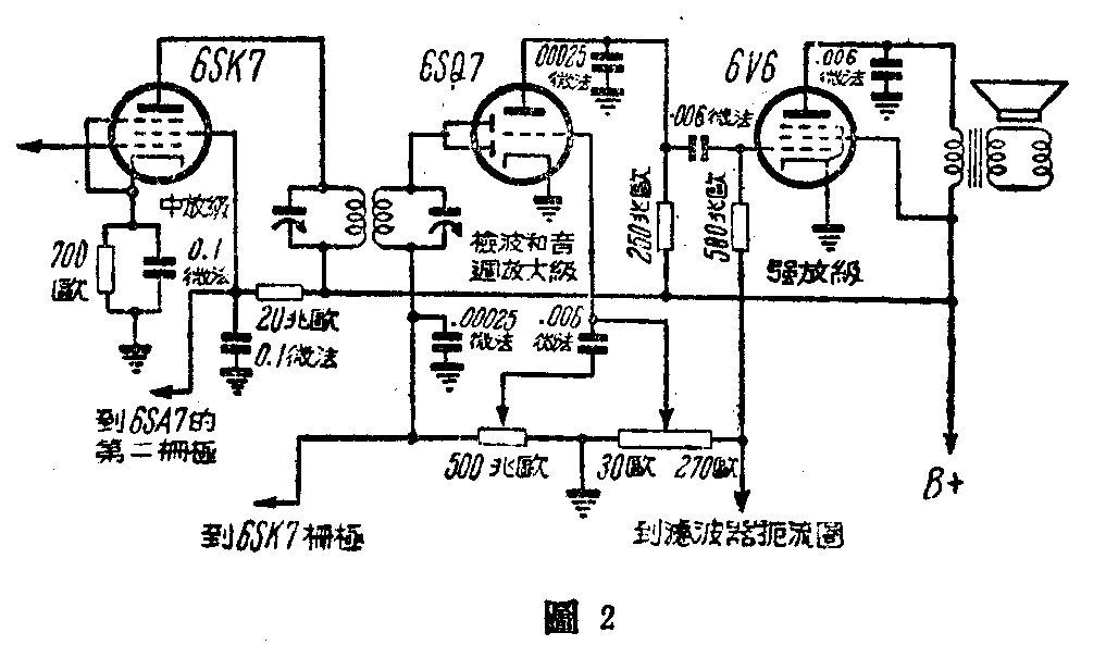
电源部分按上法检查正常后,就可检查低放级,简单办法是用手指敲击法(参看图2),用手指轻按第一低放级电子管(6SQ7)的栅极,喇叭中应有“波波”声发出,若没有就说明故障在低放各级(6SQ7或6V6)这时应先查看强放管(6V6)的帘栅极是否发红,红就表示输出变压器初级线圈断线,因初级断线后6V6没有屏压,电子都跑到帘栅极,所以发红,如果不红,可测量它的屏压,或用火花法,试它的屏极上有没有正电压,如无火花,可能是屏极旁路电容器(0.006微法)短路,这样试验时,喇叭里应当有“各落”声,否则就可能是喇叭的音圈损坏。

检查强放级后,如果正常,可进行检查第一低放(6SQ7)级,将起子的铁柄接触6SQ7的屏极和底板,应有极微的火花(因有降压电阻,屏压不高),如毫无火花,就可能是屏极旁路电容器短路,或是屏极降压电阻断路。
若用起子铁柄轻触6SQ7栅极,喇叭中有“果果”声,就说明障碍在检波以前各级,这时可将手指蘸湿连续接触中放管6SK7的栅极,喇叭中应有轻微的“得得”声,表示中放级无故障,如没有这个声音,可用起子铁柄接触中放管(6SK7)的屏极和底板,看有无火花,如无就可能是中周变压器初级断线,又用起子铁柄接触帘栅极和底板,也应有火花,如无可能帘栅极降压电阻烧断或是旁路电容器打穿。
中放检查良好后,可检查本地振荡部分,用起子拨振荡槽路电容器的定片,如有“喀啦”声,表示有振荡,否则就是停振。停振可能是屏极降压电阻断路,或旁路电容器打穿,有的时候,虽不起振荡,本地的强力电台还可以做到,不过,所占的度数很宽。
高放级的故障是不会造成收音机完全无声的。
用火花测试法要迅速敏捷,不要把高压碰到灯丝电路上,整流管有阴极的,像6X5GT不能用火花法,只好用电压表量。
声音微弱
天线接触不好,高放级不起作用,自动音量控制不正常,中周变压器失调,或各级的屏压和帘栅极电压,因降压电阻变值而减低时,都会使灵敏度减低,收音机的音量微弱,强放管产生栅极负压的电阻,使用日久,也常因过负荷而变值,使强放管栅极负压不正常,造成音弱或失真,电源部分滤波电容器使用日久,容量减小或失效,也会减低高压,造成音小。
地线焊接处,若因生锈而接触不良,也减低收音效率,声音变弱,有时还引起很大的交流声。
此外,电子管老旧,效率不高,自然也造成音弱。
杂音大,声音不稳
杂音大时,首先要决定的是收音机内部的,还是外来的杂音,将天线线圈短路,如杂音并不减低,就证明是收音机内部杂音,输出变压器初级线圈快要断线,或电阻交连级的屏极电阻品质不佳,电流通过就发生火花,都会产生很大杂音。
若杂音是在旋转可变电容器时才产生,就是可变电容器有尘埃,碰片或接线焊接不良的缘故。
此外,电容器漏电,炭质电阻不良,喇叭音圈和铁心相碰等都是杂音的来源。
声音不稳,是收听短波时常有的现象,这是电波传播的问题,和收音机无关,若收听附近广播电台也有这种现象,就是收音机内部有故障,可以分三种情形来谈:
第一种是声音断续,这是因为电子管灯丝损断,断处还保持接触,通过电流后温度增高,线端膨涨脱离,电流就停止,等灯丝渐渐冷却,断处又相接触,收音机又恢复工作,所以声音是断断续续的。
又电子管的灯丝和阴极之间发生漏电,也会发音断续。
第二种是声音逐渐小下去,但如将电源关去再开,或手按栅帽一次,又重新响起来,这是电路中有某电容器有负荷时就漏电的缘故,如滤波电容器、傍路电容器或交连电容器漏电,都会造成这样的故障。
第三种是声音轻下去,立刻再开不行,过相当时间后再开方能复原,这种故障多是由于收音机壳内热度增高,某些接线或电阻因膨胀而断路,或与其他相邻部分接触的缘故。又倘若所用喇叭不好,在夏天常因音圈内套的磁铁品质不好,受热发胀,如音圈挤住,音量就减低并且失真,冷却后又复原。
此外接触或焊接不良也常使发音断续。
失真、交流声、啸叫声
电子管衰老,尤其是强放管最容易使音调失真、音质恶劣,又各级间的交连电容器漏电,致高压加至下级管栅极,也造成失真,还有电子管阴极电路内栅偏压电阻并联的电容器漏电,或强放管栅极电阻变值,收音机调整不当等都会引起失真,此外,因喇叭不良引起失真的也常见,例如音圈歪斜,纸盒松软失去弹性等。
交流声是指喇叭发音时常带有一种“洪洪”的声音,产生交流声的原因,最重要的是滤波电容器损坏。低放管也常是交流声的来源。检查时,可先将输出变压器和级线圈用起子暂行短路,应无任何声音,若仍有交流声,就一定是滤波段不佳,若短路后交流声立刻消灭,显然是由收音机其他回路所引起,这时,可用接线一根,将强放管栅极电阻两端短路,前级信号不再能输入至强放管,若仍有交流声,交流声就出自强放管,这可能是强放管太老旧,或阴极和灯丝间漏电的缘故,若试验后认为这级没有交流声发生,就可能是接至第一低放管栅极的隔离线接地不良,或阴极接地不妥。
啸叫声是当收信时,混有“巨巨”的叫声,大概的缘因是:
(1)整流输出滤波电容器断路或漏电,断路就发生叫声,漏电就发生“朴朴”的汽船声。
(2)阴极电阻的旁路电容器断路。
(3)帘栅极的旁路电容器断路。
(4)中周变压器调整太尖锐。
收音机有各种各样的障碍,要靠自己在实际工作中多积累经验,并联系回路的结构和作用原理,去分析找出故障原因,愈有经验愈能熟中生巧。(张应中)