滤波扼流圈的作用在于对交流具有很大的阻力,不让它通过;对直流仅有很小的阻力。对交流的阻力比对直流的阻力愈大,扼流圈滤波的特性愈好。
五极管可以代替笨重的滤波扼流圈。因为如果应用得当,直流通过五极管的阻力不大,一般不超过一千欧,而同时交流通过五极管的阻力,可能大到几万甚至几十万欧。由于这样适当的选择五极管,使五极管的作用就等于滤波扼流圈的作用。

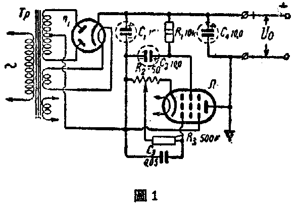
用五种管时的连接法如图1,工作电流在五极管特性的水平部分,约为五极管最大电流。在这样情况下,五极管对它起和滤波扼流圈相同的作用。特性曲线开始的部分0б愈陡(图2),直流通过五极管的阻力愈小;特性曲线部分б2愈接近水平,交流通过五极管的阻力愈大。所以五极管滤波的效力愈好。

图3表示整流器的负荷特性曲线。在滤波器内用五极管和电感量4亨的扼流圈相比较。图内又表示两种情况下整流器输出残余交流电压Uф的曲线。

看图就知道在很小的电流负荷时,五极管的性能不如扼流圈好,很小的荷负电流的变动,产生很大的输出电压变动,同时对交流的电阻也小。到负何电流很大时,用五极管滤波器就比较用扼流圈好得多。(程维仁译自苏联无线电杂志1954年第9期)