太阳能热水器的水箱一般都安装在室外房顶上,水满是通过溢水管有水流进行判断的,不仅多用了一根溢水管,而且造成水的浪费。这里介绍的水满告知器,通过声响告知水箱加水已满,方便实用。
一、工作原理
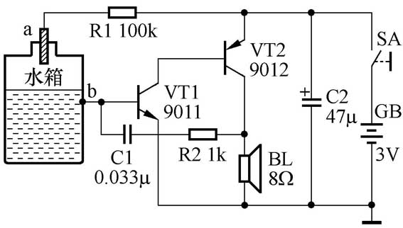
图1是采用分立元器件组成的太阳能热水器水满告知器电路。水位电极a和水箱的金属外壳b构成了水满探测电路;晶体三极管VT1、VT2等构成了互补型音频自激振荡电路,其正反馈网络由电阻器R2和电容器C1构成。

加水时,闭合电源开关SA,由于a、b间呈开路状态,晶体三极管VT1、VT2无偏流而截止,振荡电路不工作,扬声器BL无声。当注入水箱的水达到限定容量时,水面与水位电极a接触,VT1通过R1、水位电极a、水的电阻(约几千欧姆)和水箱金属外壳b,从电池GB正端获得合适偏流,振荡电路立即起振,扬声器BL就会发出响亮的“嘟——”声,告诉主人水满了,快关进水阀!
电路中,振荡频率主要取决于时间常数t=R1·C1,故增减R1阻值或C1容量就可以改变扬声器BL发声的音调。C2为交流旁路电容器,主要用来减小电池GB的交流内电阻,使BL发声更响亮,并相对延长电池使用寿命。
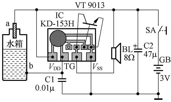
图2是采用模拟声集成电路组成的太阳能热水器水满告知器电路。水位电极a和水箱的金属外壳b构成了水满探测电路;模拟声集成电路IC、晶体三极管VT和扬声器BL等构成了音响发生电路。

加水时,闭合电源开关SA,由于a、b间呈开路状态,模拟声集成电路IC的触发端TG脚无高电平信号输入,所以IC的内部电路不工作,扬声器BL无声。当注入水箱的水达到限定容量时,水面与水位电极a接触,IC的TG脚通过水箱金属外壳b、水的电阻和水位电极a,从电池GB的正端获得高电平触发信号,于是IC内部电路受触发工作,所输出的模拟声电信号经晶体三极管VT进行功率放大后,推动扬声器BL反复发出清脆响亮的“叮—咚—”声,告诉主人水满了,快关进水阀!
电路中,C1为抗干扰电容器,它能够有效消除因水箱金属外壳b的引线太长时从周围感应到的各种干扰电信号,防止模拟声集成电路IC的触发端TG受到误触发而导致水满告知器误发声。C2作用与图1相同。
二、元器件选择
图1电路中,VT1用9011(集电极最大允许电流I\(_{CM}\)=30mA,集电极最大允许功耗P\(_{CM}\)=200mW)或3DG6、3DG201型硅NPN小功率晶体三极管,要求电流放大系数β>100;VT2用9012(I\(_{CM}\)=-0.5A,P\(_{CM}\)=625mW)或3CX200、3CG23型硅PNP中功率晶体三极管,要求电流放大系数β>50。
R1、R2均用RTX-1/8W型碳膜电阻器。C1用CT1型瓷介电容器,C2用CD11-10V型电解电容器。BL用YD58-1型8Ω、0.25W小口径动圈式扬声器。SA可用CKB-1型拨动开关。GB用两节5号干电池串联,电压3V;要求配带合适的塑料电池架,以便于安装。
图2电路中,IC选用KD-153H型“叮咚”门铃专用模拟声集成电路芯片。该集成电路用黑膏封装在一块尺寸约为24mm×12mm的小印制板上,并给有插焊外围元器件的孔眼,安装使用很方便。KD-153H的主要参数:工作电压范围1.3~5V,触发电流≤40μA;当工作电压为1.5V时,实测输出电流≥2mA、静态总电流<0.5μA;工作温度范围-10℃~60℃。如果读者手头没有KD-153H型模拟声集成电路芯片,也可用芯片外观和引脚功能完全相同的KD-9300系列或HFC1500系列音乐集成电路芯片直接代替。
VT用9013(I\(_{CM}\)=-0.5A,P\(_{CM}\)=625mW)或3DX201、3DG12、3DK4型硅NPN中功率晶体三极管,要求电流放大系数β>100。其余元器件选择与图1一致。
三、制作与使用
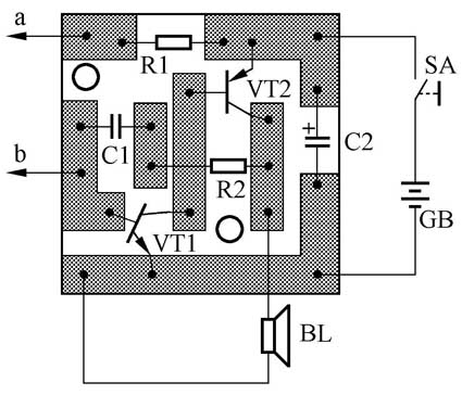
图3所示是采用分立元器件组装水满告知器所用的印制电路板接线图。印制电路板可用刀刻法制成,实际尺寸约为30mm×30mm。

用模拟声集成电路组装水满告知器时,不必另外再加工制作印制电路板,只要按图2所示以模拟声集成电路IC为基板、扬声器BL、电池架等为支架,进行焊接即可。但焊接时电烙铁外壳一定要良好接地,以免交流感应电压击穿IC内部CMOS集成电路。
水满告知器的外壳可选用体积合适的普通塑料香皂盒或电子门铃专用外壳。盒面板开孔固定电源开关SA,并为扬声器BL开出放音孔。水位电极a用一段粗漆包线或塑料外皮硬导线,将它从水箱的溢水管口伸入水箱,注意既要固定牢靠,又要与水箱内壁保持绝缘,要求水满后水面正好与其端头相接触。水位电极a、水箱金属外壳b通过双股软塑料外皮导线,与安放在加水阀附近的告知器小盒相连即成。
装配成的水满告知器,只要元器件质量可靠、焊接无误,不需任何调试就能正常工作。对于图1所示电路,如嫌告知器发声时音调太低沉(或高尖),可通过适当减小(或增大)R1阻值或者C1容量来加以调节。如果觉得音量不够,可以适当增大R2阻值;但R2阻值也不可太大,否则电路告警时的耗电量将会显著增大,并且电路起振困难。
顺便指出:读者只要将告知器的电极a、b改换成自制的相应探测传感器,就可改制成下雨报知器、水缸水满告知器以及婴儿报尿器等。
文/张晓东